Трансформаторлар қызметі, қолдану аймағы


Мазмұны
1. Трансформаторлар 3
1. 2 Трансформаторлардың қызметі 3
1. 3 Қолдану аймағы 5
1. 4 Трансформатордың түрлері 6
2. Тұрақты ток генераторы 9
2. 1 Қолдану аймақтары 11
2. 2 Тұрақты ток генераторының электрлік тепе-теңдігінің теңдеуі 11
2. 3 Тұрақты ток генераторының негізгі сипаттамалары 11
3. Тұрақты ток қозғалтқыштары 12
3. 1 Тұрақты ток қозғалтқыштарының электрлік тепе-теңдігінің теңдеу12
3. 2 Қозғалтқыштарының негізгі сипаттамалары 13
4. Қорытынды 14
5. Қолданылған әдебиеттер 15
1. Трансформаторлар
Трансформаторлардың қызметі
Трансформатор - кернеудің өзгеретін өлшемдер шамаларын өзара электрлік байланыссыз реттеуге арналған электр құрылғы. Трансформаторлар электр техникада, электроникада, автоматтандыруда, байланыс қүрылыстарында, теледидарда, ЭЕМ- ы мен техниканың басқа салаларында кең қолданыс тапты. Олардың бір - бірінен қызметі мен құрылысы жағынан айырмашылықтары болады. Дегенмен, оларға алғашқы бір құрылғының әр түрлері деп қарап, солардың мысалдары арқылы электрэнергиясын тасымалдаудың физикалық процестерін зерттейді. Электр энергетикасында күштік трансформаторлары елеулі орын алады . Олардың көмегінсіз электрэнергиясын тасымалдау, тарату және қолдану мүмкін емес. Электрэнергиясын шығаратын көздердің кернеуі 20-30 мың вольттан артпайды. Мұндай кернеумен электрэнергиясын жүздеген километр қашықтыққа жеткізу мүмкін емес, себебі оның барлығы электр тасымалдау желісінде (ЭТЖ) ток күшінің квадратына тура пропорциялық электр шығыны ретінде жоғалады. ЭТЖ электр энергиясының шығынын айтарлықтай төмендетуді бір мезгілде кернеуді жоғарылата отырып, ток күшін азайту арқылы іске асыруға болады. Осы жағдайда берілетін электр қуаты S = UI күйінде қалады да, оның шығыны P = I'R квадраттық деңгейде төмендейді. Энергетиканың қазіргі өркендеген кезеңін де электр қуаты миллион вольттық кернеулермен мыңдаған километр қашықтықтарға тасымалданады. Мұндай жоғары кернеуді тек трансформаторлардың көмегі арқылы ғана алуға болады . Басқа тұрғыдан алып қарағанда, жүздеген мың вольттық кернеуді тұрғын үйлерге кіргізу техникалық қауіпсіздік тұрғысынан ақылға сыймайды. Күштік және тұрмыстық жабдықтардың жұмысы үшін көп жағдайларда 380 және 220 вольтты кернеу пайдаланады, ондай кернеуді трансформаторлар арқылы алады . Кернеуді жоғарылату және төмендету - трансформатордың тамаша қасиеті . Егер желіге трансформатордың орам саны көп орамасын қосса кернеуді төмендетеді, ал орам саны аз орамасын электрэнергия көзіне қосса кернеуді жоғарылатады . Трансформатор негізгі екі бөлшектен- магнитөткізгіштен және екі орамнан тұрады. Магнитөткізгіштің негізгі қызметі- оған бекітілген орамдар арасында мүмкіндігінше жоғары магниттік байланысты қамтамасыз ету. Магнитөткізгіштің өзегі тұтас болаттан емес, екі жағына электр оқшаулағыш лак жағылған қалыңдығы 0, 35 немесе 0, 5мм қаңылтырлардан құрастырып жасалады. Магнит өткізгіштердің қимасы, жасанды түрде, қимасы кіші көптеген қаңылтырға бөлшектеледі, себебі айнымалы магнит өрісінде орналасқан магнитөткізгіштегі құйынды тоқтың (фуко тоқтары) өтуіне кедергіні арттыру. Ом заңы бойынша құйынды тоқтың күші азаяды, бұл магнитөткізгіштегі электр шығынын азайтады. Трансформатордың өзегі қана ферромагнитті материялдан жасалады, өйткені ферромагнит материял (алюминий, мыс, қола) маггниттенбейді, сондықтан ол магнит өткізгіш бола алмайды.
Қолдану аймағы
Көбінесе трансформаторлар электр желілерінде және әртүрлі құрылғылардың қуат көздерінде қолданылады. Сымның жылу шығыны сым арқылы өтетін токтың квадратына пропорционал болғандықтан, электр энергиясын ұзақ қашықтыққа беру кезінде өте үлкен кернеулер мен кішкентай токтарды қолданған тиімді. Қауіпсіздік мақсатында және күнделікті өмірде оқшаулау массасын азайту үшін онша үлкен емес кернеулерді қолданған жөн. Сондықтан электр желісінде электр энергиясын тиімді тасымалдау үшін қуат трансформаторлары бірнеше рет қолданылады: алдымен электр қуатын тасымалдаудан бұрын электр станцияларындағы генераторлардың кернеуін арттыру, содан кейін электр желісінің кернеуін тұтынушылар үшін қолайлы деңгейге дейін төмендету.
Электр желісінде үш фаза болғандықтан, кернеуді түрлендіру үшін үш фазалы трансформаторлар немесе жұлдыз немесе үшбұрыш тізбегіне қосылған үш бір фазалы трансформаторлар тобы қолданылады. Үш фазалы трансформаторда барлық үш фазаның өзегі ортақ.
Трансформатордың жоғары тиімділігіне қарамастан (жоғары қуатты трансформаторлар үшін - 99% - дан жоғары), электр желілерінің өте қуатты трансформаторларында жылу түрінде үлкен қуат бөлінеді (мысалы, трансформаторда 1 ГВт электр станциясы блогының типтік қуаты үшін бірнеше мегаваттқа дейін қуат бөлінуі мүмкін) . Сондықтан электр желісінің трансформаторлары арнайы салқындату жүйесін пайдаланады: трансформатор трансформатор майымен немесе арнайы жанбайтын сұйықтықпен толтырылған резервуарға орналастырылады. Май конвекция арқылы немесе резервуар мен қуатты радиатор арасында мәжбүрлі түрде айналады. Кейде май сумен салқындатылады. "Құрғақ" трансформаторлар салыстырмалы түрде төмен қуатта қолданылады.
Трансформатордың түрлері
- Электрлі трансформаторы - электр энергиясын электр энергиясын алу және пайдалану үшін арналған электр желілерінде және электр қондырғыларында электр энергиясын айырбастауға арналған трансформатор.
- Автотрансформатор- трансформатордың нұсқасы болып табылады, онда бастапқы және қайталама орамалар тікелей қосылған және осы себепті тек электромагниттік байланыстың ғана емес, сондай-ақ электрлі. Автотрансформатордың орамасы әртүрлі кернеулерді алуға болатын бірнеше байланыстың (кем дегенде 3) бар. Бастапқы және қосалқы тізбектің арасындағы электр оқшаулаудың (гальваникалық оқшаулаудың) болмауы. Автотрансформатордың артықшылығы - жоғары тиімділік, ядро үшін болаттың төмендеуі, орамаға арналған мыс, төменгі салмақ және өлшемдер және ақыр соңында төменірек шығындар.
- Ток трансформатор- трансформатор болып табылады, ток көзімен жұмыс істейді. Әдеттегі қолдану - өлшеу, қорғау, басқару және сигнализация схемаларында пайдаланылатын мәнге бастапқы токты азайту. Қайталама орамасының ток шамасы 1A, 5A. Ток трансформаторының негізгі орамасы өлшенген айнымалы токты бар тізбеге қосылады, ал өлшеу құралдары қосалқы тізбекте қосылады. Ток трансформаторының қайталама арқылы ағып жатқан ағымы түрлендіру коэффициентіне бөлінген бастапқы орамдағы токпен тең болады.
- Кернеу трансформаторы- кернеу көзі арқылы жұмыс істейтін трансформатор болып табылады. Әдеттегі қолдану - жоғары вольтты тізбектерде төменге айналдыру. Кернеу трансформаторын қолдану жоғары кернеу тізбегіндегі логикалық қорғаныс тізбектерін және өлшеу тізбектерін оқшаулауға мүмкіндік береді.
- Импульстік трансформатор - импульстік сигналдарды импульстік ұзақтығын ондаған микросекундқа дейін импульстік пішінді аз бұрмалаумен түрлендіретін трансформатор болып табылады. Негізгі қолдану - тікбұрышты электрлік импульсты беру. Ол қысқа мерзімді бейне кернеу импульстарын түрлендіруге қызмет етеді, олар әдетте жоғары жүктеме циклімен қайталанады. Көптеген жағдайларда АТ үшін негізгі талаптар форманы бұзылмаған күйде трансформатталатын кернеу импульсінің; шығу кезінде АТ кернеуінің бір түрі қолданылған кезде, сол пішіндегі кернеу импульсін алуға болады, бірақ мүмкін, басқа амплитудасы немесе басқа полярлық болады.
- Бөлгіш трансформатор - бұл бастапқы орамасының екінші орамаларға электрлік түрде қосылмаған трансформатор. Электр қуатын оқшаулау трансформаторлары оқшаулау зақымдануы жағдайында қуатқа ұшырауы мүмкін кездейсоқ мезгілде жер бетіне тиетін және тірі бөлшектер немесе өткізбейтін бөліктермен бірге электр желілерінің қауіпсіздігін жақсартуға арналған. Сигналды бөлу трансформаторлары электр тізбектерінің гальваникалық оқшаулауын қамтамасыз етеді.
Тұрақты тоқ генераторы
Тұрақты ток машинасы - айналыс механикалық энергияны тұрақты токтың энергиясына (генератор ретінде) және керісінше тұрақты токтың энергиясын механикалық энергияға (қозғалтқыш ретінде) түрлендіретін электр машинасы.
Өркениеттің қазіргі дамыған кезеңінде электр энер гиясын өндіру үш фазалы синусоидалы ЭҚК - і бар электрмеханикалық генераторлармен өндіріледі . Өндіріс жағдайына байланысты тұрақты тоқ қажеттілігі туындағанда, оны айнымалы токты тұрақты токқа ( түзеткіш ) айналдыру арқылы алады . Тұрақты ток генераторы алғашқы ток көзі ретінде негізінде жеке қонды рғыларда ( электрмен пісіру кезінде синхронды маши налардың қоздырғышы ретінде, т. б. ) қолданылады . Ауыл шаруашылығы өндірісінде ол іс жүзінде қолда нылмайды . Сондықтан мұнда генератордың негізгі қасиеттері ғана қарастырылады . Өздігінен қоздырылатын тұрақты ток генераторының тұрақты ток генераторы арасында ерекше кең тарағандары - параллель және аралас қоздырғыштары бар генера торлар . Олар магнит ағынын туғызу үшін жеке тұрақты Ток көзін талап етпейді . Мұндай генераторлардың қоз дыру орамалары машинаның өздігінен қозуы есебінен қоректенеді, оның алғашқы себепшісі ретінде машина ның полюстері мен жармасындағы магнетизм қалдықтары эсер етеді . Якорь магнетизм қалдықтары өрісінде айналған кезінде, онда магнетизм қалдығынан азырак ЭКК - і индукцияланады . Ол қалыпты мәннің 5-10 % -ын құрайды . Якорь орамасында ЕҚК магнетизм қалдығынан индукцияланған якорь орамасына параллель жалғанған қоздыру орамасында шамалы ток пайда болады, ол қоздыру орамасы мен якорь орамаларының келісімді жалғасуынан полюстердің магнит ағынын көбейтеді . Енді машинаның якорі магнетизм қалдықта рынан пайда болатын магнит өрісі және ток қоздыру ора масы арқылы өткенде пайда болған магнит өрістерінің қорытынды магнит өрісімен айналады . Соған байланысты, якорьдің магнит өрісінің шамасына тәуелді болып ке летін ЭҚК - і артады . Ол қоздыру орамасында үлкенірек ток туғызады, сол ток машинаның магнит өрісін және соған лайықты якорьдің ЭҚК - ін артатырды . Бұл өздігінен қоздырылу процесі машинаның магнитөткізгіші қанық қанша жүреді, қоздыру орамасындағы токтың одан ары артуы магнит өрісін арттырмайды, демек якорьдің ЭҚК - ін молайтпайды . ЭҚК - тің өсуі әуелі баяулай бастайды, одан соң тіпті қоздыру орамасын тұрақты ток көзінен қорек тендірсе де мүлде тоқталады .
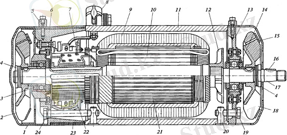
Тұрақты ток генераторының схемасы:
1, 15 - сыртқы желдеткіштердің қаптамалары; 2, 18 - желдеткіштер; 3, 14 - шарикті мойынтіректер; 4 - гайка; 5 - қаптаманың бекіткіштері; 6, 13 - қақпақтар; 7 - коллектор; 8 - шығару қысқышы; 9 - қоздыру орамасы; 10 - желдету арнасы; 11 - корпус; 12 - ішкі желдеткіш; 16 - кілт; 17 - якорь білігі; 19, 24 - болттар; 20 - бонка; 21 - якорь; 22 - траверс; 23 - қорғаныс таспасы
Қолдану аймақтары :
- Автоматты реттегіш жүйелерінің түйіні ретінде ;
- Электрлік сигналдардың күшейткіші;
- Тахогенераторлары ;
- Электролиздік ванналарды қоректендіру үшін;
- Аккумуляторды зарядтау ;
- Жоғары сапалы дәнекерлеу;
- Тік ұшақ және автомобиль электр жабдығының тізіміне кіреді.
Тұрақты ток генераторының электрлік тепе - теңдігінің теңдеуі Генератордың білігіне берілетін механи калық энергияны, электр желісіне берілетін электр энергиясына айналдыру, ЭҚК туғызу үшін энергия жұмсалуымен және машиналардың орамаларындағы, магнит өткізгіштеріндегі және механикалық сипаттағы кедергілерден өтуге кететін электр шығындарымен байланысты . Жалпылама түрде бұл процесті генератор якорі орамасының электрлік тепе - теңдік теңдеуімен көрсетуге болады : U= E-IR тендеуде көрсетілгендей, генератор қысқышта рындағы кернеу генератордың желіге беретін электр энергиясымен мәндес .
Тұрақты ток генераторларының негізгі сипаттамалары
Генераторды электр энергиясының көзі ретінде сипаттайтын маңызды өлшемі кернеу, оның өзгеруін талдауды электртехникалық сипаттамалары арқылы орындауға болады .
Сыртқы сипаттама . Якорьдің айналу жылдамдығы мен қоздыру орамасының тогы тұрақты кезінде жүктеме тогының артуына байланысты генератор қысқышта рындағы кернеудің өзгеру дәрежесінің сипаты сыртқы сипаттама болады, оның тәжірибелік маңызы зор . Жүктеменің артуынан кернеудің төмендеуі якорь реакциясының әсерінен магнит өрісінің ағыны азаюына сәйкес якорьдің электр қозғаушы күші кемуінен, сондай - ақ якорь орамасында кернеудің ішкі түсуі артуынан болады .
Тұрақты ток қозғалтқыштары
Электр қозғалтқыштарының қоздырғыштары, жалпы алғанда, сол генераторлардың қоздырғыш жүйесі сияқты . Қозғалтқыштардың ең көп тарағандары да параллель, тізбектей және аралас қоздырғыштары барлар . Қозғалтқыштардың барлық түрлерінің жұмыс режимін талдағанда, электрлік тепе - теңдік теңдеулеріне, жылдамдық және механикалық сипаттамаларына сүйенеді.
... жалғасы- Іс жүргізу
- Автоматтандыру, Техника
- Алғашқы әскери дайындық
- Астрономия
- Ауыл шаруашылығы
- Банк ісі
- Бизнесті бағалау
- Биология
- Бухгалтерлік іс
- Валеология
- Ветеринария
- География
- Геология, Геофизика, Геодезия
- Дін
- Ет, сүт, шарап өнімдері
- Жалпы тарих
- Жер кадастрі, Жылжымайтын мүлік
- Журналистика
- Информатика
- Кеден ісі
- Маркетинг
- Математика, Геометрия
- Медицина
- Мемлекеттік басқару
- Менеджмент
- Мұнай, Газ
- Мұрағат ісі
- Мәдениеттану
- ОБЖ (Основы безопасности жизнедеятельности)
- Педагогика
- Полиграфия
- Психология
- Салық
- Саясаттану
- Сақтандыру
- Сертификаттау, стандарттау
- Социология, Демография
- Спорт
- Статистика
- Тілтану, Филология
- Тарихи тұлғалар
- Тау-кен ісі
- Транспорт
- Туризм
- Физика
- Философия
- Халықаралық қатынастар
- Химия
- Экология, Қоршаған ортаны қорғау
- Экономика
- Экономикалық география
- Электротехника
- Қазақстан тарихы
- Қаржы
- Құрылыс
- Құқық, Криминалистика
- Әдебиет
- Өнер, музыка
- Өнеркәсіп, Өндіріс
Қазақ тілінде жазылған рефераттар, курстық жұмыстар, дипломдық жұмыстар бойынша біздің қор #1 болып табылады.

Ақпарат
Қосымша
Email: info@stud.kz