Кесу күші


Мазмұны
Мазмұны
Гидравликалық баспақтар өнеркәсіптің әртүрлі салаларында қолданылады: бөлшектерді, соның ішінде алюминий мен оның қорытпаларынан, болаттан жасалған құбырлар мен профильдерді, сондай-ақ пластмасса бұйымдарды қалыптау және баспалау кезінде; электр оқшаулағыш плита материалдарын, кабельдерді, фанера мен ағаш плиталарын, нафталинді өндіру кезінде; резеңке бөлшектер мен резеңкеленген маталарды, металл ұнтақтардан, жасанды гауһартастардан жасалған бөлшектерді, сонымен қатар керамика, металл керамика, отқа төзімді және ұсақтау бұйымдарын және т. б. дайындау кезінде. ; ірі габаритті болат және көмір-графитті электродтар мен электрометаллургияға арналған блоктарды баспалау кезінде. Металл өңдеу өнеркәсібінде гидравликалық баспақтар механикалық баспақтармен қатар келесі жұмыстарды орындау кезінде қолданылады: ыстықтай және суықтай қаңылтырды қалыптау, ыстықтай және суықтай экструзия, бөлшектерді түзету, цилиндрлік дайындамалардағы тесіктерді қобылау, қаңылтыр пен жолақты металды көмкеру және бүгу, қаңылтыр металды кесу, ірі илемделген дайындамаларды өлшеу бөліктеріне сындыру, құрылғылау-баспалау жұмыстары және т. б.
Қолданыстағы гидравликалық баспақтардың күш диапазоны бірнеше тоннадан 7 тоннаға дейінгі мәндерді қамтиды. Жұмыс ұзындығы диапазоны секундына миллиметрдің оннан бір бөлігінен 300 мм/сек дейін. Жұмыс жүрісінің ұзындықтарының диапазоны - бірнеше сантиметрден бірнеше метрге дейін. Жетек қуатының диапазоны - бірнеше киловаттан бірнеше мың киловаттқа дейін. Негізгі параметрлердің кең диапазоны жетектердің екі түрінің болуын анықтады:
- жұмыс жүрісі арасындағы үзілістер кезеңінде энергия жинақталатын жетек - сорапты-аккумуляторлық жетек және сорғы-маховик жетегі;
- энергия жинақталмайтын жетек - сораптық жетек.
Аталған жетектердің әрқайсысы, өз кезегінде, бірнеше түрлеріне ие: мультипликативті жетек, цилиндрлерді іріктеп қосатын көп цилиндрлі жетек, мультипликативті көп цилиндрлі жетек және т. б.
1 Металды кесу үшін арналған қайшылап түрі
1. 1 Пышақтардың кері-ілгермелі қозғалысы бар қайшылар
Пышақтардың кері-ілгермелі қозғалысы бар қайшылар немесе қаңылтырлы қайшылар деп аталатын қаңылтырды жолақтар мен карталарға кесу үшін арналған, сонымен қатар орамдық материалдарын көлденең кесу үшін қолданылады. Гильотинді қайшылар кеңінен қолданылады, онда жылжымалы пышақтың кесу жиегі кесілген парақтың жазықтығына белгілі бір бұрышпен φ қисайған (1-сурет) . Кесілген қаңылтырдың максималды қалыңдығына байланысты жылжымалы пышақтың көлбеу бұрышы 2-ден 6 градусқа дейін құрайды ( φ -дің үлкен мәндері материалдың қалыңдығына жатады) . Жылжымалы пышақтың бұрышын көрсетілген шектерден асып кету қаңылтырды пышақтардан шығаруға әкелуі мүмкін, сонымен қатар жылжымалы пышақтың жұмыс жүрісін арттыруды қажет етеді. Пышақтың көлбеуіне байланысты парақты бөлу оның бүкіл ұзындығы бойынша бір уақытта жүрмейді, тек оның бір бөлігінде болады, нәтижесінде бөлу күші пышақтардың кесу жиектері параллель болатын және материалды бөлу бір уақытта бүкіл ұзындықта жүзеге асырылатын қайшылардағы сегменттің күшінен бірнеше есе аз болады.
1 - жылжымалы пышақ; 2 - тұрақты пышақ; 3 - жүгірткі; 4 - үстел; 5 - қысқыш; 6 - артқы тіреуіш
1-сурет - Көлбеу пышағы бар қайшымен кесу схемасы
Бөлудің қазіргі сәтінде пластикалық деформация ошағы шартты түрде abc үшбұрышы түрінде ұсынылуы мүмкін (1-сурет, б) оның ауданы тең.
a) көлбеу пышағымен; б) параллель пышағымен
2-сурет - Қайшымен кесінді күшінің өзгеру қисықтары
Қор коэффициентін ескере отырып бөлу күші келесі өрнекпен анықталады
P= 1, 25 (1)
Гильотинді қайшылардағы кесу күшінің өзгеру қисығы 2-суретте көрсетілген, а қисығы. Сол суретте салыстыру үшін параллель пышақтары бар қайшымен кесу кезінде күштің өзгеруінің b қисығы көрсетілген.
Пышақтардың жағында параққа әсер ететін P күштерінің жұбы оны құлатуға тырысады. Парақтың құлауын болдырмау үшін қайшылар қысқышпен жабдықталған. Сонымен қатар қайшылар реттелетін алдыңғы және артқы тіреуіштермен жабдықталған.
1-суреттен, егер парақтың қалған бөлігінің ені болса, одан енін кесу мүмкін болмайтыны анық, өйткені қалдықтың соңы қысқыштың астынан шығады. Кесілетін жолақтың жаншуын азайту үшін пышақтардағы алдыңғы бұрышы γ = 3-12°, ал пышақтардың кесілген материалға үйкелуін азайту үшін α = 2-4° артқы бұрышы жасалады. Осынын нәтижесінде кесу бұрышы 75-85° құрайды.
Пышақтар арасындағы саңылау (0, 03-0, 06) шегінде белгіленеді. Көлбеу пышақтары бар қайшымен кесілетін жолақтар енінің дәлдігі жөніндегі деректер 1-кестеде келтірілген. Көлбеу пышақтары бар қайшымен кесудің кемшілігі - кесілген жолақтың бүгілуі, сондықтан тар қалың жолақтарды кесу үшін, сондай-ақ пластикалық емес материалдарды кесу үшін, мысалы парақты пластмассалар үшін параллель пышақтары бар қайшылар қолданылады, оларда жылжымалы пышақта қолбеуі болмайды және парақтың барлық ұзындығы бойынша бір уақытта жүреді.
1-кесте - Көлбеу пышақтары бар қайшымен кесілген жолақтардың дәлдігі
Параллель пышақтары бар қайшыларда кесу күші формула бойынша анықталады. Көлбеу пышақтары бар қайшылардың тағы бір түрі - діріл қайшылары деп аталады. Бұл қайшыларда төменгі пышақ қозғалмайды, ал жоғарғы жағы минутына 1200-2500 кері-ілгермелі қозғалыс жиілігімен өзара қозғалыс жасайды. Пышақтардың ұзындығы 25-40 мм, қақпақтың бұрышы
24-30°, алдыңғы бұрышы 6-7°, жылжымалы пышақтың жүрісінің мөлшері 2-4 мм. Пышақтар арасындағы саңылауы оңтайлыдан үлкен және материалдың қалыңдығының 20-25 % құрайды, пышақтардың қабаттасуы жоқ. Діріл қайшыларының аталған ерекшеліктері парақты пышақтардың жұмыс жиектеріне қатысты бұруға және соның арқасында дайындамаларды қисық сызық бойымен кесуге мүмкіндік береді. Дірілді қайшылар негізінен жеке және шағын өндірісте қолданылады
1. 2 Пышақтардың айналмалы қозғалысы бар қайшылар
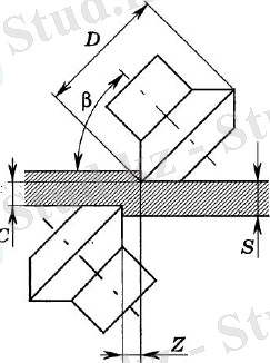
Пышақтардың айналмалы қозғалысы бар қайшылармен (дискілі қайшыны) кесу диаметрлері тең және қарама-қарсы бағытта бірдей айналмалы жылдамдықпен айналатын екі дискілі пышақпен жүзеге асырылады. Дискілі қайшыларының пышақтары белгілі бір қабаттасумен орнатылады (3-сурет), сондықтан белгілі бір диаметрмен пышақтар материалды бөліп қана қоймай, оны ұстап тартады. Кесіндінің бастапқы кезеңінде материалды пышақтармен ұстау үшін пышақтың материалмен жанасу нүктесіндегі көлбеу бұрышының тангенсі үйкеліс коэффициентінен аз болуы керек, яғни , мұндағы μ - үйкеліс коэффициенті. Тәжірибе көрсеткендей, егер пышақтардың диаметрі қалың парақтарды (S > 4, 0 мм) кесу кезінде материалдың қалыңдығынан 35-50-ден аз болса және жұқа парақты илемді кесу кезінде қалыңдығы 25-30-дан кем болмаса, материалды ұстап алу қамтамасыз етіледі, ал ұстап алу бұрышы 14 градустан аспауы керек.
Дискілі қайшыларда кесу кезінде пластикалық деформация ошағы қисық сызықты үшбұрыш болып табылады (3-сурет), алайда парақтың қалыңдығы пышақтың радиусымен салыстырғанда аз болғандықтан, жеткілікті дәлдікпен бұл үшбұрыштың жақтары түзу сызықтар деп санауға болады.
Сонда, кесу бетінің ауданы ал бөлу күші формула бойынша анықталады
P= 1, 25 , (2)
мұндағы φ - кесілген материалдың орташа бұрышы.
3-сурет - Дискілі қайшымен кесу схемасы
Пышақтардың диаметрі мен кесілген материалдың қалыңдығы арасындағы жоғарыда көрсетілген арақатынаста, орташа ұстау бұрышының мәні кесудің басталу бұрышынан аз болады, осылайша, қабылдап ұстау бұрышын пышақтардың диаметрі мен қабаттасу шамасымен келесі арақатынаспен байланыстыра аласыз
φ= (3)
мұндағы - пышақтардың қабаттасу мөлшері.
Кесілген материалдың кедергісін жеңу үшін қажет бұралу момент келесі формула бойынша анықталады
, (4)
мұндағы - пышақ осіне қатысты P күшінің иығы.
Екі пышақтың электр жетегінің қуаты
(5)
мұндағы - пышақтардың бұрыштық айналу жылдамдығы;
- пышақтардың минутына айналу саны;
электржетектің пайдалы әсер коэффициенті.
Дискілі қайшылары бір немесе бірнеше жұп пышақтармен жасалады. Көп дискілі қайшылар (4-сурет) кең орамдарды тар орамаларға кесу үшін қолданылады. Пышақ жұптарының саны кесілген жолақтардың (таспалардың) үлкен санына алынады. Пышақтар арасындағы қашықтық кергіш сақиналардың 1 көмегімен кесілетін жолақтардың өлшемдеріне сәйкес белгіленеді. Кесілетін жолақтардың қисықтығын азайту және дәлдікті арттыру үшін 2 сақиналы серпімді қысқыштар (резеңке немесе полиуретан) аралық сақиналарға орнатылады.
Пышақтардың сипатталған құрылғысы біліктердің сол жағында көрсетілген (4-сурет), қалған біліктер дәл сол сияқты құрастырылған.
4-сурет - Көпдіскілі қайшылардың схемасы
Дискілік қайшылар негізінде отандық өнеркәсіп кең орамдарды бойлық кесуге арналған автоматты желілерді шығарады. Көлбеу орналасқан пышақтары бар дискілі қайшылар (5-сурет) ұсақ сериялы және жеке өндірісте қисық сызықты контуры бар дайындамалардың парақтарынан кесу үшін қолданылады. Мұндай қайшылардағы пышақтардың қабаттасуы жоқ, қайшылар арасындағы алшақтық (0, 2 - 0, 25) S шегінде орнатылады, бұл кесу кезінде парақты оңай бұруға мүмкіндік береді.
5-сурет - Көлбеу орналасқан пышақтары бар дискілі қайшылардағы кесу схемасы
2 Жинау құрылғысы бар қаңылтырлы гильотиналық қайшылар
Қайшылар жолақтың алдыңғы және артқы ұштарын кесуге және оны өлшемді ұзындықтарға кесуге арналған. Бұйымдардың габариттік өлшемдері: ұзындығы - 7400 мм, ені - 4680 мм, биіктігі - 4537 мм. Салмағы - 42450 кг. Қайшылардың техникалық сипаттамасы 2-кестеде келтірілген.
2-кесте - Қайшылардың негізгі техникалық берілгендері мен сипаттамалары
... жалғасы- Іс жүргізу
- Автоматтандыру, Техника
- Алғашқы әскери дайындық
- Астрономия
- Ауыл шаруашылығы
- Банк ісі
- Бизнесті бағалау
- Биология
- Бухгалтерлік іс
- Валеология
- Ветеринария
- География
- Геология, Геофизика, Геодезия
- Дін
- Ет, сүт, шарап өнімдері
- Жалпы тарих
- Жер кадастрі, Жылжымайтын мүлік
- Журналистика
- Информатика
- Кеден ісі
- Маркетинг
- Математика, Геометрия
- Медицина
- Мемлекеттік басқару
- Менеджмент
- Мұнай, Газ
- Мұрағат ісі
- Мәдениеттану
- ОБЖ (Основы безопасности жизнедеятельности)
- Педагогика
- Полиграфия
- Психология
- Салық
- Саясаттану
- Сақтандыру
- Сертификаттау, стандарттау
- Социология, Демография
- Спорт
- Статистика
- Тілтану, Филология
- Тарихи тұлғалар
- Тау-кен ісі
- Транспорт
- Туризм
- Физика
- Философия
- Халықаралық қатынастар
- Химия
- Экология, Қоршаған ортаны қорғау
- Экономика
- Экономикалық география
- Электротехника
- Қазақстан тарихы
- Қаржы
- Құрылыс
- Құқық, Криминалистика
- Әдебиет
- Өнер, музыка
- Өнеркәсіп, Өндіріс
Қазақ тілінде жазылған рефераттар, курстық жұмыстар, дипломдық жұмыстар бойынша біздің қор #1 болып табылады.

Ақпарат
Қосымша
Email: info@stud.kz