Электромашиналы құрылғылар

 
    
Электромашиналы құрылғылар автоматиканың негізгі элементтері болып табылады. Олар электр энергиясының көзі генераторлар немесе әртүрлі жұмыс механизмдерін қозғалысқа келтіретін қозғалтқыштар ретінде қолданылады.
Механикалық энергияны электрлікке түрлендіретін құрылғы генератор деп аталады, ал электрлік энергияны механикалыққа түрлендіргіштер қозғалтқыш болып табылады.
Электр машиналары сондай-ақ ток түрін, жиілігін немесе фазалар санын түрлендіргіш ретінде қолданылуы мүмкін бұл жағдайларда түрлендіргіш электромашиналы деп аталады.
Электрмашиналы түрлендіргіштер қатарына трансформаторларды да жатқызуға болады. Трансформатор дегеніміз айнымалы ток кернеуін жиілігін өзгертпей бір мәннен екінші мәнге өзгертетін статикалық электромагнитті түрлендіргіш. Жалпы алғанда олар машина болып табылмаса да (қозғалатын бөлігі жоқ), олардағы процесстер электрмашиналарындағы секілді болғандықтан оларды электрмашиналары теориясымен бірге қарастыру қалыптасқан.
Өндіретін немесе пйдаланатын ток түріне байланысты электр машиналары екі топқа айнымалы және тұрақты ток машиналары болып бөлінеді.
Өз кезегінде айнымалы ток машиналары жұмыс жасау принципіне байланысты екіге асинхронды және синхронды болып екіге бөлінеді, ал қолданылатын айнымалы ток жүйесіне байланысты бірфазалы және үшфазалы болып бөлінеді.
Тұрақты ток машинасы - айналыс механикалық энергияны тұрақты токтың энергиясына (генератор ретінде) және керісінше тұрақты токтың энергиясын механикалық энергияға (қозғалтқыш ретінде) түрлендіретін электр машинасы.
Тұрақты ток машинасы қайтымды, яғни әрі генератор, әрі қозғалтқыш ретінде жұмыс істей алады. Мысалы, электрлендірілген жылжымалы құраманың (электровоздардың) тартым қозғалтқыштары және қуатты тұрақты ток электр жетектерінің электрлік қозғалтқыштары осы негізде жұмыс істейді.
1. 4 Тұрақты ток машиналарының сипаттамалары
Тұрақты токты генераторлар қоздыру орамасымен қоректендіру әдісі бойынша орама тәуелсіз қоздырғыштармен және сол генератордың зәкір орамасынан қоректенетін өздігінен қозатын генератор болып бөлінеді.
Тәуелсіз қоздырғыштарда қоректену тәуелсіз ток көздері арқылы іске асады. Өздігінен қозатын орамалы генераторларда қоздыру орамасы зәкір орамасы параллель немесе тізбектей, сонымен қатар тізбектей-параллель және аралас үлгіде қосылуы мүмкін. Генератордың бос жүріс сипаттамасы тұрақты сан айналымында алынған зәкірдің ЭҚК-ң ток қоздырғышынан тәуелділігін көрсетеді.
Жиілік айналымы тұрақты кезіңдегі тәуелсіз қоздырғышты генераторлар үшін зәкір орамасының ЭҚКі машинаның магниттік сипаттамасында анықталатын ағынға тура пропопционал. Осы сипаттамаға мысал ретінде 8 сурет көрсетілген.
Бос жүріс кезінде зәкір тогы параллель және аралас қоздырғышты генераторды есепке ала отырғанда, генератордың номиналды тогының бірнеше пайызын құрайды. Іс жүзінде олардың бос жүріс сипаттамалары тәуілсіз қоздырғышты генератордың сипаттамасынан айырмашылығы жоқ.
Тізбектей қоздырғышты генераторлар үшін зәкір тогынан қоздыру тогының айырмашылығы болмайтыны сияқты бос жүрістің де мағынасы жоқ, соңғы теңдігі 0-ге тең.
Сыртқы сипаттама генератор кыспағында қоздыру тогы және зәкірдің айналу жиілігінің мәні өзгермеген жағдайдағы жүктеменің ток өзгерісінен кернеу өзгерісін көрсетеді.
 
9 сурет - Тұрақты ток кезіндегі генератордың сыртқы сипаттамасы: а- тәуелсіз қоздырғышпен; б- параллель қоздырғыш және в- тізбектей қоздырғышпен.
Тәуелсіз қоздырылатын генераторларда жүктеме тогының үлкейіп, қыспақтардағы кернеудің төмендеуі (9 а суретті қара), зәкір реакциясының есебінен ЭҚК төмендеуімен және оның орамында кернеу түсуінің ұлғаюымен түсіндіріледі.
Параллель қоздырғышты генератордың сыртқы сипаттамасы 9 б суретте көрсетілген. Бастапқы бөлігі 9 а суретте келтірілген сипаттамаға жақын еді. Жүктеме тогын ұлғайтып және кернеуді азайтқан сайын қоздыру тогы да төмендей түседі. Қоздыру тогы шамасы аздау аймақта оның өзгерісі шығыс кернеуінің шамасына жеткілікті түрде әсер етеді. Осылай, жүктеме кедергісінің шамасы азая түсуі қоздыру тогы мен генератордың шығыс кернеуінің азаюына әкеліп соғады, нәтижесінде номинальды режімге қарағанда жүктеме тогы төмендейді, генератордың қысқа тұйықталу қыспағында жүктеме тогы жеткілікті түрде аз болады. Тізбектей қоздырғышты генератордың сыртқы сипаттамасы 9 в суретте көрсетілген. Бос жүріс уақытында генератордың ЭҚКі қалған магнит ағындардан құралады. Жүктеме тогы ұлғайған сайын қоздыру тогы және магниттік ағын шамасы да ұлғаяды, генератор қыспағында кернеудің өсуіне келіп соқтырады. Болатты толықтыру кезінде және жүктеме тогын көбейткенде магнит ағыны тұрақты болғандықтан кернеу қыспақта төмендей бастайды, ал зәкірде кернеу төмендей береді.
Аралас қоздырғышты генератордың сыртқы сипаттамасы параллеь және тізбектей қоздыру орамаларының ток шамасына байланысты.
Шығыс кернеудің өзгеруі шаманың шектік мәні 9 б және в суретте көрсетілген графикпен анықталады.
Егер арнайы талаптар болмаса, онда параллель қоздырғышты генераторда шығыс кернеуіне қатысты ауытқу 20%, ал аралас генераторда 5% ауыспайды. Қозғалтқыш қасиеттері негізгі жіберу, жұмыстық, реттеуіш сипаттамалар болып бөлінеді.
Жіберу режімінде қозғалтқыш бағыты, әдетте номиналды мәндерде екі дүркін шамадан аспауы керек, жіберу тогы мен айналу моментімен сипатталады.
Жұмыстық сипаттамалар айналу жиілігін п, айналу моментін М, тораптан тұтынатын ток I және номинальды мәнде торап кернеуі ПӘК h сыртқы кернеуден P2тәуелділігін корсетеді.
Реттеуіш сипаттамалар зәкірдің айналу жиілігінің шектерінің өзгеруін анықтайды.
Соңғысы зәкір шынжырына кедергі, қозғалтқышқа жүргізілген кернеуге тура пропорционал және магнит ағынының басты полюстеріне кері пропорционал. Параллель қоздырғышты қозғалтқыштың жұмыстық сипаттамасы 10 суретте келтірілген. Пайдалы қуат көбейген сайын, айналу моменті де көбейе береді. Айналу моментінің өзгерісі зәкір реакциясының есебінен тура сызықтан қисық жүріске магнит ағынының азаюынан біршама айырмашылығы бар.
Қозғалтқыштың ПӘКі момент жіберуінде нөлге тең. Қозғалтқыштың жүктемесін 0, 3 -ке дейін ұлғайтқанда ПӘК шамамен номиналды өлшемнен өседі, яғни түзу сызықты болады, содан кейін 0, 5-тен аса жүктемеде ПӘК мағынасыз (аз ғана) өзгереді. Үлкен жүктемелерде ПӘК біршама азаяды.
Тұрақты ток машинасының құрылысы мен жұмыс жасау принципі
Тұрақты ток -генераторлары мен қозғалтқыштары - қазіргі кезде де кеңінен қолданылады. Олар негізгі екі бөлік қозғалмайтын полюстер мен айналатын якорьдан құралады 1- суретте төрт полюсті машинаның қимасы және оның негізгі бөліктерінің атаулары келтірілген. Машинаның қозғалмайтын бөлігі индуктор ойықшаларына сәйкесінше қоздырғыш және теңгергіш орамдар орналасатын негізгі және қосымша порлюстерден және олар бекітілген станинадан құралады. Индуктродың негізгі қызметі машинада негізгі магнит ағынын туғызу. Қосымша полюстер негізгі полюстер арасына орналасады және қуаты 1000 Вт жоғары машиналарда қарастырылады, олардың негізгі қызметі коммутацияны жақсарту.
 
1. 1-Сурет- Тұрақты ток машинасының негізгі бөліктері
Машинаның қозғалатын бөлігі якорь мен коллектордан құралады. Якорь қозғалысқа келгенн кезде ол магниттенетін болғандықтан құйынды ток пен гистерезис шығындарын азайту мақсатымен қалыңдығы 0, 35-05 мм электротехникалық болат табақшалардан жиналады (1. 2, б - сурет) . Якорь ойықшаларында коллектор пластиналарына бір ұштары жалғанған орамдар орналасады.
Коллектор цилиндр пішінінде жиналған бір-бірінен оқшауланған мыс пластиналардан құралады (1. 2, а - сурет) .
Коллекторға якорь орамдарын сыртқы тізбекпен байланыстырып тұратын щеткалар жанасып тұрады.
 
1. 2 - Сурет-Тұрақты ток машинасының коллекторы (а) мен якорь табақшасы (б)
 
Тұраты ток машинасының құрылысының кескіні 13-суретте көрсетілген.
Тұрақты ток машинасының негізгі бөліктері (12. 1-сурет) : қозғалмайтын бөлігі - статор, айналатын ротор, якорь және подшипникті екі қалқан.
Статор станинадан, электромагнит полюстерінің жұқа болат қаңылтырлардан жасалған, бір-бірінен жылтырсырлы кілегеймен немесе жұқа қағаз қаңылтырлардан оқшауланған өзекшелерден тұрады. Өзекшелерге машинаның қоздыру орамасы табылатын, мыс сымдарынан жасалған орауыштар кигізілген.
 
12. 1-сурет. Тұрақты ток машинасының құрылысы: 1 - коллектор; 2 - щеткалар;
3 - якорьдің өзекшесі; 4 - бас полюстің өзекшесі; 5 - полюстік орауыш; б - статор;
7- подшипникті қалқан; 8 - желдеткіш; 9 - якорьдің орамасы
Тұрақты ток машиналарында якорь деп аталатын машинаның роторы электромагниттің өзекшелері сияқты жұқа болат қаңылтырлардан құрылған цилиндрлік дене тәріздес. Машинаның якорінде ораманы орналастыру үшін паздар жасалады, ораманың шығыстары бір-бірнен және біліктен ток өткізбейтін материалмен (миканит) оқшауланған коллектордың пластиналарына бекітіледі.
Коллектордың сыртқы бетіне траверса арқылы машинаның қозғалмайтын бөлігіне бекітілген щеткалар орналастырылады. Якорь айналғанда онымен қоса коллектор да айналады, ал щеткалар оның бетімен сырғып, қозғалмайтын күйде қала береді. Якорьдің білігі подшипникті қалқандарда бекітілген подшипниктерде айналады.
Егер бір емес, екі орамнан тұратын орамалы якорьге ораса, және ол орамдарды якорьде бір-біріне перпендикуляр етіп орналастырса, ол кезде якорь айналғанда пайда болатын электр қозғаушы күштерінің бір-бірінен фаза бойынша айырмашылығы болады. Бір орамда ЭҚК-і нөлге тең болған кезде, екінші орамда ЭҚК-і масимал мәніне ие болады.
Заводтардың шығаратын тұрақты ток машиналарының якорінің орамалары орауыштарының және коллектордың пластиналарының саны айтарықтай көп болады. Ораманың орауыштары және коллектордың пластиналары санының сәйкесінше артуымен генератордың щеткаларында (шығысында) шамасы бойынша тербелісі өте аз қосынды кернеуді алады.
Тұрақты ток қозғалтқышының айналатын моментінің (М) шамасы келесі қатынаспен беріледі:
М = k Ф IЯ,
мұндағы k - қозғалтқыштың тұрақтысы, оның құрылысына байланысты; Ф - магниттік ағын, Вб; Iя - якорьдің ток күші, А.
Қозғалтқыштың жылдамдығы келесі теңдеуге бағынады
 
мұндағы Rя - якорь орамасының кедергісі, Ом.
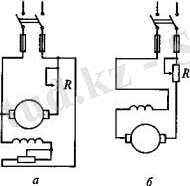
12. 2, а-суретте келтірілген қоздырылуы параллель қозғалтқыш желіге қозу орамасы желінің толық кернеуінің астында болатындай жалғанады. Сондықтан қозғалтқыштың магнитік ағыны жүктемеге тәуелсіз тұрақты болып қалады, ал якорьдің орамасындағы ток күші жүктемеге пропорционалды түрде артады. Айналу жылдамдығы қатты азаймайды.
 
12. 2-сурет. Параллель (а) және тізбектей (б) қоздыру кезіндегі қосылу сызбалары
Айналу жылдамдығын реттеу қозғалтқышқа келетін кернеуді өзгерту арқылы іске асырылады; якорьдің тізбегіне кедергіні енгізу немесе магниттік ағынды өзгерту арқылы іске асырылады. Якорьдің тізбегіне кедергінің енгізілуі қозғалтқыштың жылдамдығының азаюына әкеледі; жылдамдықты реттеу тұрақты момент кезінде болады. Бұл әдіс көтергіштер, жүкшығырлар, поршеньдік компрессорлар, сораптар және т. б. үшін қолданады. Бірақ бұл якорьдің барлық тогы өтетін қосымша кедергінің қызуына байланысты елеулі шығындармен байланысты. Қозғалтқыштың айналу жиілігін реттеудің ең көп тараған түрі магниттік ағынды өзгерту болып табылады. Бұл қоздыру орамасына қосылған реостат арқылы іске асырылады. Қоздырудың ток күші азайғанда магниттік ағын да өзгереді, осыдан келе, қозғалтқыштың айналу жиілігі артады. Бұл кезде реттеу тұрақты қуат кезінде болады. Реостаттың қоздыру орамасының тізбегіне қосылуы қоздырудың ток күшінің үлкен емес шамасына байланысты энергияның үлкен шығынына әкелмейді. Қоздырылуы параллель электрқозғалтқыштарда қоздыру орамасы үлкен кедергіге ие, осыдан келе, осы орамадағы және реостаттағы ток күшінің шамасы үлкен болмайды.
Қоздырылуы параллель электр қозғалтқышын желіге 12. 2, б-суретте көрсетілген сызба бойынша қосады. Қоздырылуы тізбектей қозғалтқыштар өзінің сипаттамаларымен қоздырылуы параллель қозғалтқышынан қатты ерекшеленеді. Якорьдің орамасымен тізбектей жалғанған қозғалтқыштың қоздыру орамасы арқылы оның барлық тогы өтетіндіктен, қозғалтқыштың жүктемесінің артуымен бірмезгілде оның полюстарының магниттік ағынының шамасы да лезде артады. Осыған байланысты мұндай қозғалтқыштар, біріншіден, аз айналымдар кезінде үлкен айналу моментін көбейтеді (іске қосу кезінде) және, екіншіден, асқын жүктемелік қабілеттілікке ие. Сонымен қоса, білігінде жүктеменің азаюымен қозғалтқыштың айналу жиілігі жылдам артады және аз жүктеме кезінде (қалыптының ¼-нен аз) оның тұтастығына қауіпті жылдамдыққа ие болады. Бос жүріс, яғни жүктеме жоқ кезінде сериестік электрқозғалтқыштарды мүлдем қосуға болмайды. Бұл сериестік кемшілік қасиеті болып табылады.
Өзінің сипаттамалары бойынша бұл электрқозғалтқыштар көтергішкөліктік құрылғылардың жетектеріне келеді. Олар электрлік тартқышта (трамвайлар, троллейбустар, электрлік темір жолдары) кеңінен қолданылады.
Құрылыстық практикада қоздырылуы тізбектей қозғалтқыштарын қозғалтқыш-генератордан қоректенетін қуаты үлкен кейбір экскаваторларда және аккумуляторлардан қоректенетін электрлік тиегіштерде қолданылады.
Қоздырылуы тізбектей қозғалтқыштардың жылдамдықтарын реттеу қоздырылуы параллель қозғалтқыштарынан принциптік айырмашылығы жоқ, тек қоздыру немесе якорьдің орамаларында ток күшінің мәнін реостатпен өзгертілмейді, ол шунттау арқылы өзгертіледі - осы орамалардан токты бөліп тастау.
... жалғасы- Іс жүргізу
- Автоматтандыру, Техника
- Алғашқы әскери дайындық
- Астрономия
- Ауыл шаруашылығы
- Банк ісі
- Бизнесті бағалау
- Биология
- Бухгалтерлік іс
- Валеология
- Ветеринария
- География
- Геология, Геофизика, Геодезия
- Дін
- Ет, сүт, шарап өнімдері
- Жалпы тарих
- Жер кадастрі, Жылжымайтын мүлік
- Журналистика
- Информатика
- Кеден ісі
- Маркетинг
- Математика, Геометрия
- Медицина
- Мемлекеттік басқару
- Менеджмент
- Мұнай, Газ
- Мұрағат ісі
- Мәдениеттану
- ОБЖ (Основы безопасности жизнедеятельности)
- Педагогика
- Полиграфия
- Психология
- Салық
- Саясаттану
- Сақтандыру
- Сертификаттау, стандарттау
- Социология, Демография
- Спорт
- Статистика
- Тілтану, Филология
- Тарихи тұлғалар
- Тау-кен ісі
- Транспорт
- Туризм
- Физика
- Философия
- Халықаралық қатынастар
- Химия
- Экология, Қоршаған ортаны қорғау
- Экономика
- Экономикалық география
- Электротехника
- Қазақстан тарихы
- Қаржы
- Құрылыс
- Құқық, Криминалистика
- Әдебиет
- Өнер, музыка
- Өнеркәсіп, Өндіріс
Қазақ тілінде жазылған рефераттар, курстық жұмыстар, дипломдық жұмыстар бойынша біздің қор #1 болып табылады.
 
            
                Ақпарат
Қосымша
Email: info@stud.kz