Күкірт пен азот оксидтерін азайту: отындарды өңдеу, жану технологиялары және түтін газдарын тазалау

Қазақстан Республикасының білім және ғылым министрлігі
Қ. Жұбанов атындағы Ақтөбе өңірлік мемлекеттік университеті
«Техникалық» факультеті
Мұнай-газ ісі кафедрасы
Конспект
Тақырыбы:«Азотты және түтін газдарды айдау»
Орындаған: Сулейменов Н
Ақтөбе 2019
Органикалық отын құрамында болатын және қоршаған ортаға көрнекі әсерін тигізетін улы компоненттердің бірі - күкірт. Күкірттіліктің неғұрлым көп бөлігі КСРО-ның Еуропалық бөлігінде байқалады. Татарстан және Башқұртстан мұнайларынан алынатын мазуттар жоғары күкірттілікке ие.
Сібір көмірлерінде күкірт аз мөлшерде болады. Екібастұз және Қарағанды көмір бассейндері көмірлері құрамында, сібір мұнайларына алынатын мазуттарда күкірт орташа мөлшерде болады. Күкіртсіз отынға көптеген кен орындарының табиғи газы жатады, оған Орынбор және Орта Азия кен орындары жатпайды.
Атмосфераға шығарылатын көптеген күкіртті қосылыстарды төмендетудің негізгі әдістері аз күкіртті мазут алу мақсатындамұнай өңдеу зауытында мұнай отынын тазалау, сұйық және қатты отынды газ тәрізді отын алуға дейін терең өңдеу және күкіртті қосылыстаардан тазалау, түтіндік газдарды бу қазандықтарынан шыққан соң күкірт оксидтерінен тазалау.
Мұнай өңдеу зауыттарында (МӨЗ) мұнай айдауда фракцияға күкірттің аз ғана бөлігі көшеді, күкіртті қосылыстардың төмендеткіш бөлігі жоғары қайнау фракцияларында және мазут құрамына кіретін қалдық өнімдерге жиналады.
Мұнай отындарынан күкіртті алуды МӨЗ-де гидротазалауды да пайдаланып жүзеге асыруға болады. Бұл үрдісте
-нің күкіртті органикалық жүреді және күкірт немесе оның қосылыстарын алу үшін ауланатын көмірсутек
түзіледі. Үрдіс 300-400°С температурада, 10 МПа -ға дейінгі қысымда молибден, кобальт, никель оксидтері катализатор ретінде қатысумен болады.
Дистиляциялық фракцияларды гидротазалау қазіргікезде жеткілікті жақсы әзірленген және экономикалық жағынан тиімді. Бірақ ол үлкен қаржылық шығындармен байланысты.
Жанатын отынның күкірттілігін төмендетуді ЖЭС-те де жүзеге асыруға болады. Онда бу қазандығына түскенде тотықтырғыштарды пайдаланып және оларсыз жұмысқа салу керек.
Газификация үрдісі жоғары температура (900-1300°С) шарттарында
-нің шектелген келуімен жүзеге асырылады. Реакция нәтижесінде жанғыш компонентерді метан және оның гомологы, көміртек оксиді және сутегі болатын газ түзіледі. Бұл жағдайда отын күкіртінен күкірт сутек түзіледі
түзіледі, ол
-мен болуы мүмкін жәнежанғыш газ бу қазандығына түскенше әкетіледі. Булы-ауалы үрлеу кезінде жану жылуы өте аз (4, 5 МДж/м³) газ алынады, булы-оттегілі үрлеуді пайдаланып оның жану жылуын 12 МДж/м³-ке дейін арттыруға болады.
Отынды кешенд энерготехнологиялық пайдалануда, отыннан химиялық шикізат және таза энергетикалық отын алу мәселесі туындағанда мазуттың термиялық ыдырауы үшін қатты өнімнің (мұнай коксы) газификациясымен қатар жүретін жоғары температуралы пиролиз қолданылады. Мазут пиролизі тотықтырғыш қатысуынсыз 700-1000°С температураға қыздырғанда жүреді. Бұл кезде түзілетін жанғыш газ күкіртті қосылыстардан және қажетсіз қоспалардан тазарады да, таза энергетикалық отын ретінде пайдаланылады.
Конденсацияланатын сұйық шайыр өнімдері химиялық шикізат түрінде қолданылады
Күкіртті отындарды жағу үрдісінде түзілетін түтін газдары құрамында салыстырмалы аз концентрациялыкүкірт оксидтері болады. Төмен концентрациялы
-ні әкету тазалау құрылғыларының қажеттілігімен, бұл жағдайда қойылған киловат бағасы 30-40%-дан асады, ал өндірілетін энергияның өзіндік құны 15-20%-дан артады.
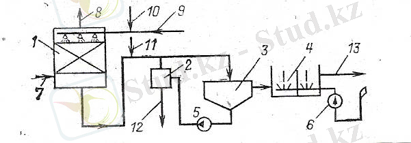
1-скруббер; 2-сүзгі; 3-тұндырма; 4-аэратор; 5-шламдық сорап; 6-ауа үрлегіш; 7-тазаланатын газды енгізу; 8-күкірт оксидтерінен тазаланатын және салқындатылған газдың шығуы; 9-өзен суы; 10-әк сүті; 11-күкірт қышқылды марганецті енгізу; 12-шламды лақтыру; 13-тазартылған суды лақтыру.
2-сурет. Түтін газдарын күкірт оксидтерінен тазалау сызбанұсқасы (әкету әдісі) .
Күкірттен тазалау қондырғыларының қарапайым және неғұрлым арзан материалы әк
немесе
кальций карбанатын қолдану болып табылады. Тазаланатын газ скрубберде әк сүті қосылған сумен жуылады. Осы әдіспен тазалауда жүзеге асыруға жарамды өнімдерді алу қарастырылмайды.
Күкірт оксидтерінен тазартудың түрлі әдістеріжасалған, бұл әдістерде өнімдертауарлық күкірт қышқылын өндіруге, ал реагенттер қайтадан пайдаланылады. Мұндай әдістерге сульфитті, амиакты-циклдік, магнезитті әдістер жатады. Күкірт оксидтерінен тазарту әдісін таңдау техника-экономикалық есептеулер негізінде жүргізілуі керек. Күкірттен тазалаудың ұсынылған әдістерінің барлығында ЖЭС құрылысына кететін қаржылық шығындар және өндірілетін электр энергиясының құны артады.
А-азот оксиді концентрациясын төмендетуге берілу әдісінің және газ рецеркуляциясының дәрежесінің әсері; 1-газдың суық воронка арқылы берілуі; 2-бүйір шлицер ароқылы; 3-жандырғы астындағы шлицтер арқылы; 4-екіншілік ауа каналдары арқылы; 5-газдардың жандырғы арқылы бүлік аумен берілуі; 6-отынның екі сатылы жангу пешінің сызбанұсқасы; 1-жану камерасы; 2-барлық отын берілетн және ауаның жалпы көлемінің 85% беретін жандырғы; 3-ауа мөлшерінің 15% беретін шлицтер.
3-сурет. Азот оксидерінің түзілуін бәсеңдету әдістері.
Егер күкірт оксидтерінің түзілуі бастапқы орындағы күірт мөлшерімен аанықталса, азот оксидтері кез-келген отынды азоттың қышқылдануы есебінен пайда бола алады. Түтін газдарында азот оксидтерінің бірталай мөлшерінің түзілуі қатты бу қазандықтарының жану ядросында жоғары температура болғанда боады.
Азот оксидтерінің түзілуіне пештегі артық ауамен анықталатын отегі коцентрациясы үұлкен әсер етеді.
Азот оксидтерінің түзілуін бәсеңдету жану аймағында төмен температурада және аз артық ауа мөлшері кезінде сәйкес жану үрдісін ұйымдастыруда жүзеге асыруға болады.
Қазандық пештерінде азот оксидтерінің түзілуін бәсеңдетудің негізгі әдістері:
- Пеште артық ауаны отынның толық жануыжағдайларына сәйкес минималды мөлшерге дейін төмендету.
- Пешке түсетін ауаны қыздыру температурасын тиімді жану жағдайларының шегіне дейін төмендету.
- Пештегі түтін газдарының рецеркуляциясы, бұл жағдайда жану аймағындағы оттегі концентрациясы мен температуралық деңгей төмендейді. Азот оксидінің неғұрлым төмендеуі жану құрылысына түтін газдарын тікелей енгізуде байқалады.
- Екі сатылы жануды қолдану. Бұл кезде төменгі жандығғыға ауаның жеткіліксіз мөлшері отын беріледі, ал жоғарғы жандырғыға аз концентрациялы қоспа немесе отын толық жану үшін таза ауа жіберіледі, бұл жағдайда пештегі газдардың ең жоғарғы температурасы мен азот оксидінің концентрациясы төмендейді.
- Жану камерасындағы жылулық кернеуді төмендету.
- Екі түсті экранды пайдаланып пешті экрандау деңгейін арттыру.
- Азот оксидтерінің шығуынтөмендететін арнайы жандырғы құрылғыларын орналастыру.
- Сұйық шлакты әкету және циклонды пештерінің орнына төмен температуралық деңгейі бар кесектелген шлак әкеткіші бар пештерді қолдану.
- Алау түзілуінің алғашқы сатысында су шашырату.
Шаралардың көпшілігі табиғи газбен және мазутты жағу арқылы жұмыс істейтін бу қазандықтарында жүзеге асырылуы мүмкін (1; -4, 6) . Мазутты қазандықтар үшін 9 позиция ерекше тиімді. Қатты отындарда азот оксидтерінің түзілуін бәсеңдету кезінде көрнекі әсер алынбайды, себебі олардың көпшілігі жалындаудың нашарлауы мен көмір шаңының жануына байланысты.
ЖЭС-те күкірт және азот оксидтерінен басқа да зиянды заттар түзілуі мүмкін. Жоғарыда кейбір жағымсыз жағдайларда иіс газы СО түзілуі мүмкін екені айтылды. Оттегі қосымша жетіспегенде пештің жеке бөліктерінде канцергенді қасиеттері бар жоғары молекулалы қосылыстар (бенз(а) пирен, С 20 Н 12 ) түзілуімен жоғары температуралы пиролиз өтеді. Тұрғылықты мекен-жайлардың атмосфералық ауасындағы оның ШРК-сы 0, 1 мкг\100м 3 Бенз(а) пирен түзілуін бәсеңдетудің негізгі әдісі - толық емес жану өнімдерін толық жағу.
Газды мазутты электр станцияларында отынның толық жануын оптикалық түтін өлшеуіштер арқылы үнемі бақылап отыру ұйымдастырылған.
Атмосферадағы зиянды заттардың сейілуі және түтін құбырлары.
Қазандық қондырғыларынан әкетілетін түтін газдары максималды тазартқанның өзінде құрамындағы улы заттардың біраз бөлігін сақтап қалады, О 2 концентрациясында СО 2 -нің жоғары концентрациясы болады. Түтін газдарындағы зиянды заттар концентрациясын төмендету үшін жердің беткі қабатында зиянды заттар атмосфералық ауман араласуы және тыныс алу деңгейінде олардың концентрациясы ШРК-дан аспауы үшін түтін құбырлары арқылы атмосфераның жоғары қабатына жіберіледі. Түтіндік құбырлардың минимал биіктігі КСРО-дағы жағымсыз метрологиялық жағдайлар мен желдің қауіпті жылдамдығы кезіндегі әдістемелерге сәйкес келесі формуламен анықталады:
; (22, 7)
мұндағы, А - елдің белгілі бір ауданындағы атмосфера күйіне тәуелді коэффициент, оның мәні КСРО-ның еуропалық бөлігінде 120-дан, ал Орта Азияның субтропикалық зонасында 240-қа дейін ауытқиды. М - ЖЭС-тен атмосфераға шығарылатын зиянды заттың жиын мөлшері, г\с; Ғ - зиянды заттардың атмосфералық ауаға шөгуін есепке алатын коэффициент, газ тәрізді қоспаларда Ғ=1, ұстау дәрежесі кезінде әкетілетін күл 90%; Ғ=2,
90%-дан төмен, Ғ=2, 5; m және n түтін газдарының құбырдан шығу жағдайларын ескеретін коэффициент; m - газдардың сағадан w 2 is&e жылдамдығына тәуелді( w 2 =10 m шамасы сәйкесінше 1; 0, 9; 0, 8-ге тең) ЖЭС құбырлары үшін n коэффициенті 1-ге тең. І - түтін құбырларының саны; V - ЖЭС - тің бүкіл құбырларының шығаратын жану өнімдерінің жиынтық көлемі, м 3 \с; газ құбырларының және атмосфералық ауа температураларының темпреатура айырымы, К.
Күлдің қатты бөлшектері және газдар (NO 2 ; SO 2 ) үшін есептеулер бөлек жүргізіледі және түтін құбырының биіктігі келтірілген есептеулер ішіндегі ең үлкеніне қарап таңдалады. Күкірт және азот оксидтері үшін біріккен әсер есептеледі. Бұл жағдайда зиянды заттардың есептік мәні
... жалғасы- Іс жүргізу
- Автоматтандыру, Техника
- Алғашқы әскери дайындық
- Астрономия
- Ауыл шаруашылығы
- Банк ісі
- Бизнесті бағалау
- Биология
- Бухгалтерлік іс
- Валеология
- Ветеринария
- География
- Геология, Геофизика, Геодезия
- Дін
- Ет, сүт, шарап өнімдері
- Жалпы тарих
- Жер кадастрі, Жылжымайтын мүлік
- Журналистика
- Информатика
- Кеден ісі
- Маркетинг
- Математика, Геометрия
- Медицина
- Мемлекеттік басқару
- Менеджмент
- Мұнай, Газ
- Мұрағат ісі
- Мәдениеттану
- ОБЖ (Основы безопасности жизнедеятельности)
- Педагогика
- Полиграфия
- Психология
- Салық
- Саясаттану
- Сақтандыру
- Сертификаттау, стандарттау
- Социология, Демография
- Спорт
- Статистика
- Тілтану, Филология
- Тарихи тұлғалар
- Тау-кен ісі
- Транспорт
- Туризм
- Физика
- Философия
- Халықаралық қатынастар
- Химия
- Экология, Қоршаған ортаны қорғау
- Экономика
- Экономикалық география
- Электротехника
- Қазақстан тарихы
- Қаржы
- Құрылыс
- Құқық, Криминалистика
- Әдебиет
- Өнер, музыка
- Өнеркәсіп, Өндіріс
Қазақ тілінде жазылған рефераттар, курстық жұмыстар, дипломдық жұмыстар бойынша біздің қор #1 болып табылады.
Ақпарат
Қосымша
Email: info@stud.kz