Балмұздақты өндіру технологиясы

 
    
ҚАЗАҚСТАН РЕСПУБЛИКАСЫ АУЫЛ ШАРУАШЫЛЫҒЫ МИНИСТРЛІГІ
С. СЕЙФУЛЛИН АТЫНДАҒЫ ҚАЗАҚ АГРОТЕХНИКАЛЫҚ ЗЕРТТЕУ УНИВЕРСИТЕТІ
СТАНДАРТТАУ, МЕТРОЛОГИЯ ЖӘНЕ СЕРТИФИКАТТАУ
КУРСТЫҚ ЖОБА
ТАҚЫРЫБЫ: «Инмарко компаниясы өндіретін пломбир балмұздақтарын өндіру фабрикаларын метрологиялық қамтамасыз ету»
Орындаған: техникалық факультеті,
В076 «Стандарттау, сертификаттау және
Метрология (сала бойынша) »
Мамандығының 4 курс студенті Балғабаева С
Жетекші: аға оқытушы, магистр Аязбаева А. Б.
Кафедраға тапсыру күні «__»20__ ж.
Тапсыру күні «__»20__
Бағасы
АСТАНА 2023
МАЗМҰНЫ
ҚЫСҚАРТУЛАР МЕН БЕЛГІЛЕР
АНЫҚТАМАЛАР МЕН ТЕРМИНДЕР
6
7
1. 2 Балмұздақты өндіру технологиясы
1. 3 Өндіріс кезіндегі құрылғылар
2 ӨНДІРІСТЕ МЕТРОЛОГИЯЛЫҚ ҚАМТАМАСЫЗ ЕТУДІҢ МАҢЫЗЫ
3 ЕҢБЕКТІ ҚОРҒАУ
4 ӨНЕРКӘСІПТЕРДІҢ ҚОРШАҒАН ОРТАҒА ЗИЯНЫ
ҚОРЫТЫНДЫ
ҚОЛДАНЫЛҒАН ӘДЕБИЕТТЕР ТІЗІМІ
11
14
18
21
22
23
24
НОРМАТИВТІК СІЛТЕМЕЛЕР
Осы курстық жобада келесідей нормативтік сілтемелер қолданылды:
ГОСТ 8. 579 - 97 Өлшем бірлігін қамтамасыз етудің мемлекеттік жүйесі. Оларды өндіру, буып-түю, сату және т. б. кез келген түрдегі буып-түюдегі оралған тауарлардың санына қойылатын талаптар
ГОСТ 21-94 Түйіршіктелген қант. Техникалық шарттар
ГОСТ 22-94 Тазартылған қант. Техникалық шарттар
ГОСТ 37-91 Сиыр майы. Техникалық шарттар
ГОСТ 108-76 Какао ұнтағы. Техникалық шарттар
МЕМСТ 656-79 Табиғи жеміс және жидек шырындары. Техникалық шарттар
ГОСТ 657-79 Қант қосылған жеміс және жидек шырындары. Жалпы техникалық шарттар
ҚЫСҚАРТУЛАР МЕН БЕЛГІЛЕР
Осы курстық жобада келесідей қысқартулар мен белгіленулер қолданылды:
ТР - Техникалық регламент
ГОСТ- Мемлекетаралық стандарт
ТК-Техникалық комитет
ТЕРМИНДЕР МЕН АНЫҚТАМАЛАР
Осы курстық жобада келесідей терминдер мен анықтамалар қолданылды:
Қатайтылған балмұздақ - фрезерлеуден кейін мұздатылған балмұздақ температура минус 18 °С-тан аспайды және сақтау, тасымалдау және сату кезінде көрсетілген температураны сақтайды.
Тағамдық тағамдар (балмұздақ үшін) - табиғи немесе өңделген түрдегі тамақ өнімдері, оның ішінде какао ұнтағы, кофе, шай, жаңғақтар, жемістер, бал, жұмсақ карамель, қайнатылған.
Қоюландырылған сүт және басқалары балмұздаққа ерекше дәм беру үшін оны жасау процесінде арнайы енгізіледі.
КІРІСПЕ
Метрологиялық қамтамасыз ету - өлшем бірлікке жету және өлшемнің міндетті дәлдігі үшін қажетті ғылыми, техникалық құралдарды, ережелер мен нормаларды белгілеу мен қолдануды қамтиды. Өлшеу теориясы және тәжірибесімен, өлшеу әдістері мен бірліктерін қамтамасыз ету құралдары және қажетті дәлдікке қол жеткізу тәсілдерін зерттейтін өлшеу туралы ғылым - метрология айналысады.
Өнімді өндіру кезінде дайын өнімнің сапасын бағалауда тек өлшеу жағдайын ғана емес, сонымен қатар бақылау көмегімен технологиялық процестегі сапа көрсеткіштерін бақылау мүмкіншілігіне және өлшеу жағдайына назар аудару керек. Жаңа өнімді шығару алдында және әрбір технологиялық процесті шығаруда шығарылған және аттестатталған өлшеу құралдары мен әдістерін қолданып, өндірістің метрологиялық дайындығын анықтап алу керек.
Өлшеу кезінде қолданылатын әдістемелер метрологиялық аттестталған және тіркеуден өтуі қажет. Аттестталған әдістеменің талабын қатаң сақтай отырып, оператор, яғни ол алған өлшем нәтижесі нормативтік талаптарда берілген шектен аспауына сенімді болуы керек.
Қызмет көрсетудің барлық бағыттарындағы объектілерінде метрология заңнамасының жағдайын білетін, метрология теориясын мен тәжірибесін іс-жүзінде іске асыра алатын мамандар қажет (өлшеу жағдайына жауапты бас метрологтар, өлшеуді жүргізетін операторлар) .
Метрология саласында мамандарды дайындау төрт талапқа негізделеді: инженерлік, экономиканы басқару, ақпараттық технологиялар саласында, сапаны қамтамасыз етуде. Оқу процесі кезінде нақты өлшеу туралы ақпараттар алу, түрлендіру, өңдеу және беру әдістерін оқып қарастырады. Өндірісті метрологиялық қамтамасыз ету және метрология саласында саясатты анықтайтын, халықаралық құқық және ұйымдардың талаптарына сәйкес метрология бойынша жұмыстарды өткізу және ұйымның тәртібін оқиды.
1 БАЛМҰЗДАҚ ӨНІМІНЕ ҚЫСҚАША АҚПАРАТ
Балмұздақ - тоңазытылу арқылы жасалған тағам түрі. Балмұздақты сүт, қаймақ, қант, сары май, жеміс-жидек, сондай-ақ, дәмді, хош иісті тамақтық заттар қоспаларынан жасайды. Құрғақ қоспаға карамель сірнесі, қышқылдар, жұмыртқа ұнтағы, бал, хош иісті шәрбат, шырындар және агар, альгинат, желатин, крахмал, пектин сияқты тұрақтандырғыштар қосады.
Тиісті қоспалар араластырылғаннан кейін, арнаулы ыдыста 63 - 70°С температураға дейін қыздырылып, зиянды микробтар жойылады. Қоспа цилиндрлі немесе дискілі сүзгімен сүзіледі. Қоюлығы біркелкі болу үшін қоспа гомогенизатор арқылы 150 - 300 атмосфералық қысымнан өткізіледі. Гомогенизатордан өткен қоспа тоңазытқышта 2-4°С-қа дейін салқындатылады. Дайын балмұздақтың сапасын тексеру үшін 12 - 18 сағат сақталады да, өлшеніп бөлшектеледі. Бөлшектеу әртүрлі. Мысалы, Алматы сүт комбинатында балмұздақ гильзаға (қаңылтыр ыдыс) салынып, вафлямен (жұмыртқа, қаймақ араласқан жұқа нан) қапталады немесе арнаулы қағазбен оралады. Балмұздақ - жұғымды және адам организміне жеңіл, шөл басатын сіңімді тағам. Сүттен дайындалған балмұздақта А, В, Д, Е, ал жеміс-жидектен жасалған балмұздақта С витаминдері мол.
Балмұздақ тәтті тамақ және дені сау адамдардың көбі үшін өте жұғымды тамақ. Кейде ол диеталық тамақ орнына да жүреді. Бірсыпыра ғалымдар асқазан органдарының қан тамырларын тарылтып, осының нәтижесінде тері түтіктерін кеңейтеді, - деп есептейді. Алайда балмұздақта май да, барынша сіңімді қанттектер де көп.
Соңғы жылдары шығарылатын балмұздақтың ассортименті айтарлықтай жаңарды және кеңейді, оның сапасы жақсарды, сыртқы түрі өзгерді, құрылымы жақсарды. Балмұздақтың ең калориялы сорттарының бірі «пломбир» Францияның Пломбир қаласының атымен аталған. 18 ғасырдың аяғында осында балмұздақтың нақ осы сортын жасау алғаш игерілген екен.
Балмұздақ қоспалары мен толтырғыштар ретінде қолданылатын әртүрлі дәмдік заттар шартты түрде үш топқа бөлінеді. Біріншісі қоспаны дайындау процесінде енгізіледі және балмұздақпен біртекті массанын құрайды, мысалы, кофе, какао, ванилин, сироптар және т. б. екіншісі дайын балмұздаққа енгізіліп, үлкен қоспалар түрінде қалады - мейіз, қантталған жемістер, жаңғақтар, шоколад, вафли және т. б. үшінші топ - толтырғыштар. Қоспалар ретінде қайнатылған қоюландырылған сүт, карамель, джем, шоколадты толтыру қолданылады. Толтырудың барлық түрлерінің негізгі көрсеткіші - құрғақ заттардың құрамы. Экструдтау кезінде балмұздаққа қоспалар енгізу үлкен қиындық тудырмайды.
Құрамында өсімдік компоненттерінің болуы өндіруші шикізатта сақталғандығын көрсетеді. Мұндай өнім балмұздақ деп аталмайды. Құрамында консерванттар болмауы керек, себебі өнім төмен температурада сақталады.
Майлылықтың пайыздық мөлшеріне назар аударыңыз. Сүт балмұздағы сүт сияқты май - 3, 5%, кремді сұйықтық кремі - 10%, толтыру үшін - 15-20% болуы керек. Бұл сандардың едәуір асып кетуі өсімдік майларының құрамын көрсетеді. Дәстүрлі рецепт бойынша балмұздағы сахароза 15% -дан аспауы керек.
1. 1 «Пломбир» балмұздақтары. Жалпы түсінік
Пломбирдің дәмі көптеген адамдарға бала кезінен таныс. Бұл кремді балмұздақ бүгінде танымалдылығын жоғалтпайды, бірақ қаптамада көрсетілген стандарт әрдайым осы талаптарға сәйкес келетіндігін білдірмейді, сондықтан сатып алудан бұрын құрамын оқып шығу керек. Пломбир-сары май мен хош иістендіргіштер (шоколад, жаңғақтар, жемістер) қосылған кремді балмұздақ. классикалық балмұздақ-12-13% сүт майы; майлы балмұздақ-15-20% сүт майы. Пломбир-балмұздақтың ең майлы түрі. Оның ең жақсы түрі тек табиғи ингредиенттерден жасалған балмұздақ болып саналады, оның дәмі жоғары және оны ұзақ уақыт сақтауға болады.
Балмұздақтың сапасы қаптаманың күйіне, өнімнің сыртқы түрі мен түсіне, құрылымы мен консистенциясына, дәмі мен иісіне, толықтығына, температурасына, қышқылдығына, май, қант, құрғақ заттарға байланысты анықталады. Таңдалған балмұздақ сынамаларындағы түс жақсы жарықтандырылған бөлмеде анықталады, бұл балмұздақтың осы түріне тән түс және бүкіл масса бойынша біртектілік. Балмұздақтың құрылымы мен консистенциясы балмұздаққа шпательмен басу арқылы орнатылады. Бұл ретте мұз кристалдарының, май кесектерінің және тұрақтандырғыштың болуына (немесе болмауына) көз жеткізіңіз. Сүт және жеміс-жидек балмұздақтарында аздап қарлы консистенцияға рұқсат етіледі. Дәмі мен хош иісі балмұздақ, глазурь, вафли шыныаяқтарын сынау арқылы анықталады. Дәм мен иістің тазалығына, олардың балмұздақтың әр түріне, бөгде дәм мен иістердің болуына назар аудару қажет. 1 суретте мысал ретінде «Золотой стандарт» пломбир балмұздағы көрсетілген.
 
Сурет 1- Пломбир балмұздағы
Құрамы: балмұздақ үшін (тұтас сүт, сары май немесе сүт майы, қант, глюкоза шәрбаты, су, құрғақ сүт, какао ұнтағы, құрғақ сарысу, картоп крахмалы, май қышқылдарының моно - және диглицеридті эмульгаторы), вафли шыныаяғы үшін (бидай ұны, бидай крахмалы, өсімдік майы, лецитин эмульгаторы, ас тұзы, пісіру ұнтағы натрий гидрокарбонаты, ас содасы, аннато бояуы), глазурь үшін (кокос майы, қант, какао ұнтағы, лецитин эмульгаторы, ванильдің табиғи хош иісі) кіреді. Балмұздақтың барлық адамдардың жақсы көретін өнімі болғанына қарамастан оның тағамдық құндылығына аса мән беру керек. Тағамдық құндылығын мен 1 кестеде көрсеткен болатынмын.
Кесте 1- Балмұздақтың тағамдық құндылығы
1. 2 Балмұздақты өндіру технологиясы
Шикізатты дайындау және араластыру.
Компоненттер рецепт бойынша араласады. Дайындалған қоспаны сүзеді, содан кейін пастерлеуге жібереді. Балмұздақ қоспаларын араластыру және дайындау үшін ұзақ пастерленген ванналарды немесе әмбебап сүт ыдыстарын пайдалануға болады. Бұл контейнерлерді қоспаларды пастерлеу және салқындату үшін де пайдалануға болады.
Қоспаны сүзу және пастерлеу.
Шикізат пен механикалық қоспалардың ерімеген кесектерін кетіру үшін қоспаны арнайы сүзгілерде сүзеді. Әрі қарай, қоспаны пластиналық пастеризаторға пастерлеуге жібереді және 90-95°C температурада пастерлейді.
Қоспаның гомогенизациясы.
Ол май шарларын ұнтақтау үшін жасалады, бұл өз кезегінде фриздеу кезінде суббит болуына жол бермейді. Гомогенизациядан кейін қоспасы қаныққан және тұрақты болады. Ол көп плунжерлі гомогенизаторларда шығарылады. Гомогенизацияның тиімділігін мезгіл-мезгіл тексеріп отыру керек. Гомогенизациядан кейін бірден пастерлеуден кейін қоспаға енуі мүмкін микроорганизмдердің дамуына қолайсыз жағдайлар жасау үшін қоспалар Т=2-4°C дейін салқындатылады.
Қоспаны салқындату және сақтау.
Балмұздақ қоспасы 2-6°C температураға дейін салқындатылады және бірнеше сағатқа созылады. Операция кезінде тұрақтандырғыш дайындалады, ал қоспаның тұтқырлығы артады. Салқындату үшін пластиналы салқындатқыш қондырғысы қолданылады. Салқындатылған қоспаны салқындатылған арнайы жылу оқшауланған ыдыстарға жібереді, Т=4-6°С температурада 12-24 сағат ұстайды, ал қоспаның тұтқырлығы артады.
Фризерлеу.
Фризерлеу-бұл балмұздақ өндірісінің негізгі процесі, оны жүзеге асыру кезінде балмұздақ қоспасы ішінара мұздатылады және өнімде ең кішкентай көпіршіктер түрінде таралатын ауамен қанықтырылады. Фриздеу процесінде балмұздақтың құрылымы қалыптасады, ол өнімді кейіннен тоңазытқышта өңдеген кезде пайда болады. Қоспа 2-6°C температурада фризерге түседі, ал 3-5°C шығады. Дайын балмұздақтың шайқалуы 50-ден 120% - ға дейін.
Орау.
Ол үлкен немесе ұсақ контейнерлерде шығарылады. Үлкен: қораптар, целлюлозалар. Кішкентай: цилиндрлер, брикеттер, шыныаяқтар, мүйіздер, түтіктер, қораптар және т. б.
Қатаю.
Өлшеп орағаннан кейін балмұздақ арнайы аппараттарда немесе тоңазытқыш камераларда -20 -25°C дейін салқындатылады. Өнімдегі үлкен мұз кристалдарын болдырмау үшін қатаю мүмкіндігінше тез жасалуы керек.
Вафли шыныаяқтарын өндіру технологиясы
- Шикізатты дайындау
- Формуланы құрастыру
- Қамыр илеу
- 30-ЗО с бойы араластыру
- Қамыр илеу машинасының сыйымдылығын толтыру
- Шыныаяқтарды пісіру
Балмұздақ жасау үшін қабылданатын сүттің рұқсат етілген қышқылдығы К=21°Т. Мұндай сүтті өндірісте дереу пайдалану керек, келіп түскен сүтті (пастерленбеген) ұзақ уақыт (24 сағатқа дейін) сақтау үшін ол Т=4°С дейін салқындатылады, жоғары емес және салқындатылған және араластырғышы бар арнайы ыдыстарда сақталады. Балмұздақ өндірісінде тек жоғары сортты құрғақ сүт қолданылады. Зауытқа крафт сөмкелерімен әкелінеді, майсыз сүт ұнтағы ГОСТ 10970-74 талаптарына сай болуы керек. Балмұздақ жасау үшін тек тұздалмаған жоғары сортты май қолданылады. Сары май 20 кг картон қораптарда түседі. T = -18°C температурада сары майдың рұқсат етілген сақтау мерзімі 6-12 айды құрайды. Ауаның салыстырмалы ылғалдылығы 80-85% құрайды.
Технологиялық схема
1. 3 Өндіріс кезіндегі құрылғылар
Пластиналы салқындатқыш қондырғы (2 cуретте көрсетілген) балмұздақ қоспаларын сыйымдылық аппараттарында жүзеге асырылатын пастерлеуден кейін жабық ағында салқындатуға арналған. Ол тұзды және суды салқындату бөлімінен тұрады, онда қысқыш құрылғылардың көмегімен жылу алмасу тақталары, сондай-ақ бөлу және еден плиткалары бекітілген.
Қондырғы басқару пультімен жабдықталған, оның құрамына кедергі термометрі, басқару клапаны, ілінісу клапаны, манометр және жетек кіреді.
Пастерлеу компоненттерін сыйымдылық аппаратында араластырғаннан кейін, 80°C балмұздақ қоспасы сүзіліп, кейін 86°C пластиналық салқындатқышқа беріледі, онда ол екі сатылы суық сумен және тұзды ерітіндімен салқындатылады. Қоспаны қондырғыға жіберген барлық уақыт ішінде мұқият араластыру керек, әсіресе жоғары майлы қоспаларды, сары майды қолданатын қоспаларды және толтырғыштарды өңдеу кезінде. Әйтпесе, құрамында майдың көп мөлшері бар соңғы бөліктер құрылғының салқындату бөлімдерінде қатып қалады, бұл оның істен шығуына әкеледі.
Теңестіру цистернасынан қоспа регенерация және пастерлеу секциясында, одан әрі гомогенизаторға, ағын түріндегі ұстағышқа, содан кейін су және тұзды салқындату секциясына және одан әрі фризерлеуге дейін уақытша сақтауға арналған резервуарға дәйекті түрде беріледі. Термиялық өңдеу режимі бұзылған жағдайда, автоматты айналма клапанның көмегімен қоспаны қайта өңдеу үшін теңдестіру цистернасына қайтаруға болады. Осы типтегі қондырғылар қоспаларды пастерлеудің жоғары тиімділігін қамтамасыз етеді-микроорганизмдердің жалпы санынан 99, 96-99, 99% өледі.
 
Сурет 2- Пластиналы салқындатқыш қондырғы
Балмұздақ қоспасын фриздеуге арналған жабдық.
Мерзімді әсер ететін фризерлер негізінен жұмсақ балмұздақ алу үшін қолданылады, оны пісіргеннен кейін бірден жүзеге асырады.
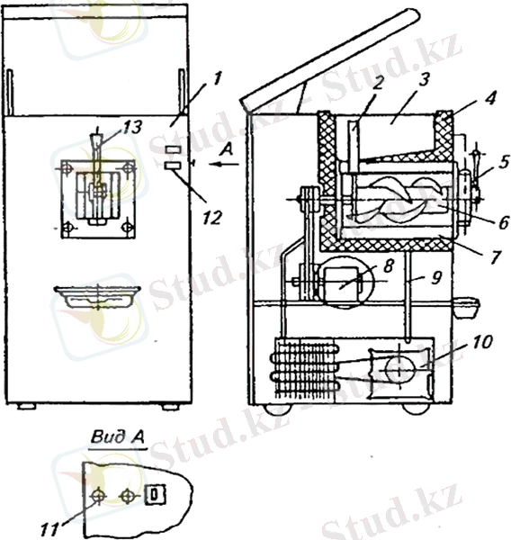
ФМ-1 маршрутизаторы корпустан, диспенсері бар резервуардан, жұмыс цилиндрінен, араластырғыштан, тоңазытқыш қондырғысынан және құбырдан тұрады.
 
 
Сурет 3 -Фризер ФМ-1: 1-корпус; 2-диспенсер; 3-бак; 4-жылу оқшаулау; 5 - таңдау құрылғысы; 6-араластырғыш; 7 - жұмыс цилиндрі; 8-араластырғыш жетегі; 9-құбыр; 10 - тоңазытқыш аппараты; 11-термостат; 12-шкала; 13-ұстау.
Жұмыс цилиндрі мен резервуар жылу оқшаулағышына ие және құбыр арқылы қосылған. Араластырғыш жетегі электр қозғалтқышы мен редукторды қамтиды. Араластырғыштың айналуы клиникалық беріліс көмегімен жүзеге асырылады. Таңдалған құрылғы дайын өнімді түсіруге қызмет етеді. Электр қозғалтқышы, компрессор және жылу алмастырғышты қамтитын тоңазытқыш қондырғысы жұмыс цилиндрінің қабырғалары арасында орналасқан буландырғышпен құбыр жүйесімен қосылған.
Балмұздақ тамшыларын жинау үшін алынбалы ванна қызмет етеді, ол бір уақытта шыныаяқтарды толтыру үстелінің қызметін атқарады. Фризерді жуу және дезинфекциялау үшін таңдалған құрылғыны ішінара бөлшектеу және араластырғыштың бұрандасын алу қарастырылған. Азық-түлікпен жанасатын барлық бөлшектер арнайы тот баспайтын болаттан және полимерлі материалдардан жасалған. Фризер екі режимде жұмыс істейді: балмұздақ дайындау және раковина. Режимдерді ауыстыру ауыстырып қосқыш арқылы жүзеге асырылады.
Жұмыс режимінде фризер келесідей жұмыс істейді.
Алдын ала дайындалған және сүзілген бастапқы қоспасы резервуарға құйылады, ол жерден диспенсер арқылы жұмыс цилиндріне ағады. Диспенсердің көмегімен ауа цилиндрге де енеді.
Тоңазытқыш қондырғысы жұмыс істеп тұрған кезде араластырғыш пышақтармен салқындатылған қоспаны жұмыс цилиндрінің ішкі қабырғасынан алып тастайды, ауамен қарқынды араластырады.
Бұл жағдайда қоспаның көлемі шамамен 2 есе артады. Термореттегішпен орнатылатын белгіленген температураға (-5 . . . -6°С) жеткенде тоңазытқыш жүйесі мен араластырғыш ажыратылады. Таңдалған құрылғының поршені тұтқаны жоғары қаратып араластырады және шығатын тесікті ашады. Сонымен қатар, микро қосқыш штанга арқылы жабылады, ол уақыт релесі арқылы араластырғыш қозғалтқышын қосады. Соңғысының айналуы нәтижесінде балмұздақтың бір бөлігі шыныаяққа беріледі. Дайын өнім таңдалған кезде бастапқы қоспаның жаңа бөлігі жұмыс цилиндріне енеді және цикл қайталанады.
Бұл жағдайда балмұздақ дайындау және таңдау бір уақытта жүруі мүмкін. Тұтқаны жоғарғы күйге ауыстырған кезде поршень төмен қарай жылжиды, розетканы жауып тастайды, бірақ уақыт релесінің арқасында араластырғыштың қозғалтқышы тағы біраз уақыт жұмысын жалғастырады (5-180 с) . Егер осы уақыт ішінде дайын өнімді қайта таңдау орын алмаса, араластырғыштың қозғалтқышы өшеді. Уақыт релесі араластырғыштың электр қозғалтқышының оңтайлы жұмыс режимін қамтамасыз етеді. Балмұздақты үздіксіз таңдағанда, ол өшірілуі мүмкін. Диспенсер балмұздақ түріне байланысты бастапқы қоспаның жұмыс цилиндріне жеткізілуін реттеуге қызмет етеді.
Балмұздақтың шайқалуы қоспаның салқындату ұзақтығына байланысты. Егер ол жеткіліксіз болса, балмұздақ тым тығыз және сулы, құрылымы болуы мүмкін. Балмұздақ үлкейген кезде қабыршақты құрылымға ие болады. Екі жағдайда да балмұздақтың дәмі қалыптыдан төмен. Балмұздақтың көптеген түрлері үшін оның шайқалуы 75-95% болуы керек және сонымен бірге қоспадағы құрғақ заттардың үш еселенген мөлшерімен шектелуі керек деп саналады.
Жуу режимінде жуу немесе дезинфекциялау ерітіндісі фризер ыдысына құйылады. Жуу режимінде тек араластырғыштың электр қозғалтқышы жұмыс істейді. Жуу аяқталғаннан кейін ерітінді таңдау құрылғысы арқылы жойылады. Ішінара бөлшектеу кезінде қанатты гайкалар бұрылып, таңдалған құрылғы, араластырғыш шнек және диспенсер алынып тасталады. Жұмыс цилиндрінің сыйымдылығы 12 л құрайды. ФМ-1 фризерінің өнімділігі 21 кг/сағ, араластырғыш қозғалтқыштары мен тоңазытқыш қондырғысының қуаты 3 кВт. Қоспаны шайқау ұзақтығы 10 минуттан аспайды.
Фризер B6-0F2SH толтырғыштар мен толтырғыштарсыз сүт және жеміс негізіндегі қоспалардан балмұздақ өндіруге арналған. Олар аммиакты сорғы-циркуляциялық салқындату жүйесі бар кәсіпорындарда қолданылады.
Фризер келесі негізгі бөліктерден тұрады: салқындатқыш жейдесі бар жұмыс цилиндрі, қоспаға арналған резервуар, жетекті араластырғыш, екі беріліс сорғысы, құбырлар және электр жабдықтары.
Цилиндрде балмұздақ қоспасы шайқалып, мұздатылады. Оның ішінде шайқау құрылғысы мен пышақтары бар араластырғыш бар, олар араластырғышты айналдырған кезде цилиндрдің ішкі бетіне басылып, қоспаның мұздатылған қабатын алып тастайды.
Фризер B6-0F2SH құрылғсы 4 суретте көрсетілген.
 
Сурет 4 - Фризер B6-0F2SH
Араластырғыштың жетегі Электр қозғалтқышы, редуктор және клиникалық беріліс түрінде жасалады. Электр қозғалтқышы мен редуктор түріндегі беріліс сорғыларының жетегі олардың біліктерінің әртүрлі айналу жиілігін қамтамасыз етеді.
Құбырлар аммиакты жеткізу және бұру, қоспаны беру және оны ауамен қанықтыру жүйелерінің жұмыс істеуін қамтамасыз етеді. Олар көмекші жабдықтармен, дисплеймен және қауіпсіздік құралдарымен жабдықталған.
Алдын ала пастерленген, гомогенизацияланған және 6°C дейін салқындатылған қоспа ауырлық күшімен немесе сорғының көмегімен резервуарға түседі. Резервуардағы қалқымалы клапан ондағы тұрақты деңгейді сақтайды және оның толып кетуіне жол бермейді. Араластырғыштың көмегімен қоспаны араластырады және құбыр арқылы бірінші және екінші сатыдағы беріліс сорғыларына дәйекті түрде түседі. Сорғылар арасындағы құбырда біліктердің әртүрлі айналу жылдамдығына байланысты вакуум пайда болады.
Екінші сатыдағы сорғы ауа клапаны мен сүзгі арқылы өтетін ауаны сорып, жұмыс цилиндріне ауамен қаныққан қоспаны береді. Цилиндрдегі қоспа аммиакпен салқындатылған қабырғалармен жанасады, егер қатып қалса пышақтармен кесіледі. Қамшы құрылғысы бар араластырғыш мұздатылған қоспаны қосымша шайқайды және одан әрі өңдеу үшін дайын өнімді шығарады.
2 ӨНДІРІСТЕ МЕТРОЛОГИЯЛЫҚ ҚАМТАМАСЫЗ ЕТУДІҢ МАҢЫЗЫ
Өндірісті метрологиялық қамтамасыз етуге дайындау кезеңінде ғылыми және ұйымдық-техникалық кешенді шараларды ұсынады, бұнда өнім сапасы талап ететін көрсеткіштерді анықтауды қамтамасыз етеді және жабдықтардың технологиялық процесстердің көрсеткіштерін сипаттайды. Өндірісті метрологиялық қамтамасыз етуге дайындау бұл жаңа жетілген технологиялық процестерді қолдануға негізделген, ғылыми-техникалық деңгейдің дамуы нәтижесінде қолданылатын нормативті-техникалық, технологиялық және конструкторлық құжаттарды және механикаландырылған немесе автоматтандырылған құралдарды өндірістік процестерде қолдану өндірістің технологиялық процесінің негізгі бөлігі болып табылады.
Метрологиялық қамтамасыз етудің негізгі мақсаттары:
1. Өнімнің сапасын, өндірісті басқарудың тиімділігін және өндірістік процестерді автоматтандыру деңгейін арттыру;
... жалғасы- Іс жүргізу
- Автоматтандыру, Техника
- Алғашқы әскери дайындық
- Астрономия
- Ауыл шаруашылығы
- Банк ісі
- Бизнесті бағалау
- Биология
- Бухгалтерлік іс
- Валеология
- Ветеринария
- География
- Геология, Геофизика, Геодезия
- Дін
- Ет, сүт, шарап өнімдері
- Жалпы тарих
- Жер кадастрі, Жылжымайтын мүлік
- Журналистика
- Информатика
- Кеден ісі
- Маркетинг
- Математика, Геометрия
- Медицина
- Мемлекеттік басқару
- Менеджмент
- Мұнай, Газ
- Мұрағат ісі
- Мәдениеттану
- ОБЖ (Основы безопасности жизнедеятельности)
- Педагогика
- Полиграфия
- Психология
- Салық
- Саясаттану
- Сақтандыру
- Сертификаттау, стандарттау
- Социология, Демография
- Спорт
- Статистика
- Тілтану, Филология
- Тарихи тұлғалар
- Тау-кен ісі
- Транспорт
- Туризм
- Физика
- Философия
- Халықаралық қатынастар
- Химия
- Экология, Қоршаған ортаны қорғау
- Экономика
- Экономикалық география
- Электротехника
- Қазақстан тарихы
- Қаржы
- Құрылыс
- Құқық, Криминалистика
- Әдебиет
- Өнер, музыка
- Өнеркәсіп, Өндіріс
Қазақ тілінде жазылған рефераттар, курстық жұмыстар, дипломдық жұмыстар бойынша біздің қор #1 болып табылады.
 
            
                Ақпарат
Қосымша
Email: info@stud.kz