Қашықтықтан басқару аппаратурасы


КІРІСПЕ
Автоматты бақылау, өлшеу, басқару немесе реттеу кезінде жоғарыда аталған міндеттердің бірін жүзеге асыратын құрал-жабдықтардың негізгі бөлігі шоғырланған пункт ол басқаратын объектіден қашықтықта орналасу жағдайы жиі болады. Іс жүзінде объектіде орнатылған екінші және бірінші ретті құралдар (түрлендіргіштер) арасындағы бөлініс әрқашанда бола береді, алайда бақылау пункті және объект арасындағы арақашықтық әр түрлі болуы мүмкін: гидро- және пневмоавтоматика жүйелеріндегі бірнеше метрден бірнеше он метрге дейін немесе электроавтоматика жүйелеріндегі жүз немесе бірнеше жүз метрге дейін.
Пневматикалық жабдық. жетекті және реттегіштер үшін қашықтан басқару пневматикалық жүйелерде ең көп өтініш алған қашықтан басқару және қашықтан басқару құралын айналып өтеді. Қолмен баптау механизмі гидравликалық күшейткіш немесе сенсор мембрананың органының орнатылған. Бұл контроллер қолмен реттеу бұрандасын бұрап, тиісті диапазоны параметр тетігі шеңберінде сілтеме орнатуға мүмкіндік береді. Дің, мембраналық әрекет ететін арнайы буып арқылы өтеді. бұғаттау клапандары автоматты контроллерлер үшін гидравликалық жетектер қосылу, сондай-ақ қашан қысым желісі жұмыс істейтін сұйықтықтың қысымы жұмыс желілерін қабаттастыру үшін пайдаланылады. Құрылымы, клапан бұғаттау жұмыс элементі серіппелі кептелісі болып табылады. Қысым болмаған жағдайда немесе оны азайту, көктемгі жетегі үшін қолайлы операциялық желілерін оқшаулауға, ол тығынды жылжиды. Қарғыбауы бар, және клапанның органның қақпағы баяндалған, түтік күштеп параметрі орнатуға болады.
Қауіпсіздік техникасы бұл - жұмысшыларға әсер ететін қауіпті өндірістік факторлардың алдын-алатын құралдар мен шаралардың техникалық және ұйымдасқан жүйесі.
Полиграфиядағы өндірістік жарақатпен түрлі ауруларға ұшыраудың себебін тексере келе, еңбектің қауіпсіздігі мен зиян келмеуі өндірісті ұйымдастыру мен технологиялық процесстердің сипатымен байланысты екенін көрсетіп отыр.
Полиграфиялық өндіріске түгелімен формалық, басу және өңдеу процестерін механикаландыру мен автоматтандыру, зиянсыз және жанбайтын жаңа заттар мен материалдарды қолдану, жұмыс істеуге қолайлы жағдай туғызудың арқасында өндірісте апаттардың, жарылыстардың, өрттің, жарақаттану мен түрлі аурулардың тууының алдын алады.
Бұл жобаланып отырған полиграфиялық кәсіпорында барлық операциялар шикізаттарды, жартылай фабрикаттарды, дайын өнімдерді қолмен салу, алу болмайды.
Өндірістік жарақат алудың нәтижесі, көптеген өлімге дейін әкелетін бақытсыз жағдайлардың 20 - 40% осы электр тогының әсерінен болатынын көрсетіп отыр.
Электр тогы, адам денесінен өткенде, оған темиялық (дененің ішкі және сыртқы бөлігін күйдіреді, қанды қыздырады), электрлік ( қанның және басқа да ағзаның сұйықтықтарының ыдырауына) және биологиялық (тірі жасушаларды қоздырады және тітіркендіреді) әсер етеді. Электр тогының әсерінен адам ағзасында екі түрлі зақымдану болады. Оның екі түрі бар: ішкі (электрлік соққы) және сыртқы (күю, терінің металдануы, электрлік белгілер, механикалық зақымданулар) .
- ҚАШЫҚТЫҚТАН БАСҚАРУ АППАРАТУРАСЫ
1. 1 Құрлымы және спатталуы
Автоматты бақылау, өлшеу, басқару немесе реттеу кезінде жоғарыда аталған міндеттердің бірін жүзеге асыратын құрал-жабдықтардың негізгі бөлігі шоғырланған пункт ол басқаратын объектіден қашықтықта орналасу жағдайы жиі болады. Іс жүзінде объектіде орнатылған екінші және бірінші ретті құралдар (түрлендіргіштер) арасындағы бөлініс әрқашанда бола береді, алайда бақылау пункті және объект арасындағы арақашықтық әр түрлі болуы мүмкін: гидро- және пневмоавтоматика жүйелеріндегі бірнеше метрден бірнеше он метрге дейін немесе электроавтоматика жүйелеріндегі жүз немесе бірнеше жүз метрге дейін.
Аппаратураны осындай басқару түрін қашықтықтық деп атайды. Қашықтықтан басқару жүйесі келесі құрамдас бөліктерден тұрады: басқару құрылғылары, олардың көмегімен басқарылатын құрылғыға басқару импульстері беріледі; реттеуші органдарға немесе басқарылатын объектісіне тікелей әсер ететін атқарушылық құрылғылар.
Пневматикалық аппаратура. Пневмоавтоматика жүйелерінде атқарушы механизмдері мен реттеуші органдарын қашықтықтан басқару үшін қашықтықтан басқару панельдері және қашықтықтан басқару байпас панельдері кеңінен таралған.
Сурет. 1. 1. Айналма қашықтан басқару панелі, 1 Ауаның қысымының редуктор, 2 манометр, 3 кран қосқыш, 4 пульта жапқышы
Қашықтықтан басқару панелі (Сурете. 1. 1) реттеуші қақпақтарды қашықтықтан басқару үшін арналған. Ол ауа қысымы редукторы 1 және манометрден 2 тұрады. Панельде орналастырылған редуктор 0, 02-0, 16 МПа арасындағы кез келген берілген ауа қысымының тұрақтылығын қамтамасыз етеді. Панель жұмысы қысымы 0, 2 және 1, 0 МПа тазартылған және құрғатылған ауамен жүзеге асырылады.
Қашықтықтан басқару байпас панелі (Сурет. 1. 1) пневматикалық атқарушы механизмдерімен автоматты реттеуден қолмен қашықтықтан басқаруға өтуге мүмкіндік береді. Панельде 0, 02-0, 16 МПа арасындағы кез келген берілген ауа қысымының тұрақтылығын қамтамасыз ететін ауа қысымы редукторы 1, осы қысымды бақылайтын манометр 2, және кран-ауыстырып-қосқыш 3 орналастырылған. Кранның тұтқасы келесі үш қалыпта болуы мүмкін: «автомат», «орташа» және «қол». «Автомат» қалпы пневматикалық қақпақшаны реттеушіден басқаруға сәйкес келеді; «орташа» - атқарушы механизмге ауаны кран-ауыстырып-қосқышпен жабуға; «қол» - редуктор көмегімен пневматикалық қақпақшаны қолмен қашықтықтан басқаруға сәйкес келеді.
1. 2 Гидравликалық аппаратура
Гидравликалық аппаратура. Қашықтықтан басқаруда кеңінен қолданыс тапқан гидравликалық аппаратураға беру құрылғылары (қолмен дәл күйге келтіру механизмдері), бұғаттаушы қақпақшалар және ауыстыру құрылғылар жатады.
Сурет. 1. 2. Ауаның қысымының редуктор, 2 манометрі
1. 3 Қолмен дәл күйге келтіру механизмдері
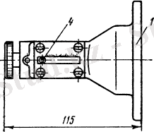
Қолмен дәл күйге келтіру механизмдері (Сурете. 1. 2) басқару құрылғысының (күшейткіштің) беру серіппесіне әсер етеді. Оны гидравликалық күшейткіш корпусына немесе мембраналық сезгіш элементіне орналастырады. Механизм корпусында мембраналық сезгіш элементтің герметизациясы үшін арнайы тығыздама 2 бар. Реттегішке сәйкес ауқымы шегінде баптау беру реттеу винтін 5 қомен айналдырумен және импульсты серіппені қысумен жүргізіледі. Реттеу винтінің максималды жүру жолы 30 мм.
Сурет. 1. 3. Қолмен дәл күйге келтіру механизмдері:
1 - корпус, 2 - тығыздама, 3 - шток, 4 - көрсеткіш, 5 - реттеуші винт,
6 - импульсті серіппе ұшы
1. 4 Бұғаттаушы қақпақшалар
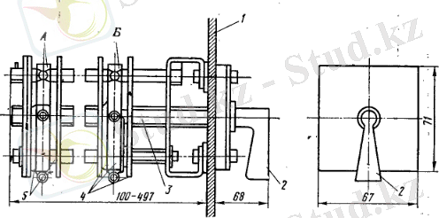
Бұғаттаушы қақпақшалар (Сурете. 1. 4) гидравликалық атқарушы механизмдерді қашықтықтан басқаруда, оларды автоматты реттеушілерге қосуда және сонымен қатар қысымлы коллекторда май қысымының төмендеуі кезінде жұмыс желілерін жабу кезінде қолданылады.
Сурет. 1. 4. Бұғаттаушы қақпақша: 1 - серіппе, 2 - тығын, 3 - корпус, 4 - штифт, 5 - бау, 6 - қақпақ
Қысымды желіде қысым болмаған жағдайда серіппе 1 тығынды шеткі оң жақта ұстап отырады, сонда атқарушы механизмге баратын жұмыс желілері жабық болады. Қысымды коллекторда қысым пайда болғанда, қақпақша корпусындағы канал арқылы К қуысына баратын май серіппені қысып, тығынды шеткі сол жаққа ығыстырады.
1. 5 Электромагнитті ауыстыру құрылғылары
Электромагнитті ауыстыру құрылғылары (Сурете. 1. 5. 1) атқарушы механизмдерді автоматты реттеуден қашықтықтан басқаруға аударуға арналған. Корпустың 1 тіреу мойынтіректерінде басу инесіне 4 және импульсты құрылғы инесі 2 немесе серіппеге арналған ұялары бар иінтірек 5 орналастырылған. Орауышта ток болмаған жағдайда электромагнит зәкірі 3 серіппемен 6 тірелгенше көтерілген. Мұндағы иінтірек беру құрылғысынан күшейткішке берілетін әсеріне бөгет жасамайды. Сигнал алынғанда (электромагнит орауышында ток пайда болғанда) зәкір импульстік құрылғыға әсер етіп, күшейткіштің бүріккіш трубкасын шеткі жақтардың біреуіне қарай ығыстырады.
Сурет. 1. 5. Электромагнитті ауыстыру құрылғысы: 1 - корпус, 2 - импульсты құрылғы, 3 - электромагнит, 4 - басу инесі, 5 - иінтірек, 6 - серіппе
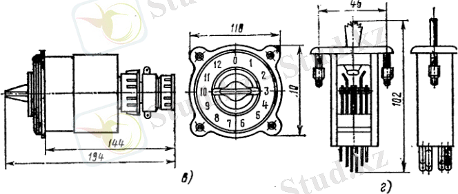
Сурет. 1. 5. 1. а - УП сериялы әмбебап ауыстырып-қосқышы, б - штепсельді жалғағышы бар ПМТ көпнүктелі щеток ауыстырып-қосқышы ; 1 - панель қабырғасы (пульт қақпасы), 2 - тұтқа, 3 - білікше, 4 - шайбалар, 5 - қоршаулар; А, Ә - секциялар
- ЭЛЕКТРЛІК АППАРАТУРА
2. 1 ПДП-ТП роликтік кілтті панельдер
Қашықтықтан басқару үшін әмбебап ауыстырып-қосқыштарды, батырмалар мен басқару кілттерін, щетокты және джекті ауыстырып-қосқыштарды, роликтік кілттері бар панельдерді, адымдық іздеушілер, командоаппараттар, магнитті қосқыштар, соңғы және жолдық сөндіргіштер, телебасқару аппаратурасын және т. б. қолданады.
Осы кітаптың шектеулі көлемі жоғарыда аталған аппаратураның толығымен ұйымдастырылуы мен жұмыс жасау принциптерін қарастыруға мүмкіндік бермейді. Сондықтан төменде жылутехникалық процестерді автоматизациялау және оларды өндірісте қашықтықтан басқаруда кеңінен таралған аппаратура жайлы ғана қысқара мәлімет келтірілетін болады.
УП сериялы әмбебап ауыстырып-қосқыштарды (МЕМСТ 16708-77) сирек қосу мен сөндіру үшін командоаппараттар ретінде қолданады. Ауыстырып-қосқыштар (Сурет. 2. 1. 1) электрлік қосылу схемалары, секциялар саны мен тұтқа қалпының саны бойынша ажыратылады. Ауыстырп-қосқыштың секциялары (А, Ә, . . . ) бір-бірінен пластмассадан жасалған қоршаулармен 5 оқшауланған. Әрбір секция ішіндегі контактілерді тұйықтау мен ажырату пластмассадан жасалған жұдырық шайбалармен 4 жүргізіледі, олар қосылудың әр түрлі нұсқаларын қамтамасыз етеді. Әр секцияда үш шайба бар: екеуі екі жылжымалы контактілерді қосу үшін, үшіншісі оларды ажырату үшін қажет. Барлық секциялар арқылы орталық білекше өтеді 3, оның бір шетінде пластмассадан жасалған тұтқасы 2 бар.
КУ және К сериялы басқару батырмалары (МЕМСТ 2492-77) электромагнитті аппараттарды (қосқыштарды, контакторларды және т. б. ), атқарушы механизмдерді, басқару тізбектерді тұйықтау мен ажыратуға және дабылдаманы қашықтықтан басқаруға арналған.
Сурет. 2. 1. Басқарманың кілті
Басқару кілттері (Сурет. 2. 1) электрлік тізбектерді ауыстыру-қосу, электрлік атқарушы механизмдерді қосу мен сөндіру үшін қолданылады. Олар ортақ білікшеге қондырылатын әр түрлі стандартты пакеттерден жиналған. Әрбір пакет төрт жылжымайтын және бір жылжымалы контактіден тұрады. Олар екі бір-біріне жақын немесе екі қарама-қарсы жылжымайтын контактілерді тұйықтайды. Бірінші типтес жылжымалы контакттер кілті білікшеге қатты бекітілген. Екінші типті контакттер білікшеде әр түрлі бұрыштарға еркін жүреді. Кілт білікшесі тұтқаға қатты бекітіліп, әр түрлі бұрыштарға бұрыла алады. Бұрыш мөлшері жүру шектеулерімен анықталады. Кілттердің тұтқалары белгілі бір қалыпта бекітілуі мүмкін немесе олар бастапқы қалыпқа өздігінен келуі мүмкін. Біріншілері электрлік тізбектерді ауыстырып-қосу үшін, екіншілері атқарушы механизмдерді қосып-ажырату үшін арналған.
Сурет. 2. 1. 1. ПД қатпарлы ауыстырып-қосқышы
ПМТ көпнүктелі щеток ауыстырып-қосқыштары (Сурет. 2. 1. 2)
термоэлектрлік термометрлер мен кедергі термотүрлендіргіштері схемаларында жұмыс үшін арналған. Олар 4; 6; 8; 12 және 20 нүктелік болады. Сымдарды тік немесе бұрышты штепсельді жалғағыш арқылы жалғастырады.
Екі полюсті ПД қатпарлы ауыстырып-қосқыштарды (Сурет. 2. 1. 3) термоэлектрлік термометрлер мен кедергі термотүрлендіргіштері схемаларында тізбектерді қосу үшін қолданады. Ауыстырып-қосқыш тұтқасын үш қалыпта бекітеді (екі шеткі және бір ортаңғы) .
Сурет. 2. 1. 2. Пластинчатый джековый айырып-қосқышы
ПДП-ТП роликтік кілтті панельдер (Сурет. 2. 1. 2) термоэлектрлік термометрлердің көрсететін құрылғыларға кезекпен қосылу үшін және термоэлектрлік термометрлер схемаларында қосылған өздігінен жазатын құрылғылардың көрсеткіштерін тексеру үшін арналған. Кілт тұтқасы ортаңғы (бекітілген) қалыпта тұрғанда, екі термоэлектлік термометрлерді өздігінен жазатын құрылғыларға жалғайтын контактілердің екі жұбы тұйықталған. Тұтқаны шеткі қалыптың (бекітілмеген) біреуіне (оң немесе сол) әкелсе, термоэлектлік термометрлердің біреуі оның көрсеткіштерін тексеру үшін өздігінен жазатын құрылғыдан ажыратылады.
Сурет. 2. 1. 3. ПДП-ТП типті роликтік кілтті панельдер.
Егер өздігінен жазатын құрылғылар көрсеткіштерін тексеру қажеттілігі болмаса, панельдерді термоэлектлік термометрлерді көрсететін құрылғыға кезекпен қосылу үшін қолданады.
Сурет. 2. 1. 4. Адымның іздегіштер, 1 обмотка, 2 контактнының щеткасы, 3 храповое дөңгелек, 4 тұрақты байланыс, 5 қосалқы контактілер, 6
зәкірлік, 7 соморазрыва контактілер, 8 пружинасы, 9 собачк .
ҚОРЫТЫНДЫ
Өндіріс автоматтандыру - басқару және бақылау функцияларын бұрын адамдар, аспаптар мен автоматты құрылғылардың орындауындағы ол процесс. өндірісті автоматтандыру негізгі мақсаты, өнімділігін арттыру өнім сапасын жақсарту, барлық өндірістік ресурстарды оңтайлы пайдалану үшін жағдай жасау болып табылады.
Классикалық басқару теориясы негізін қалаушы профессор И. А. болып табылады тұрақтылық аймақтар диаграмманың графигін салынған, - алғаш рет бірыңғай динамикалық жүйе ретінде реттеу және бақылау нысанды зерттеуге бастады. Автоматты басқару теориясы дамуына елеулі үлес Ресей математигі AM жасадыЛяпунов, бастапқы теориясы және динамикалық жүйелер бірқатар дәлелдеді. ең танымал сызықты жүйелерді зерттеу үшін оның әдістері.
Автоматтандыру қазіргі заманғы ғылыми-технологиялық революция негізгі факторларының бірі болып табылады. өндірістерді автоматтандыру бақылау объектілерін талдау және синтездеу үшін, сондай-ақ автоматты бақылау, реттеу және бақылау техникалық құралдарын салу және пайдалану үшін жүйелі көзқарас негізделген. автоматты жүйе кеңінен ғылым мен техниканың соңғы жетістіктерін пайдаланылады. Ол күрделі осындай шұжық термоөңдеу ретінде процестерді, немесе операциялық пастерлеу, салқындату жабдықтарды, тікелей бақылау адам іс жүзінде қол жетпейтін жағдайларда жүзеге асырылады. Және т. б. өндірістік жер процестерді, дүкен, фабрика, кешенді автоматтандыру озық технологиялар мен құралдар, Автоматтандыру және компьютерлік технологиялар өлшеу пайдалана отырып басқарудың озық әдістерін негізінде жоғары механикаландырылған өндіріс сәйкес осындай шұжық өндіру желісі ретінде бірыңғай өзара күрделі тізбек ретінде акт, т. б. кешенді автоматтандыру мүмкін. Адамдар тек автоматтандыру жай-күйін бақылайды автоматты басқару, қатар, ол белсенді түрде басқару үдерісіне тікелей қатысатын автоматтандырылған басқару жүйелерін, пайдаланыңыз. автоматтандырылған басқару жүйесі электронды компьютерлер (компьютерлер) негізі ретінде пайдалана отырып, адам-машина жүйесі болып табылады. өнеркәсіп құрылды және табысты автоматтандырылған технологиялық процестерді басқару жүйесін жұмыс болды, тұрақтылық пен мінез-құлық автоматтандырылған компаниясы жүйелерін басқару және салалық автоматтандырылған жүйесін зерттеу әдістерін ұсынды. технологиялық процестерді басқарудың автоматтандырылған жүйесі, белгіленген өлшемдерге сәйкес ақпараттық технологиялар нысандардың жинау, өңдеу және басқаруды қамтамасыз етеді адам-машина жүйесі. Бақылау объектісі астында, технологиялық жабдықтарды жиынтығы ретінде түсіну және өндірістік процесінің тиісті нормативтік құқықтық актілеріне, оны сатқан. Бірлескен іс-қимыл қыл-қыбыры мен автоматтандырылған технологиялық процестерді басқару жүйесі технологиялық кешенін құрайды кең функционалдық мүмкіндіктері бар, ұқсас аппараттық негізінде құрылған, олардың алгоритмдері жұмысын, өзгерту икемділігі, басқару функцияларын және жаңа өлшеу құралдарын қолдану интегралдау арқылы автоматтандыру жоғары деңгейі бар. Автоматты басқару теориясы дамыту кибернетика дамыту, басқару, байланыс және ақпаратты өңдеу ғылым үшін негіз болды. Кибернетикалық басқару принциптері адам қызметінің барлық дерлік салаларында қолдануды табылған: және т. б. процесс бақылау, өндіріс, ғылым, сауда, тұрмыстық қызмет .
... жалғасы- Іс жүргізу
- Автоматтандыру, Техника
- Алғашқы әскери дайындық
- Астрономия
- Ауыл шаруашылығы
- Банк ісі
- Бизнесті бағалау
- Биология
- Бухгалтерлік іс
- Валеология
- Ветеринария
- География
- Геология, Геофизика, Геодезия
- Дін
- Ет, сүт, шарап өнімдері
- Жалпы тарих
- Жер кадастрі, Жылжымайтын мүлік
- Журналистика
- Информатика
- Кеден ісі
- Маркетинг
- Математика, Геометрия
- Медицина
- Мемлекеттік басқару
- Менеджмент
- Мұнай, Газ
- Мұрағат ісі
- Мәдениеттану
- ОБЖ (Основы безопасности жизнедеятельности)
- Педагогика
- Полиграфия
- Психология
- Салық
- Саясаттану
- Сақтандыру
- Сертификаттау, стандарттау
- Социология, Демография
- Спорт
- Статистика
- Тілтану, Филология
- Тарихи тұлғалар
- Тау-кен ісі
- Транспорт
- Туризм
- Физика
- Философия
- Халықаралық қатынастар
- Химия
- Экология, Қоршаған ортаны қорғау
- Экономика
- Экономикалық география
- Электротехника
- Қазақстан тарихы
- Қаржы
- Құрылыс
- Құқық, Криминалистика
- Әдебиет
- Өнер, музыка
- Өнеркәсіп, Өндіріс
Қазақ тілінде жазылған рефераттар, курстық жұмыстар, дипломдық жұмыстар бойынша біздің қор #1 болып табылады.

Ақпарат
Қосымша
Email: info@stud.kz