Біржақты баспа плата


Мазмұны
Кіріспе . . 3
- Біржақты баспа плата 4
- Қатты фольгирленген негізіндегі ББП. 7
- Қатты фольгирленбеген негізіндегі ББП 8
4. Біржақты баспа платасын дайындаудағы технологиялық мүмкіндіктер… . . . 9
Қорытынды10
Пайдаланылған әдебиеттер тізімі . . . 11
Кіріспе
Баспа платалар ЭВМ- ның техникалық прогрессінде ерекше орын алады. Олар адамның әр түрлі өндірістерде, инженерлік зеттреуде, автоматты басқаруда және т. б. жұмысын жеңілдетеді. ЭВМ- ның қазіргі заманғы өндірісі мынадай этаптарға байланысты: көп мөлшерде стандартты элементтерді қолдану. Бұл элементтердің көп саның және жоғары сапамен шығару аспап жасаудың негізгі талабы болып табылады.
Жинау және монтажды жұмыстарда көп еңбек ету, оның байланыс сандарының және оларды орындауының қиындағын көрсетеді.
Баспа платасын дайындаудағы негізгі бағыт жобалаудың ЭВМ-мен автоматтандырылған әдісі болып табылады. Ол дайындаудың уақытын үнемдейді және жұмысты жеңілдетеді.
1 Біржақты баспа плата
Біржақты БП артықшылығы оның қарапайымдылығы және дайындау бағасының арзандылығы болып келеді. Ал кемшілігі трассировкасы төмен, кең өткізгіштердің біржақты орналасуы және олардың ара қашықтығы жоғары болуында. Сондықтан, жоғары функционалды қиындығы бар ЭРБ-ді біржақты БП- сына орналастырылуы қолайсыз болып келеді.
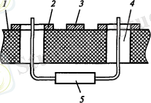
Біржақты БП конструкциясы 1-cуретте көрсетілген.
1-сурет. Біржақты БП: 1- диэлектрлік қоршау; 2- контактілі аймақ; 3- баспа өткізгіш; 4- тесік; 5- ЭРБ
Біржақты БП фольгирленген және фольгирленбеген қатты және иілгіш диэлектриктерде дайындалады. 2- сурет.
2-сурет. ББП классификациясы
ББП дүние жүзіндегі шығарылып жатқан платалардың ерекше бөлшегі болып табылады. Өткен онжылдықта АҚШ-та барлық өндірілген платалардың 70%-ін құрады. Ұлыбританияда олардың өндірілу төрттен бір бөлігін құрады.
Біржақты БП дайындау маршруты: тесу, фотолитография, мысты фольгамен өңдеу, бетті қорғау және пісіруге дайындау, дайындамаларды бөлу. Біржақты БП бағасы екіжақты БП-дан 0, 1 - 0, 2-ін құрайды. Сондықтан, ББП бәсекелесе алады, әсіресе тұрмыстық электроникада. Мынаны ескереміз, қазіргі заманғы электронды құрылғыларға ББП контур бойынша фрезирленген, яғни, олардың жиналуы кристалдардың платаға немесе беткі монтаж болу керек. Мысалы, сандық спидометр- таулы велосипедтің альтиметрінде қолданылатын ББП оң жақта көрсетілген.
Платаның типті параметрлері:
- Дайындаманың максимал өлшемі - 400 мм x 330 мм
- Тесіктің минималды диаметрі - 0, 6 мм
- Өткізгіштің минималды ені - 0, 15 мм
- Минималды зазор - 0, 15 мм
- Фольганың қалындығы - 36 мкм
- Платаның қалындығы - 0, 4 - 1, 6 мм
ББП альтернативті фотохимиялық әдіспен дайындау ББП-сын екікоординатты фрезерлы станоктарда мысты фольгада өткізгіш қабатты фрезерлеу болып табылады. Бұл әдіс үлгілерді дайындауда эффективті болып келеді. Бұл жағдайда жобалаушыға 1, 5 - 2 сағатта үлгіні алуды болады.
Біржақты ИБП олардың динамикалық иілгіштігі жақсы болады. Бұл платалардың контактілі аймақтары бір жағында орналасқан, өткізгіш фольга материалы ретінде мыс қолданылады.
Біржақты ИБП екіжақты рұқсатпен бір өткізгіш қабаты бар, оған контактілі аймақтары екі жағында да бар.

- Қатты фольгирленген негізіндегі ББП
Қатты фольгирленген негізіндегі ББП негізгі сипаттамалары және дайындауы 1-кестеде көрсетілген.
1-кесте. Қатты фольгирленген негізіндегі ББП негізгі сипаттамалары
Фольгирленген гетинакс ГФ-1
Фольгирленген стеклотекстолит СФ-1
Қатты фольгирленген негізіндегі ББП дайындаудағы негізгі әдістер:
- Химиялық негативті
- Химиялық позитивті
3 Қатты фольгирленбеген негізіндегі ББП
Ең бір қарапайым және арзан қатты фольгирленбеген диэлектрикте ББП дайындау активті паста қолданылатын әдіспен жүргізіледі. Олар асыл емес металл негізінде жасалады. Оларды суретке қатысты диэлектрикке селективно сеткографикалық әдіспен жағады. Сосын, суреттің металлизациясын жасайды, яғни нәтижесінде активті пастаны мысқа ауыстырады, содан көпқабатты химиялық мыстау болады. ББП 1 және 2 дәлдік классы арқылы алады. Оларды тұрмыс техникада қолданады. Қатты фольгирленбеген негізіндегі ББП негізгі сипаттамалары және дайындауы 1-кестеде көрсетілген.
1-кесте. Қатты фольгирленбеген негізіндегі ББП негізгі сипаттамалары
4 ББП дайындаудағы технологиялық мүмкіндіктер:
... жалғасы- Іс жүргізу
- Автоматтандыру, Техника
- Алғашқы әскери дайындық
- Астрономия
- Ауыл шаруашылығы
- Банк ісі
- Бизнесті бағалау
- Биология
- Бухгалтерлік іс
- Валеология
- Ветеринария
- География
- Геология, Геофизика, Геодезия
- Дін
- Ет, сүт, шарап өнімдері
- Жалпы тарих
- Жер кадастрі, Жылжымайтын мүлік
- Журналистика
- Информатика
- Кеден ісі
- Маркетинг
- Математика, Геометрия
- Медицина
- Мемлекеттік басқару
- Менеджмент
- Мұнай, Газ
- Мұрағат ісі
- Мәдениеттану
- ОБЖ (Основы безопасности жизнедеятельности)
- Педагогика
- Полиграфия
- Психология
- Салық
- Саясаттану
- Сақтандыру
- Сертификаттау, стандарттау
- Социология, Демография
- Спорт
- Статистика
- Тілтану, Филология
- Тарихи тұлғалар
- Тау-кен ісі
- Транспорт
- Туризм
- Физика
- Философия
- Халықаралық қатынастар
- Химия
- Экология, Қоршаған ортаны қорғау
- Экономика
- Экономикалық география
- Электротехника
- Қазақстан тарихы
- Қаржы
- Құрылыс
- Құқық, Криминалистика
- Әдебиет
- Өнер, музыка
- Өнеркәсіп, Өндіріс
Қазақ тілінде жазылған рефераттар, курстық жұмыстар, дипломдық жұмыстар бойынша біздің қор #1 болып табылады.

Ақпарат
Қосымша
Email: info@stud.kz