Тұрақты ток тізбегінде магниттік күшейткішті қолдану


Тұрақты ток тізбегінде магниттік күшейткішті қолдану.
Айнымалы ток дросселиндегі индүктівті кедергіні, тұрақты токты магниттеу арқылы өзгерту процессі, магниттік күшейткіш жұмысына негізделген. Қарапайым магниттік күшейткіш тізбегі 1-суретте көрсетілген. Екі орадан құрастырылған магниттік өткізгішке айнымалы токта жұмыс істейтін Wp -орамы орналастырылған, ол Zn -жүктемесіжоғары желіге бір келкі қосылған. Тұрақты ток Wу -орамы екі өзекшені өз құрсауына алады. Сондықтан мұнда айнымалы магниттік ағын екінші реттік орамасын қиып өтіп онда ЭҚК индукциялайды. Жұмыс істейтін орамдан өтуші ток күші:
In = U/Zp+Zn 1. 0
Мұндағы, U-айнымалы ток желісіндегі кернеу.
Zp =
Бұл жұмыс істейтін орамдың кедергісі.
Мұндағы, R-орамдың актів кедергісі,
WL-дроссельдің жұмыс істеуші орамдың индүктівті кедергісі.
Жұмыс істеуші орамдың индүктівтілігі,
2. 0
Мұндағы, Wp - жұмыс істеуші орамдың,
M -өзекшенің магниттік өткізгіштігі,
S -өзекшенің көлденең қимасының ауданы,
l -күштік желінің орташа ұзындығы.
1-сурет. Қарапайым магниттік күшейткіш тізбегі.
1а-суретте көрсетилген тізбекте, Wос -орам, В -ажратқыш (қайтымды және сыртқы байланысты жүктемелі тогы мен теңестіреді) . Қайтымды байланыс, магниттік күшейткіштің коэффициентін жоғарлатады, ол бос жүріс тогын томендетеді. 2-суретте магниттік өткізгіш М - және индүктивтигі L - мен дроссель өзекшесінің Iу - магниттік жоғары тоққа байланысты қатынасы көрсетилген. Бастапқы Wу -орамында тұрақты токты өзгетрсек, дроссельде индуктивти кедергі мен жүктемеде ток күшін ауыстыруға болады.
1б-суретте көрсетилген тізбекте қайтымды және сыртқы байланысты Во. с -ажратқышы арқалы орындауға болады.
3-суретте магниттік күшейткіштің өзгеру қисығы көрсетилген, ол дегеніміз байланысы.
In=f(Iy)
In -ток күші амперметр көрсеткіші бойынша берілген, ал Iy -милламперметр. Бастапқы тізбекте қуатты үнемдесек, жүктеме кезінде үлкен құатты қолдансақ болады. Жоғарыда қарастырылған қарапайым тізбектер ось ордината бойынша симметриялық көрсеткіш түрінде болады 3-суретте. Бұл қарастырылған күшейткіштердің сезгіштік қасиеті төмен болады, магниттік ток бағытына қарай. Бұл күшейткіштер біртактлы деп аталады.
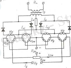
Магниттелген ток полюси арқылы, 180-градусқа күшейткіштің жүктелі ток фазасы ығысу үшін, оған тағы бір Wс. м -магниттелген орам енгізіледі. Бұл күшейткіштер екітактлы деп аталады. Ол негізінде дифференциалдық тізбек арқылы қосылады 4-суретте. Екітактлы күшейткішті басқару көрсеткіші 4б-суретте көрсетилген.
2-сурет. Магниттік өткізгіштің байланысы. 3сурет. Магниттік күшейткіштің
А-индуктівті, В-магниттелген ток қисығы.
Қуаттың кушею коэффициентін мына теңдікпен жазуға болады.
3. 0
Мұндағы, Ry -бастапқы орамдың активти кедергісі,
F -желінің ток жиілігі.
4-сурет. Екітактлы магниттік күшейткіштің тізбегі.
Күшейткіштің тұрақтты уақыты,
4. 0
Тұрақтты уақыт пен магниттік күшейткіш инерттигін, күшейткіштің коэффициентін жоғарлату арқылы үлкейтуге болады. Бірақ оның айнымалы ток жиілігін жоғарлатқан соң төмендейді. Электростанцияның элетір желі тізбегінде инерттикті томендету үшін, жиілігі жоғары магниттік күшейткіш қолданады. Ол элетір тогын, жиілік түзеткішінен қабылдайды. Сондықтан әр уақытта бір ғана күшейткіштің орнына, каскад қолданады. Ол бастапқы күшейткішпен, аралық күшейткіштен құрастырылған. Каскад желіге тізьектей жалғанады. Қуат күшейткіштің кушею коэффициентін,
Кр=3000/5000
Осы теңдіктен жазуға болады, тек бір каскадта. МУ-Д тұрақты ток қозғалтқышының, магнитті күшейткіштің элетір желісін 20-25квт жұмыс істейтін қозғалтқышта қолданұға болады.
Үлкен қуат кезінде қозғалтқыштың кемтіктері пайда болады. Олар, жоғары инерттик, үлкен көлем мен ауырлық және ПЭК -тің төмендігі. Экскаватор және шахтаның Г-Д мен МУ элетір желісінің жүесін, генератор арқылы қоздырылатын орам тогының магниттік күшейткіші қамтамасыз етеді. Сонымен бірге, ол генератордың кернеуін тузету үлкен роль ойнайды. МУ-Д жүесі бойынша құрастырылған тұрақты ток элетір желісі 5 -суретте көрсетілген.
Кәзіргі уақытта ПМУ мен ПМУ-П жүйесі көп көлемде істетілуде. Олар 1ден 10 квт қуатты магнитті күшейткіштен құрастырылған. Жылдамдықты түзету диапазоны 6/100 аймағында. Бұл түрдегі жүйелер, темир кесүші қондырғылардың желісінде маңызды орын алады.
Бұл КУВ-Д жүесі тұрақты токтың электір желісіндегі реверсивті тиристордың тізбегі. Бұл электростанциялар жүесі мен темір кескіш және дәнекерлеүші қондырғылардың арнайы жүйелерінде кең аумақты тізбегінде қолданады. Арнайы жүйелерінде дамып үлкен сұранысқа табысты болып келеді.
... жалғасы- Іс жүргізу
- Автоматтандыру, Техника
- Алғашқы әскери дайындық
- Астрономия
- Ауыл шаруашылығы
- Банк ісі
- Бизнесті бағалау
- Биология
- Бухгалтерлік іс
- Валеология
- Ветеринария
- География
- Геология, Геофизика, Геодезия
- Дін
- Ет, сүт, шарап өнімдері
- Жалпы тарих
- Жер кадастрі, Жылжымайтын мүлік
- Журналистика
- Информатика
- Кеден ісі
- Маркетинг
- Математика, Геометрия
- Медицина
- Мемлекеттік басқару
- Менеджмент
- Мұнай, Газ
- Мұрағат ісі
- Мәдениеттану
- ОБЖ (Основы безопасности жизнедеятельности)
- Педагогика
- Полиграфия
- Психология
- Салық
- Саясаттану
- Сақтандыру
- Сертификаттау, стандарттау
- Социология, Демография
- Спорт
- Статистика
- Тілтану, Филология
- Тарихи тұлғалар
- Тау-кен ісі
- Транспорт
- Туризм
- Физика
- Философия
- Халықаралық қатынастар
- Химия
- Экология, Қоршаған ортаны қорғау
- Экономика
- Экономикалық география
- Электротехника
- Қазақстан тарихы
- Қаржы
- Құрылыс
- Құқық, Криминалистика
- Әдебиет
- Өнер, музыка
- Өнеркәсіп, Өндіріс
Қазақ тілінде жазылған рефераттар, курстық жұмыстар, дипломдық жұмыстар бойынша біздің қор #1 болып табылады.

Ақпарат
Қосымша
Email: info@stud.kz