Бетон қоспасын тығыздауға арналған машиналар мен жабдықтардың классификациясы және оларға жалпы сипаттама


МАЗМҰНЫ
Кіріспе
Қазіргі заманғы құрылыс саласын бетонсыз түсіндіру мүмкін емес. Құрылыс саласының дамуындағы ең маңызды құрылыс материалының бірі болып табылады. Сонымен бірге, бетон - ең күрделі композициялық бірден-бір құрамды материал. Бетон көптеген жағдайларда пайдаланылады, және шектеусіз шикізат базасы мен салыстырмалы арзан бағасымен ерекшеленеді.
Бетон (французша: bton, лат. bіtumen - тау шайыры), құйматас - жасанды тас материал; байластырғыш заттар (цемент, гипс, алебастр, әктас, т. б. ), су (кейде сусыз) және толтырғыш материалдар (құм, малтатас, қиыршықтас , т. б. ), кейде арнайы үстеме заттар қоспасының қатаюы нәтижесінде алынады; маңызды құрылыс материалы. Қоспа қалыпқа құйылғанға дейін бетон қоспасы деп аталады.
Бетон қоспасының ең маңызды қасиетінің бірі - өз массасының өзіне және жүктеме әсерінен пластикалық жайылуға икемді болуы. Бұл қасиет - бетон қоспасынан әр түрлі бұйымдарды дайындауды жеңілдетеді және бетонды тығыздауда түрлі әдістерді қолдануға мүмкіндік береді.
Виброқысу(вибропрессование) - бұл жартылай құрғақ(қатты) бетон қоспасын тығыздаудың әдісі, бұл жерде қоспа пресс қалыпта дірілдету күшімен төменге қарай түсіріледі немесе пресс қалыптың қапталдан бір уақытта жоғарға қысым беру арқылы жҥргізіледі. Бұл жай ғана динамикалық жүктеу болуы мүмкін. Біз дірілдетіп престеуді(қысу) айтқанда, әр түрлі құралымдарда дірілдету престерін пайдаланғанда олардың қуаты мен қызметіне түсінік береміз. Бұл әдіс жоғарғы өнімділікті, жоғары механикаландырылған және автоматтандырылған, сонымен бірге қатты бетон қоспасын(қаттылығы 30с және одан жоғары) пайдалануға мүмкіндік беріп, бетон бұйымдарының жоғары беріктігі(М 100 және одан жоғары) және аязғатӛзімділігін(МР3 200 және одан кӛп цикл) қамтамасыз етеді.
Дірілдете құю - бетон қоспасын қалыпқа салып дірілдету үстелінде тығыздалады, аз өнімді, автоматтандыру мүмкіндігі аз болғандықтан көп жағдайда қымбат қол күшін қажет етеді. Суцемент қатынасың жоғры болуына байланысты бұйымның аязғатөзімділігі азаяды, соған байланысты қоспадағы цемент көлемін арттырып, қымбат модификаторлар және пластификаторлар қосып, өзіндік қҧнын едәуір жоғарлатамыз.
Дірілді прокат - бетон қоспасын бір уақытта немесе біріңғай ретпен дірілдете отырып, валка мен прокатка діріл беріп, бетонның беріктігі мен тығыздығын жоғарлату мақсатына арналған әдістің бірі болып табылады. Бҧл кезде сығылуда бетонның тығыздығы 1%-ға, ал беріктігі 5%-ға артады.
Дірілді тегістеу - бетон қоспасын немес топырақтың бетін тығыздайды. Дірілдеткіштің жұмысшы бөлігі топырақтан үздікті тербеліп, соғу арқылы тығыздап тегістейді. Бұл жағдайда топырақ қағып-сілкіліп, құрамындағы су еркін бетке өтіп, содан келіп топырақтың сыртқы күшке қарсыласуы төмендейді. Дірілдетіп тығыздаудың көптҥрлігімен, осы әдісті ауыстыра отырып, катокпен тығыздау да жасалады, бұл кезде тығыздау вертикалды тербелумен жүреді. Тығыздаудың техникалық және экономикалық жағынан неғұрлым тиімді түрі дірілдету болып табылады.
1 Бетон қоспасын тығыздауға арналған машиналар мен жабдықтардың классификациясы және оларға жалпы сипаттама.
Бетон қоспасын тығыздап және тегістеу үшін жиілік ауытқуы(әдетте 3000-ға дейін, бірақ кей кезде минутына 15000 -ға дейін ) және амлпитуда ауытқуы 0, 1-3 мм аралығындағы дірілдеткіштер қолданылады. Дірілдеткіштер мынандай түрде ажыратады: беткі, ішкі, сыртқы, станокты.
Дірілдеткіштің негізгі мынадай дірілдек элементтерден тұрады: электромеханикалық, электромагниттік, пневаматикалық.
Бетон қоспасын тығыздауға арналған дірілдеткіштер классификациясының сұлбасы
Құрылыста айналмалы тербелісі бар электрлік және пневматикалық ішкі және беткі дірілдеткіштер кеңінен қолданылады. Электрік дірілдеткішпен салыстырғанда пневматикалық дірілдеткіш сирек қолданылады, себебі олар компрессорлы орнатуды қажет етеді және жұмыс кезінде шу шығарады. Электрлік дірілдеткіш моделдер индексінде әріптермен белгіленеді-ИВ, пневматикалық-ВП. Әрбір дірілдеткіш жүргізу күші, статикалық момент дебалансы, жиілгі мен амплитудалық ауытқуы бойынша сипатталады.
Электромеханикалық дірілдек элементтер бір білікті, екі білікті, маятникті және планетарлы болуы мүмкін. Бір білікті элементте (1-сурет) электродвигатель білігі (3) дебалансқа (1, 2) бекітілген, соның айналу әсері дірілдетуге әкеліп соғады. Элементтің жұмыс кернеуі 36 В.
1-сурет.
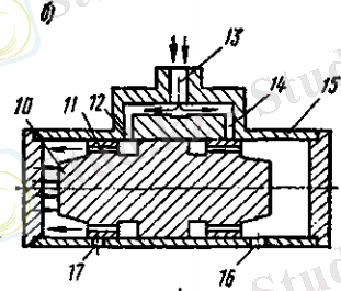
Электромагниттік дірілдек элементтер (2-сурет) 7 негізі бар біліктен (5) және электромагниттік катушкадан (6), якорьдан (4), пружинадан (9) тұрады. Электромагнитік катушканың қорек тізбегіне айналмалы токты тұрақты жүріп тұрған токқа айналдыратын селенді (күкірт қышқылынан шығарылатын сұрғылт қара металлоид) түзеткіш қосылған 8. Электромагниттік күш әсерінен якорь білікке секундына 50 рет тартылады.
2-сурет.
Пневматикалық дірілдек элементтер (3-сурет) поршенді және планетарлы болып бөлінеді. Поршенді элементте ауытқу поршенді қайта-қайта қозғалу (10) нәтижесінде корпус ішінде (15) пайда болады. Сығылған ауа цилиндрдің сол жақ бөлігіне құбыр желісі (13), жіберуші канал (12), қайта шығарылу каналы (11) арқылы түседі де, поршенді оң жақ бөлікке жылжытады. Цилиндрдің оң жағындағы ауа сыртқа шығарылатын канал (16) арқылы шығады. Поршень ортаңғы жағдайдан өтіп, (16) және (12) каналдарды жабады да, (14) және (17) каналдарды ашады. Осылайша, сығылған ауа цилиндрдің оң жақ бөлігіне келіп түседі де, поршенді солға қарай жылжытады.
3-сурет.
Пневматикалық планетарлы дірілдек элементтер (4-сурет) қабырғасына қозғалмалы ось (20) пен текстолитті қалақша (19) және айналмалы ротор-дебаланс бекітілген, корпустан (21) тұрады. Қалақша камераны екі бөлікке бөледі: жұмысшы және пайдаланылған қуыс.
4-сурет.
Ішкі дірілдеткіштер(тереңдік) бетон қоспасы арматураланға құрылыста пайдаланғанда қолданылады. Арматура өзекшелерінің арасындағы қашықтықтан, дірілдеткіштің жұмыс бөлігінің диаметрі 1, 5 есе кем болу керек. Ішкі электромеханикалық дірілдеткіштер орнатылған электрқозғалтқышты (булава) , жүктелген электрқозғалтқышты және иілгіш валды болып жіктеледі.
Орнатылған электрқозғаушысы бар ішкі (тереңдік) қолдық дебалансты электромеханикалық дірілдеткіш-шоқпар(булава) бірыңғай конструктивті сұлбадан тұрады (5-сурет) .
5-сурет.
Дірілдеткіш-шоқпар корпусы ішінде электроқозғаушы мен дебалансты дірілдеткіш механизмі орналасқан геометриялық жабық болат цилиндрден тұрады. Корпусқа жоғарыдан түтікті штангасы бар қақпақ бұрамдалған. Ол жұмысшы қолын дірілдеткіштің қиянды әсерінен қорғайтын резеңке амортизаторды орнату мақсатында екі бөлікке кесілген. Қозғаушыға қуат түтікті штангыда орналасқан электрокабельмен әкелінеді.
Иілгіш валы және шығарылған қозғалтқышы бар ішкі (тереңдік) дірілдеткіш (6-сурет) қысқа тұйықталған роторы бар асинхронды элеткроқозғаушыдан, иілгіш валдан және тербелістің ауыспалы қоздырушыларынан тұрады. Сырқы үрлеу арқылы салқындатылатын электроқозғаушы (электродвигатель с охлаждением наружным обдувом) табақ тәрізді формалы подставкаға орнатылған. Айналу электроқозғаушының валынан дәнекер муфта арқылы корпус-ұшының подшипнигінде орнатылған аралық валға беріледі.
6-сурет
Беттік (алаңдық) дірілдеткіштер тербелісті төселген бетон массасына табақ тәрізді тіктөртбұрышты плита-алаң арқылы береді (7-сурет) . Оларды жабындарды, едендерді, сводтарды және қалыңдығы 0, 25 мм-ден аспайтын басқа конструкцияларды бетондау кезінде қолданады. Беттік дірілдеткіштердің дірілдеткіш-қоздырғыштары ретінде жалпы мақсаттағы шеңбер тербелісті және орнатылған электроқозғаушысы бар дебалансты дірілдеткіштерді қолданады. Беттік дірілдеткіштерге, сонымен қатар, валдармен өзара байланысқан бірнеше дірілдеткіш қоздырғыштарды орнататын негізі әлдеқайда ұзын болатын дірілдеткіш рейкалар (виброрейка) жатады.
7-сурет
Сыртқы дірілдеткіштер (8-сурет) тығыздалатын қоспа тербелісін шегендеп бекіту (опалубка) немесе арнайы бекіту құрылғылары арқылы сырт жағынан бекітілетін форма арқылы беріледі. Мұндай дірілдеткіштерді жұқа тығыз армирленген конструкцияларды бетондау кезінде, зауыт жағдайында жиналмалы темір бетонды элементтерді дайындау кезінде, шашылатын (сыпучие) және тұтқыр (вязкая) материалдарды түсіруге түрткі болу үшін қолданады.
8-сурет.
Тереңдік және беттік дірілдеткіштердің техникалық сипаттамалары
Алаң
550*950 мм
Дірілдеткіштің түрін бетондалатын конструкцияның сипатына және оны армирлеу дәрежесіне қарай, сонымен қатар, төсеу жағдайы мен бетон қоспасының консистенциясына байланысты тағайындайды. Бетондық қоспаны төсеу мен тығыздауды қалыңдығы дірілдеткіштің сипаттамаларымен келісілген қабатпен жүргізеді. Осылайша, қолдық тереңдік дірілдеткішпен тығыздалатын қабат қалыңдығы жұмыс мүшесінің (дірілдеткіш-ұшынаның) ұзындығынан 1, 25 аспау керек. Беттік дірілдеткіш үшін ИВ-91А бірқатарлы армирлеу кезінде шектік қабат қалыңдығы - 25 мм, ал екі қатарлы кезінде - 12 см.
2 Бетон қоспасын тығыздауға арналған машиналар мен жабдықтардың негізгі механизміне сипаттамасы, сұлбасы.
3 Бетон қоспасын тығыздауға арналған машиналар мен жабдықтардың өнімділігін анықтау.
3. 1 Бетон қоспасын тығыздауға арналған машиналар мен жабдықтардың өнімділігін анықтау.
Өнімділік - тасымалдау машинасымен немесе қондырғысымен уақыт 12 бірлігінде тасымалданатын жүктің мөлшерін айтады. Өнімділік массалық (Q, т/мин, т/сағ және т. б. ) немесе көлемдік (V, м3 /мин, м3 /сағ және т. б. ) бірлікте өрнектеледі. Бұл екі өнімділік бір-бірімен мынадай қатынаста байланыста болады
Q=γ·V, т/сағ
Техникалық өнімділік машинаның 1 сағаттағы үздіксіз жұмысын сипаттайды, бірақ жүктің нақты салмағын машинамен тасымалдағанда есепке алғандағысы.
Техникалық өнімділік машинаны немесе құрылғыны нақты тиеуде белгілі бір жүкті, белгілі бір жерде қолдануға баға береді. Ол эксплуатациялық өнімділікте қолдануда анықталады, және де машина мен құрылымды белгілі бір дәрежеде қолдануына баға береді.
3. 2 Бетон қоспасын тығыздауға арналған машиналар мен жабдықтардың эксплуатациялық өнімділігін анықтау
Эксплуатациялық өнімділік машинаның белгілі бір жүкті тиеуде қолдануда және қолдану уақытын ескереді және тиеу - түсіру жұмыстарында механизация мен автоматизация проектін зерттеуде негізгі болып қызмет етеді, және де өнімділік нормасы.
Эксплуатациялық өнімділік 1 сағат жұмысымен, кезекпен, 1 айлықпен, 1 ширекпен, 1 жылмен анықталады.
Ішкі дірілдеткіштің техникалық өнімділігі мынандай формула бойынша анықталады:
П т = 3600πR 2 Hk n /(t 1 + t 2 )
мұндағы:
R=(5…6) D H - дірілдеткіштің әрекет радиусы, м;
D H - дірілдеткіштің жұмыс бөлігінің диаметрі, м;
Н - анықталып жатқан бетон қоспасының қалыңдығы, м;
k n - дірілдетілген аймақтың жабу коэффициенті (k n =0, 7) ;
t 1 - дірілдеткіштің бір позициядағы тиімді ұзақтығы;
t 2 - дірілдеткіштің бір позициядан екінші позицияға ауысы уақыты.
Техникалық өнімділікті есептеген кезде, қалыңдықты мына формуламен анықтау ұсынылады:
H = L p - (0, 05…0, 1)
L p - вибратордың жұмыс бөлігінің ұзындығы, м.
Ішкі дірілдеткіштің эксплуатациялық өнімділігі мына формула бойынша анықталады:
П Э = K Э П т
мұндағы:
K Э - ауысым уақыты бойынша, дірілдеткішті ауыстыру кезінде қолданылатын коэффициент.
Есеп.
Берілгені: L p = 412мм = 0, 412м;
R = 250мм = 0, 25м.
H = 0, 412 - 0, 1=0, 312м
П т = 3600×3, 14×(0, 25) 2 ×0, 312×0, 7/ 20+15= 4, 4
П Э = 0, 85×4, 4 = 3, 74м 3 /ауысым.
4 Бетон қоспасын тығыздауға арналған машиналар мен жабдықтарды қолдану кезіндегі қауіпсіздік ережелері.
Шығыранмен жұмыс істеу кезіндегі техника қауіпсіздік ережесін сақтау ұйымдары СН және ПШ-4-80 нормаларына сәйкес іске асырылуы керек. ГОСТ 12. 0. 004. 79 жүк көтергіш шығырынның құрылыс ережесі мен қауіпсіз пайдаланылуы инженерлік - техникалық жұмыскерлер осы жұмысты ұйымдастырушы, автокөлік шығыранның өндірісте қауіпсіз қолдануға жауап береді.
Машина жүргізуші қауіпсіз еңбек жағдайы мен шығыранның апатсыз жұмыс істеуін, қауіпсіз техника ережесін сақтау және білу керек. Негізгі ақаулар мен техника қауіпсіздігін бұзу кезінде шығыран жұмысқа жіберілмейді:
- машинаға жауапты емес жүргізушімен және стропильщикпен қамтамасыз етілсе;
- белгілі бір адамды тағайындаған бұйрықтың жоқтығы;
- шығыранның дұрыс емес жағдайы және өндірісте жүк тасу қауіпсіздігіне жауапты адамдардың жоқтығы;
- металл құрылыстағы жинақтау бірлігі мен құрам бөліктерінде әрбәр көлемдегі сызаттардың болуы;
- алғашқы көлемінен 10 % үлкен жүк ілмегінің көлденең жоғарлылығы кемісе;
- қауіпсіздік құрылыстарының, жұмыс механизмдерінің істемей қалуы.
- Іс жүргізу
- Автоматтандыру, Техника
- Алғашқы әскери дайындық
- Астрономия
- Ауыл шаруашылығы
- Банк ісі
- Бизнесті бағалау
- Биология
- Бухгалтерлік іс
- Валеология
- Ветеринария
- География
- Геология, Геофизика, Геодезия
- Дін
- Ет, сүт, шарап өнімдері
- Жалпы тарих
- Жер кадастрі, Жылжымайтын мүлік
- Журналистика
- Информатика
- Кеден ісі
- Маркетинг
- Математика, Геометрия
- Медицина
- Мемлекеттік басқару
- Менеджмент
- Мұнай, Газ
- Мұрағат ісі
- Мәдениеттану
- ОБЖ (Основы безопасности жизнедеятельности)
- Педагогика
- Полиграфия
- Психология
- Салық
- Саясаттану
- Сақтандыру
- Сертификаттау, стандарттау
- Социология, Демография
- Спорт
- Статистика
- Тілтану, Филология
- Тарихи тұлғалар
- Тау-кен ісі
- Транспорт
- Туризм
- Физика
- Философия
- Халықаралық қатынастар
- Химия
- Экология, Қоршаған ортаны қорғау
- Экономика
- Экономикалық география
- Электротехника
- Қазақстан тарихы
- Қаржы
- Құрылыс
- Құқық, Криминалистика
- Әдебиет
- Өнер, музыка
- Өнеркәсіп, Өндіріс
Қазақ тілінде жазылған рефераттар, курстық жұмыстар, дипломдық жұмыстар бойынша біздің қор #1 болып табылады.

Ақпарат
Қосымша
Email: info@stud.kz