Дизельді қозғалтқыштардың қоректендіру жүйесі


Қазақстан Республикасының Білім және ғылым министрлігі
Қарағанды Мемлекеттік техникалық университеті
РЕФЕРАТ
Тақырыбы: Дизельді қозғалтқыштардың қоректендіру жүйесі
Орындаған: ПО-14-1тобының студенті
Есекенова Қарлығаш
Тексерген: Жұмабеков Айдар Темиргалиевич
Қарағанды 2016 ж.
Жоспар
Кіріспе
Қозғалтқыштардың қоректендіру жүйесі жану қоспасын дайындау қызметін атқарады. Ал жану қоспасы деп жанар май мен ауаның араласқан қоспасын айтады. Ондай қоспаның құрамы, двигательдің жұмыс істеу жағдайына байланысты әртүрлі болуға тиіс.
Қоректендіру жүйесі осындай талаптарға сай келетін жану қоспасын дайындайды.
Қозғалтқыштардың қоректендіру жүйесін шартты түрде үш бөлікке бөлуге болады. Олардың бірінші бөлігі жанар маймен, екіншісі ауамен, ал үшіншісі жанған газы сыртқа шығаратын бөліктер.
Қозғалтқыштарда жанар май үшін көбінесе мұнайдан алынған ең жеңіл және тез буланатын қоспаларынан жасалған бензин қолданылады. Қозғалтқыштардың жұмысы кезінде негізгі ақуларының біріне детонация құбылысын жатқызуға болады. Бензин мен ауа қоспасы қопарылыс тәрізді өте тез жануын детонация деп атайды [6] .
Дизельді қозғалтқыштардың қоректендіру жүйесінде сырттан цилиндрге таза ауа сорылады, ал жану қоспасы цилиндрдің ішінде жасалады. Ол үшін цилиндр ішіне, дер кезінде жанар май бүркіп шашылады да ондағы ауамен араласып, жану қоспасын құрайды.
Дизельді қозғалтқыштардың тағы бір ерекшелігі, жану қоспасы цилиндр ішінде өздігінен, қосылған ауа температурасының көмегімен тұтанады, Сондықтанда жанар майды цилиндр ішіне қысу процесінің соңында бүркіп береді.
Сору помпасы арқылы насосқа жеткізілетін жанар май мөлшері автоматты түрде өзгереді. Сору помпасының қалыпты өнімділігі - 1, 5 л/мин, жанар май жеткізу қысымы - 0, 15 МПа.
Дизельді қозғалтқыштардағы негігі құралға жоғарғы қысымды насос пен форсунка жатады.
Дизельді қозғалтқыштарда жанар май мөлшерін өзгерту арқылы жану қоспасының сапасын өзгертуді, арнаулы реттегіш арқылы іске асырады, яғни автомобильді жүргізуші тікелей жанар май насосына әсер етпей, реттегіш арқылы жанар майды мөлшерлеп отырады. Қоректендіру жүйесінің ең жиі кездесетін ақаулары: дизель қозғалтқыштарының жанар май жүйесіне ауа енуі; жанар май өткізгіштердің және сүзгілердің ластануы; құрамы сәйкес келмейтін жанғыш қоспа түзілуі; жанар майдың форсункамен тозаңдану кезінде сапасы бұзылуы және жоғары қысымды насоста жанар май берілудің басталу бұрышының өзгеруі. Мұндай ақаулар болған жағдайда қозғалтқыш от алмайды, толық қуатын үдете алмай үзіліспен жұмыс істейді, түтіндеп немесе кенеттен тоқтап қалады.
- Дизельді қозғалтқыштың жалпы құрылысы
Қозғалтқыш бірқалыпты жұмыс істеуі үшін цилиндрлерге жанғыш қоспа белгілі пропорцияда (карбюраторлы двигательде) немесе отынның белгілі бір мөлшері нақты бір кезенде жоғары қысыммен (дизельді двигательде) берілуі тиіс. Үйкелісті, отын жіберуді, сызылып мұқалуды және тез тозуды болдырмау және жұмыс шығынын азайту үшін үйкелетін детальдар майланады. Цилиндрлерде қалыпты жылу режимін жасау мақсатында қозғалтқыш салқындатылады. Жоғары сығылу дәрежесі кезінде дизельді двигательді қолмен оталдыруға болмайды. Оны іске қосқыш құрылғымен жабдықтайды. Тракторларға, комбайндарға және автомобильдерге орнатылатын барлық двигательдердің конструкциялык схемасы бір типтес және де белгілі бір функцияны атқаратын механизмдер мен жүйелерден тұрады.
Кривошипты-шатунды механизм поршеньдердің тура сызықты козғалысын иінді біліктін айнымалы қозғалысына келтіреді, мұның өзі механикалық энергияның берілісі үшін, трактордың жетекші доңғалақтарын, комбайндар мен ауыл шаруашылық машиналарының жұмысшы органдарын қозғалысқа келтіруде өте қолайлы болып саналады.
Газ таратқыш механизмі клапандар жұмысын басқарады, мұның өзі поршеньдердің белгілі бір қалпында қозғалтқыш цилиндрлеріне ауа жіберуіне, оны белгілі бір қысымда сығып тұруға және цилиндрлердегі пайдаланылған газды шығаруға мүмкіндік береді.
Қоректендіру жүйесі отынның белгілі бір мөлшерін нақты бір кезеңде тозаңдатылған күйінде қозғалтқыш цилиндрлеріне беріп тұруды камтамасыз етеді.
Майлау жүйесі үйкелетін детальдарға майды үнемі беріп тұруды және ондағы қызуды қайтаруды камтамасыз етеді [7] .
Салқындату жүйесі жану камерасының кенересін катты қызудан корғайды және цилиндрлерде қалыпты жылу режимін сақтайды,
Іске қосу жүйесі дизельді двигательді жүргізген кезде иінді білікті айналдыру үшін қажет.
Двигательдердің комбайндық езгертілген түрі трактордың қуаты базалық двигательдерінен үйлестіріліп жасалған.
Өздігінен жүретін астык комбайндарының трактор двигательдерінен айырмашылығы оған қуат алу шкивтері жабдықталған. Иінді біліктің алдыңғы шетіне комбайнның жетекші доңғалағы белдігін жетекке қосатын шкив орнатылған. Бұл шкив генераторды, су насосын, желдеткішті және гидравликалық насосты жетекке косу үшін де пайдаланылады.
Иінді біліктің артқы шеті ілініс арқылы білікпен қосылған, оған комбайнның жұмыс органдарының жетек шкиві орнатылған. Жұмысшы органдардың жетегін қосатын рычаг комбайн кабинасында орналасқан.
Барлық астық жинайтын комбайндар түтікпен үрлеп толтырылатын дизельді двигательмен жабдыкталған.
Двигательді электр стартерімен немесе іске қосқыш двигательмен оталдырады.
Комбайн двигателі рамаға орнатылған, ал ол молотилка корпусына бекітілген. Молотилка корпусын қозғалтқыш дірілінен қорғайтын амортизаторларды молотилка рамасы мен корпусы аралығына («Колос») немесе қозғалтқыш тірегі мен рама аралығына («Нива») орнатады.
Автомобильдің карбюраторлы двигателінің механизмдері мен жүйелері трактордың дизельді двигателіндей, тек оның мынадай айырмашылығы бар:
- автомобиль двигателінің қоректендіру жүйесі арнайы прибор - карбюраторда жанғыш қоспа әзірлеуге және осы цилиндрлерге беруге арналған;
- карбюраторлы двигательдің цилиндрлеріндегі жұмысшы қоспаны оталдыру үшін оталдыру жүйесі орнатылған [3] .
- Дизельді қозғалтқыштардың қоректендіру жүйесі
Жанар май арқылы жүзеге асатын қоректендіру жүйесі автомобильдегі оның (жанар май) қорын жайғастыру, қозғалтқыштың жұмыс тәртібіне сәйкес жанар майды тазарту және цилиндрлерге мөлшермен бүркіп шашу үшін қажет.
Бұл жүйе (1-сурет) екі жанар майлық бактардан тұрады.
1-сурет. КамАЗ-4310 автомобилінің қоректендіру жүйесінің сызбасы: 1-жоғары қысымды жанар май сорғышы; 2-бүріккіштер (форсунки) ; 3-жанар майды тазалау сүзгіші (грубая очистка) ; 4-жанар май багы (топливный бак) ; 5-жанар май деңгейін көрсетуші тетік; 6-жанар майды тазалау сүзгіші (тонкая очистка) ; 7 - сүзгіш орнатылған мұржа; 8 - электрофакельды құрылғы шырағы; 9 - электромагнитті жанар май клапаны.
КамАЗ-4310 автомобилінің жанар май бактарының әрқайсысының көлемі 170 л. Олар автомобиль рамасының оң және сол жағында орналасқан. Бактардың әрқайсысына торлы сүзгіші бар жылжымалы мұржа орнатылған. Мұржа мойны төсемелі герметикалық қақпақпен жабылады. Бактың төменгі жағында ағызу клапаны бар. Бактағы жанар май мөлшері реостаттық құрылғы арқылы өлшенеді. Ал жанар май мөлшерін көрсететін тетік құрал-жабдықтардың қалқандарында орнатылған.
Урал-4320 автомобиліндегі бір бак сыйымдылығы 210 литрді құрайды. Ол автомобильдің сол жақ жақтауында орналасса, 60 литрлік қосалқы бак қосалқы дөңгелекті ұстауыш тетіктің ортасында орнатылған. Қосалқы бактағы жанар майды қолдану үшін ондағы жанар майды негізгі бакқа құйып, қосалқы бактың төменгі жағында орналасқан кранды ашады [11] .
2-сурет. Жанар майды тазалау сүзгісі (грубая очистка) : 1-ағызғыш тығыны; 2-стақан; 3-қалыпқа келтіргіш; 4-фильтрлеуші тор; 5-шағылдырғыш; 6-үлестіргіш; 7-болт; 8-фланец; 9-тығыздырғыш сақина; 10-корпус.
Жанар майды тазалау сүзгісі (грубая очистка) жанар май құйып алу насосына келіп түсетін жанар майды алдын ала тазалау үшін арналған. Ол КамАЗ-4310 автомобилінде раманың сол жағында, ал Урал-4320 автомобилінде он жақтағы капоттың төменгі жағында орналасқан. Сүзгіштің негізгі бөліктері (2-сурет) :корпус 10, стақан 2, қалыпқа келтіргіш 3, фильтрлеуші тор 4, үлестіргіш 6, ағызғыш тығыны 1. Жанар май жанар май багынан штуцер арқылы үлестіргішке ағып, стақанға келіп түседі. Ластаған ірі бөлшектер мен су стақанның төмегі жағында тұнып қалады. Жоғарғы жақтан тор және штуцер арқылы жанар май сырқа шығады [1] .
3-сурет. Төмен қысымды жанар май сорғышының жұмыс және А мен Б жанар май тарту қуыстарының жұмыс істеу сызбасы; 1-жанар майды басқылайтын насос поршені; 2-серіппе клапаны; 3-енгізу клапаны; 4, 5, 9-серіппелер; б-итергіш; 7-эксцентрик; 8- баспа клапаны; 10-төмен қысымды насос поршені.
Төмен қысымды жанар май насостары бактардан тазарту фильтрі арқылы жоғары қысымды насосқа жанар майды жеткізу үшін қажет. Поршень типті насос жиілік реттегіштің қақпағында орналасқан. Ол жоғары қысымды тегершікті айналдыратын вал арқылы әрекетке келтіріледі. Насос корпусында серіппелі (4) поршень (10) (3 сурет) және екі клапан: айдау клапаны (8) және енгізу клапаны орналастырылған. Поршень қайтымды ілгерілеме қозғалыс жасай алады. Яғни бұл қозғалыс бағдартқыштан (кулачок) 7 итергіш 6 және серіппелер 4 арқылы жүзеге асырылады. Поршеньді А қуысынан төмен қарай көшіргенде ыдырау пайда болады. Сол себепті клапан 3 ашылып, бактан шыққан жанар май А қуысын толтырады. Бір уақытта жанар май жоғары қысымды насосқа қарай ығысылады. Бағдартқышты (кулачок) поршень арқылы жоғары көтергенде, бастапқы клапан жабылып, А қуысындағы жанар май баспа клапаны арқылы 8 жоғары қысымды насосқа итеріліп, Б қуысын толтырады [2] .
4-сурет. Жанар майды тазалау фильтрі(тонкая очистка) : 1-ағызғыш тығыны; 2-өзек(стержень) ; 3 -стақан; 4, 6, 7 - тығыздағыш төсемшелер; 5 - сүзгіш элементі; 8- корпус; 9, 11, 12 - тығындар; 10- ағызғыш жиклер клапаны.
Жанар майды тазалау фильтрлері (тонкая очистка) жанар май жоғары қысымды насостарға түспен бұрын жанар майды толығымен тазалау үшін қажет. Фильтр қозғағыштың төменгі оң жағында орналасқан; ол барлық жүйелік құрылғылардан жоғарыда тұрады, сондықтан бактан ауаны тазалау үшін және ауамен бірге түскен жанар май қалдықтарын тазарту үшін жұмыс жасады. Фильтр корпустан 8 (4 сурет), өзегі бар (2) екі стаканнан (3) және ағызғыш клапандардан (1), ауыстырмалы екі сүзгіш элементтерден (5) және клапаннан (10) тұрады. Жанар майды тазарту арнайы қағаздан жасалынған сүзгіштік элементтерден өту арқылы жүзеге асырылады. Сүзгіштің екі секциясы да параллельді жұмыс істейді. Клапан (10) артық қысым 130 . . . 170кПа орнағанда ашылады.
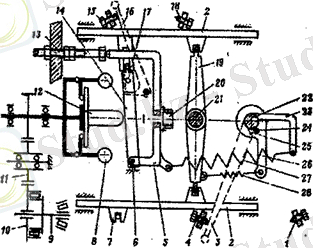
5-сурет. Жоғары қысымды жанар май насосы: 1-қалыпқа келтіргіштің артқы қақпағы; 2 - қалыпқа келтіргіштің аралық тегершігі(промежуточная шестерня) ; 3-жүк ұстағышы; 4-жүк; 5-жүк жалғастырғышы(муфта) ; 6-корректор; 7-серіппе рычагы; 8-жоғарғы қақпақ; 9-редукциялық қақпақ; 10-рейка; 11-жанар май бүріккіш жалғастырғышы; 12-жұдырықшалы білік (кулачковый вал) ; 13 - қалыпқа келтіргіштің рейка (ведущая шестерня регулятора) ; 14-сухарь; 15-фланец.
Жоғары қысымды жанар май насосы (5 сурет) жанар майды әрбір цилиндрге қатаң мөлшерде біркелкі беру үшін арналған.
Насостың жұдырықшалы білігі (12) екі дөңгелекті мойынтірек корпусында айналады. Біліктің алдынғы жағында жетек, (привод) муфта (11) орналасқан. Ал артқы жағында - реттегіш жетегінің реттемелі тегершігі 13, басты тегершік фланеці 15 және төменгі қысымды жанар май насосының эксцентригі орналасады.
Корпустың бүйір жағы ретке келтіргіш (1) қақпағымен жабылған. Онда төменгі қысымды насос орналасқан. Корпустың алдыңғы жағында қайта өткізу клапаны(13) бар. Жоғарғы жағынан насос қақпақпен (8) жабылған, онда қалыпқа келтіргішті басқаратын рычаг орналасқан. Насос корпусындағы секциялар май мен бензинге төзімді резиналармен тығыздалады [5] .
- Қоректендіру жүйесінің принципиалдық жұмыс схемасы
6-сурет. Жоғары қысымды жанар май насосының секциясы. А- айдау қуысы(полость нагнетания) ; В- бөліп алу қуысы (полость отсечки) ; 1-насос корпусы; 2- секция итергіші; 3-итергіш тірегі; 4-серіппе; 5-плунжер; 6-гильза; 7 -аудау клапаны: 8-штуцер; 9-секция корпусы; 10-кесілген жиек (отсечная кромка) ; 11-рейка; 12- бұрылмалы тығын (поворотная втулка) .
Насостың әрбір секциясы корпустан (9), гильзадан (6), плунжердан (5), бұрылмалы тығыннан(12) және аудау клапанынан (7) тұрады. Пунжер және гильза секцияның негізгі бөлшектері болып табылады. Екеуі бірігіп, плунжерлі жұп құрайды. Бұл бөлшектер жоғары нақтылықпен таңдалынып жасалады. Олардың арасындағы саңылау 0, 0015 . . . 0. 20 мм-ден аспауы тиіс. Гильза секция корпусында бүркеншіксіз шеге (штифт ) көмегімен бекітіледі. Онда екі қуыс бар: А қуысымен байланысқан жоғары кіру тесігі және Б қуысымен байланысқан төменгі кіру тесігі. Плунжердің жоғарғы жағында осьтік және диаметрлік қуыстар мен шиыршық ор бар (спиральная канава) [12] .
Гильзадағы плунжер қайтымды ілгермелі қозғалыс жасап, ось айналасында бұрылып, айнала алады. Плунжердің жоғары қарай көтерілуі секция итергіштің көмегімен және итергіш тірегі арқылы жүзеге асады. Плунжердің төмен қарай қозғалуы серіппенің көмегімен жүзеге асады. Гильзада плундердің айналуы рейка мен бұрылмалы тығын көмегімен іске асырылады.
Төменгі қысымды насостың әсерінен жанар май А қуысына келіп, ары қарай гильзадағы жоғарғы саңылау арқылы плунжерлі аймақты толтырады. Плунжер жоғарыға қозғалған кезде оның жоғарғы шеті гильзадағы кіру тесігін жауып, жанар майға деген плунжер қысымы көтеріледі. Соның салдарынан айдау клапаны ашылып, жанар май штуцердегі тесік арқылы бүріккішке келіп түседі.
Ары қарай плунжердің қысымы 180мПаға дейін жоғарылай бастайды. Сол себепті бүріккіш жану камерасына жанар майды бүркейді [10] .
Плунжердігі бұрандалмалы жырашық (винтовая канавка) төменгі тесікке келіп түскенде, плунжерасты гильзаның қысымы күрт төмендейді, баспа клапаны жабылып қалады. Бұл жанар майөткізгіш сымдардағы және бүріккіштегі қысымның төмендеуіне әкеліп соғады. Плунжер төмен қозғалғанда плунжерүсті қуыс қайта жанар маймен толығып, процесс қайталады .
Берілетін жанар майдың қаншалықты көп не аз болуы плунжердің бұрандамалы орының жағдайына байланысты. Яғни, егер гилзадағы шығу тесігі мен ось бойымен плунжердің айналуына тікелей тәуелді. Шығу тесігі қаншалықты кеш ашылса, бүріккішке соншалықты көп мөлшерде жанар май келіп түседі.
Иінді біліктің (коленчатый вал) жиілікті реттегіші берілген жиілікті сақтап тұру үшін қажет. Бұл цилиндрлердегі жанар май қорының өзгеруімен байланысты болады. Яғни, ол қозғалтқыштың қуатына байланысты жанар май мөлшерін де көбейтеді, қозғалтқыш іске қосылған кезде минималды тұрақты қалыпты сақтап, иінді біліктің айналу жиілігінің максималдылығын тежейді.
Барлық режимді (всережимный) ортадан тепкіш қалыпқа келтіргіш типі жоғары қысымды насос корпусында орналасып, насос тегершігі (шестерня) (13, 2) (5 суретті қараңыз) арқылы жұдырықшалы білік көмегімен қалыпқа келеді. Фланецтан(15) келіп түскен айналмалы беріліс (передаса вращения) рәзінкелі сухарь арқылы (14) тісті доңғалаққа бекітілген. Бұл қалыпқа келтіргішті аяқ астынан болуы мүмкін шамадан тыс күш пен қуаттан сақтайды.
7 сурет. КамАЗ -740 автомобилінің айналу жиілігі реттеуішінің сызбасы
1-қозғалтқыштың айналу жиілігін тежеу болты; 2-жанар майды беру рейкасы; 3-реттеуішті басқару рычагы; 4-айналудың минималды жиілігін тежеу болты; 5-күш рычагы; 6-рычаг осі; 7-шылбыр(поводок) ; 8-жүктер; 9- жетекші тегергіш осі; 10-жетекші тегергіш; 11-аралық тегергіш; 12-жүк муфтасы; 13- реттеуші болт; 14-реттеуші рычагы; 15- іске қосуды реттеуші болт; 16- жұмысты тоқтату рычагы; 17-штифт; 18-жұмысты тоқтату рычагы жұмысын тежеу болты; 19-рычаг рейкалары; 20-бастама серіппе рчагы; 21, 22-осьтер; 23-серіппе рычагы; 24-тірек: 25-шоқы(выступ) ; 26-бастама серіппе рычагы; 27-реттеуіш серіппесы; 28-бастама серіппе.
Реттеуіш жүк жүк көтергіштен(3), цетрден тепкіш жүкті көтергіштен(4), мойынтіректі мцфтадан (5), корректордан (6), рычагтар жүйесінен, серіппе және бөлшек желісінен тұрады. Жүк көтергіш, сонымен бірге аралық тегергіштің ілінісінде орналасқан (2) тегергішпен жасалынып, екі шарлы мойынтірек бойында айналады. Жүктер (4) ось бойында көтергішке орнатылған. Муфта(5) көтергіштің (державка) ішінде орнатылып, жүктен түскен күшті қабылдап, реттегіш рычагына (14) (7 сурет) жібереді. Бұл рычаг оське(6) жалғанып, жанар май жіберу рейкасына(2) әсер етеді. Насостың оң және сол жақ бөлімдері дұрыс жұмыс істеуі үшін рейкалар бір-бірімен рычаг(19) арқылы байланысады. Сол осьте реттеуіш серіппесімен байланысқан (6) күш рычагы (5) да орналасқан. Серіппенің екінші шеті(27) аралық бөлшектер арқылы басқару рычагы реттеуішімен (3) байланысқан. Рычаг (16) штифт(17) арқылы қозғалтқыш тоқтап қалған кезде (14) рычагқа әсер ете алады. (3) және (16) рычагтары реттеуіштің қақпағында орналасып(8
сур., 2 және 5 қараңыз), реттеуішті басқару желісі арқылы байланысады [8] .
8 сурет. КамАЗ-740 автомобилінің қозғалтқышының иінді білігінің(колечатый вал) жиілігін реттеуші қақпақ:1-максималды жиілікті тежеуші болт; 2-реттеуішті басқаратын рычаг; 3-минималды жиілікті тежеуші болт; 4-іске қосуды реттеуіш болты; 5-жұмысты тоөтату рычагы; 6- жұмысты тоқтату рычагы жұмысын тежеу болты; 1-жұмыс; П-өшіру.
Реттеуіш жұмысы келесідей. Қозғалтқышты іске қосқан кезде тоқтату рычагы (6) болтқа(4) тірелген қалпында орнатылады. 2 рычагын бұраған кезде 26 рычагы да бұралып (7 сур. қараңыз), бастапқы серіппе(28) созылады. Бастапқы серіппе 19 рычагты бұрап, рейкалардың орнын ауыстырады. Ал ол рейкалар жанар майдың келіп түсу мөлшерінің көбейіп отыруын қадағалайды. Солай бола тұра рейкалардың орны ауысуы 17 штивтің 16 рачагқа тірелуімен ғана шектеледі. Қозғалтқыш іске қосылған соң жүктер айнала бастайды. Содан соң ортадан тепкіш күш пайда болып, жүктер муфтаға(12) орын ауыстырады. Реттеуіштің кезекті ақырғы жұмысы 14 рычагқа әсер етеді. Рычаг рейкаларды (2) жаг-жаққа орналастырып, жанар майдың жіберілу мөлшерін азайтады.
Қозғалтқыштың тыныш күйіндегі жұмысы кезінде жанар майды беру педалі төмен түсіп тұрады, реттеуішті басқару рычагы болқа тіреледі(4), рычаг(14) жүк пен серіппе әсерінен теңгерілген күйде болады; рейкалар(2) жанар май келіп түсуі минималды болуын қамтамасыз етеді. Сондықтан қозғалтқыш нық жұмыс істейді.
Қозғалқыш жұмысы жүктемелік тәртіпке өткенде қажет иінді білігінің айналу жиілігі жанар майды жіберу үшін педальды басу арқылы жүзеге асырылады. Сонымен қатар реттегіш рычагы да айналып, серіппе 5 рычагқа, сол арқылы 14 рычагқа әсерін тигізеді. Ақырғысы ось бойымен (6) айналып, рейкаларды жан-жаққа орналастырып, жанар майдың келіп түсу мөлшерін арттырады. Бұдан иінді білік пен жүктердің айналу жиілігі де артады. Олардың ортадан тепкіш күші көбейіп, 14 рычаг тепе-теңдік күйіне қайта оралады, ал рейкалар педаль күйіне байланысты жанар майдың келіп түсуін қамтамасыз етеді.
Иінді білігігінң пайда болған айналу жиілігі автрматты түрде сақталады. Қозғалтқышқа түсетін салмақ қаншалықты азайса, жанар май цилиндрге де сонша мөлшерде түседі. Сондықтан иінді білік пен жүктердің айналу жиілігі артады. Жүктер муфта арқылы 14 рычагқа әсер етеді.
Егер салмақ артса, иінді білік пен жүктердің айналу жиілігі, жүктердің ортадан тепкіш күші де азаяды . 23 серіппе 14 рычагты бұрып, берілеін жанар май мөлшерін арттыру үшін рейкалар жан-жаққа орналастырылады. Сондықтан, берілген жылдамдық тәртібі қалыпқа келтіріледі.
Иінді білік айналуының максималды жиілігі рычагтың 1 болтқа тірелуімен шектеледі (8 сурет) . Бұл уақытта да 14 рычаг (8 суретті қараңыз) тепе теңдік қалыпта болады, ал рейкалар берілген жиілік бойынша жанар майдың келіп түсуін қамтамасыз етеді.
Қозғалтқыш қайта іске қосылғанда иінді біліктің айналу жиілігі төмендеп, ал жүктердің ортадан тепкіш күші де азаяды. Корректордың сығымдалған серіппесі (20) рычагты (14) муфта (12) жағына ығыстырады. Рейкалар қосымша бағыт алып, жанар майдың көп мөлшерде келәп түсуін қамтамасыз етеді. Ал бұл қозғалтқыштың жұмысын көбейтеді деген сөз.
Қозғалтқыш жұмысы тоқтағанда 3 рычаг 4 болтқа келіп тіреледі. 16 рычаг желі арқылы 18 болтқа келіп тіреліп, 17 штифт арқылы күшін рычагқа өткізеді. Ол рычаг өшірілген желі қалпында рейкаларды орнатады.
Реттегіштің және жоғары қысымды жанар май насосының үйкелескен бетін қозғағыштың майлау жүйесінен келіп түсетін маймен жағып қояды [9] .
Қорытынды
Дизельдің қоректендіру жүйесі қозғалтқыштың цилиндрлеріне жанар майды жоғары қысыммен тозаңдатып бүркуді іске асырып, дизель қозғалтқышға жүктелген жүктемеге байланысты жанар майдың керекті мөлшерін беруді қамтамасыз етеді. Сонымен қатар жану камерасына жанар майды тозаңдатып бүркуді белгілі бір уақытта орындауды, жану камерасының барлық көлеміне бірдей мөлшерде белгілі бір уақытта жанар майды тозаңдатып бүркіп беруді де қамтамасыз етеді.
КамАЗ автокөлігінің дизельді қозғалтқышы сорабпен жеткізілетін жанар майды белгілі тұрақтылықта барлық цилиндрлерге бірдей жеткізуді және бастапқы жанар майды тозаңдатып бүркуін қамтамасыз етеді. Жоғары қысымды жанар май сорабына және форсункіге жанар май жеткізбестен бұрын жанар майды мұқият сүзіп беруді қамтамасыз етеді.
... жалғасы- Іс жүргізу
- Автоматтандыру, Техника
- Алғашқы әскери дайындық
- Астрономия
- Ауыл шаруашылығы
- Банк ісі
- Бизнесті бағалау
- Биология
- Бухгалтерлік іс
- Валеология
- Ветеринария
- География
- Геология, Геофизика, Геодезия
- Дін
- Ет, сүт, шарап өнімдері
- Жалпы тарих
- Жер кадастрі, Жылжымайтын мүлік
- Журналистика
- Информатика
- Кеден ісі
- Маркетинг
- Математика, Геометрия
- Медицина
- Мемлекеттік басқару
- Менеджмент
- Мұнай, Газ
- Мұрағат ісі
- Мәдениеттану
- ОБЖ (Основы безопасности жизнедеятельности)
- Педагогика
- Полиграфия
- Психология
- Салық
- Саясаттану
- Сақтандыру
- Сертификаттау, стандарттау
- Социология, Демография
- Спорт
- Статистика
- Тілтану, Филология
- Тарихи тұлғалар
- Тау-кен ісі
- Транспорт
- Туризм
- Физика
- Философия
- Халықаралық қатынастар
- Химия
- Экология, Қоршаған ортаны қорғау
- Экономика
- Экономикалық география
- Электротехника
- Қазақстан тарихы
- Қаржы
- Құрылыс
- Құқық, Криминалистика
- Әдебиет
- Өнер, музыка
- Өнеркәсіп, Өндіріс
Қазақ тілінде жазылған рефераттар, курстық жұмыстар, дипломдық жұмыстар бойынша біздің қор #1 болып табылады.

Ақпарат
Қосымша
Email: info@stud.kz