Байланыс орнату сұлбасы

 
    
Кіріспе
21 ғасырда байланыс орнатудың көп тәсілдері бар солардың ішіндегі ең тиімдісі ол көп арналы байланыс бір мезетте бірнеше арнаны қамтамасыз ететін аппаратура көмегімен жүзеге асады.
Осыған орай арналардың ішінде немесе жабдықтар арасында белгілі бір дәрежеде өзгерістер орын алуы мүмкін себебі аппаратура немесе бөлек құрылғылар істен шығып немесе жалған сигнал беруі мүмкін. Аталған өзгерістер нәтижесінде соңғы жабдықтарда шуылдар пайда болады, олар цифрлық беру жүйесінің (ЦБЖ) арналарындағы шуылдардың ең аз деңгейін анықтайды.
Оларға негізінен кванттау, дискреттеу, бос арналық және аспаптық шуылдар жатады. Бұдан басқа ЦБЖ - арналарында цифрлық сигналдарды қайта өңдеу кезінде желілі тракттарда қате жіберу нәтижесінде де шуылдар пайда болады. Қателер ықтималдығығына қойылатын талаптарды қамтамасыз ету үшін желілі тракттарда регенераторларды тиімді орналастыру қажет.
Сондықтан курстық жұмыста мына сұрақтар қарастырылады: соңғы жабдықтың шуыл деңгейін бағалау, регенерация телімінің ұзындығын анықтау, магистральдық сұлбаны құру және т. б.
Сонымен қатар электр кабелін пайдаланып, ішкі аймақтық, жергілікті телімдер кіретін байланыс желісін жобалау сұрақтары қарастырылады. Аталған телімдердің бірінде оптикалық кабель пайдалана отырып, оптикалық ендірме ұйымдастыру қарастырылады. Бұл оптикалық және электрлі беру желілерін жобалауды үйретеді.
Курстық жұмыс барысында көп арналы байланыс және аппаратура туралы жазылады атап айтканда ИКМ-30, ИКМ- 480, ИКМ-1920 аппаратураларына сипаттама беріледі және оларға сәкес кабельдер жалғау арқыла көп арналы байланыстың жұмыс істеу принципі зерттеледі, сонымен қатар есептеу жұмыстары арқылы желінің қаншалықты тиімді жұмыс істейтінің анықтаймыз .
1 АППАРАТУРА МЕН КАБЕЛЬДІҢ ТЕХНИКАЛЫҚ ДЕРЕКТЕРІ
1. 1 ИКМ-30 аппаратурасы
Бұл тарату жүйесі қалалық АТС пен қаласыртындағы АТС арасында ТЖ 30 арнасы арқылы төменгі жиілікті кабельдің қағазд және полиэтиленді изоляциясы бар диаметрі 0, 5, 0, 6 және 0, 7мм байланыстырады. Сонымен қатар ИКМ - 30 цифрлы тарату жүйесі үшін арна үзіліссіз құрылғы ретінде қолданылады. Жүйе бір кабельдік және екі кабельдік болып құрыла алады. Бір кабельді қолданғанда қарама - қарсы бағыттағы мәлімет тарату қайтагенерациялауда бір кабельдің әртүрлі сыныарларына, ал екі кабельдік әртүрлі кабельдер түрінің сыңарлары қосылады. Бірінші жағдайда өтпелі өшудің көлеміне байланысты сыңарлары таңдалады 2 кабель. Жүйеде цифрлы сызықты тракт барлық кабель сыңарларында қалыптасуы мүмкін, сол кезде кабельдік сыйымдылық 13 - 14 рет ұлғаяды, ал бір кабельдік жүйеде 10 рет қана, өйткені 1/3 кабель сыйымдылығы қолданылады. Аналогті - цифрлы құрылғыны (таратуда) және цифрлы - аналогты (қабылдауда) құрылған түрленуді 30 телефондық сигнал қабылдағанға структуралық циклдың таралуына байланысты топтық цифрлы ағынның таралу жылдамдығы 2048 кбит/с. Ол кірген және шықан дискретті ақпаратты және АТС құрылғыларымен біріктіруге көмегі тиеді. Сызықты тракт құрылғысы сызықты цифрлы сигналды реттеп қабылдауға арналған. Сонымен қатар қашықтан басқарып қоректендірумен НРП телебарлауға байланыс қызметін құруға негізделген. Байланыс орнату сұлбасы 1. 1 суретте көрсетілген. Телебарлау ИКМ-30 жүйесі аппаратурасын түзетілмейтін қайта генератормен қызмет көрсетілетін станцияға локализация мүмкіндігін туғызады сол жерде кабельдің қиылып қалуы туған және де НРП төменгі қысымы сай келген. Кабельдің қиылып қалған жерлерін анықтау үшін қосымша кабель сыңарлары қолданылады. [3]
 
- - сурет. ИКМ-30 аппаратурасының байланысты ұйымдастыру схемасы
Қызметтік байланыс арнайы бөлініп арналған кабель сыңарларына құралады және қызмет көрсетілген станциялар арасына қызметтік қатынас жүргізеді. Кабельдің типіне диаметіріне талшықты қайтагенерациялау учаскесінің ұзындығы 1, 5 . . . 2, 7км, ал қайтақабылдағыштың алып жатқан аумағы ТЖ болса 50 . . . 86км. Қызмет көрсетілетін қайтагенерациялаушы пункіттер арасындағы максималды арақашықтық ДН НРП мүмкіншіліктері- мен анықталады және кабельдің типіне байланысты 25 . . . 43км. [8]
1. 2 Т-0, 5 байланыс кабельінің сипаттамасы
Бұл телефондық кабель диамтрі 0, 5 ке тең құрылымы жергілікті байланыс кабельдері тұрақты ток кезінде 500 В дистанционды қорек кернеуінің 2048 кбит/c-ке дейінгі жылдамдықпен берілуде импульсті-кодтық модуляция мен уақытша каналдарды бөлуді жіберу жүйелерімен абоненттік байланыс және станцияаралық линиялар үшін арналған. Төрт оқшауланған желі айналдырылған төрттік құрайды. КСПП кабельдері жоғары ылғалдылық жағдайында да пайдаланыла береді, ал брондалған байланыс кабелі коррозиялық қауіпті төмен аймақтарда қолданылады. Т-0, 5 маркировкасы сипатына байланысты әртүрлі болуы мүмкін бұл кабель универсал болып табылады теміржолдағы ИКМ ия болмаса АТС пен абонент байланысы үшін қолданылуы мүмкін кабелінің көлденең қимасы (1. 2-сурет) көрсетілген.
Құрылымы
1. Кабель желілері 0, 5 мм диаметрі жұмсақ қорғасын сымдарынан жасалған
2. Полиэтилен оқшаулау. Желілер қалыңдығының диаметрі: 0. 64 мм -0. 7 мм
3. Кордель-толтырғыштың айналасындығы оқшауланған желі 4 айналдырылған біліктен тұрады
4. КСПП маркасында толтырғышпен бронь болады
5. Қабықшасы номинальды қалыңдығы 1, 8 мм болатын, жарық стабилизационды полиэтиленнен жасалынған.
Техникалық мінездемесі
КСПП дистанциондық қорегінің кернеуі 500 B тұрақты токка дейін.
Қоршаған ортадағы температура +60ºС -60ºC .
Монтаж және пайдалану жағдайында радиус 15 кабель диаметрі мен - 10ºC болады.
Тропикалық орындаудағы кабельдер зең саңырауқұлақтары әсеріне төзімді.
Кабельді жасаушы заводтың кепілдемелік мерзімі қолданысқа енгеннен бастап 5 жыл.
Қосымша температура -10ºC кем емес болуы керек.
Монтаждық иілулер мөлшері кем дегенде қабықша бойынша 15 диаметр.
Қызмет минимумы 25 жылға арналған
 
(1. 2-сурет) Т-0, 5 кабелінің көлденең қимасы
1. 3 ИКМ-480 аппаратурасы
ИКМ 480 жүйесі 34368 кбит / с өткізу жылдамдығы бар 480 телефон арнасын ұйымдастыруға мүмкіндік береді. Бұдан басқа, дискретті ақпаратты 16 кбит / с жылдамдықта беру үшін төрт каналды және DM-мен 32 Кбит / с жылдамдықта цифрлық байланыс арнасының арнасын ұйымдастыруға болады. Үшінші стандартты топтың ADC (812 . . . 2044 кГц) қамтамасыз етілген, бұл жағдайда тек 420 арналар ұйымдастырылған. 480 арнаның сигналдарын беру кезінде топтық ағынның қалыптасуы 8448 кбит / с жылдамдықтағы төрт қайталама сандық ағынның асинхронды немесе синхронды комбинациясы арқылы жүзеге асырылады. Бұл ассоциация күрделі диаграмма күріште көрсетілген уақыттық уақыттық топтау құралында (TVG) жүзеге асырылады. Екінші қосылыс құрылғысында (БК) биполярлық код бір полярлыға айналады, 8448 кГц жиіліктік жиілігі бөлініп, «бір КВП-3 декодталған. Асинхронды интерфейс құрылғыларында (AC) біріктірілетін сандық ағындар кіріс сигналдарын 8448 кбит / с жылдамдықпен сақтау құрылғысына жазу және топтық сигналдың жиілігінің жиілігімен оқу арқылы синхрондалады. Бұдан басқа, жадыдағы ұяшықтардағы жазба және оқу PI арасындағы уақыт аралығы AU-да бақыланады, жылдамдықты сəйкестендіру таңбалары енгізіледі, жылдамдық келісімі пəрмендері жəне жазу жəне оқылған ИП аралығындағы уақыт аралығындағы өзгерістер туралы ақпарат беріледі. Жабдық жиынтықтылығы
Үшінші уақыттық топты құру тірегі (СТВГ) -4 ТВГ жинақталымына
Желілі тракттың жабдық тірегі (ОЛТ) -2 жүйеге.
Аналогты-цифрлық түрлендіру тірегі стандартты үшінші топтың жиілігі 812-1044кГц (САЦО-ЧРК-3) .
Қызмет көрсетілмейтін регенерациялық тармақ НРНГ-2, жерге орналастырылатын-2жүйеге. Кезеңнің ұзақтығы 62, 5мкс тең, ол 2148 импульстік баламадан тұрады және шартты түрде 716 баламадан тұратын 3 топқа бөлінген (баламалардың орналасуы 1. 3- суретінде көрсетілген) .
 
1. 3 - сурет. ИКМ-480 аппаратурасының байланысты ұйымдастыру схемасы
НРП-ның дистанциялық тармақтары коаксиалдық жұптың орталық өзекше бойынша қалыпты 200мА токпен жүзеге асады. ДП кернеуінің ең үлкен мағынасы 1300В құрайды. ДП секциясының ұзындығы шамамен 200км құрайды.
ТВГ жабдықтарының арасындағы қызметтік байланыс цифрлық арна арқылы жүзеге асады . ОРП арасында қызметтік байланыстың жоғары жиілікті кабельдармен, ал НРП мен ОРП-ның арасында 0, 3-3, 4кГц спектрінде кабельның жұмыс жұптары арқылы іске асады.
Телеконтроль байланыстың үзілуінсіз жұмыс жұптары арқылы орындалады.
Жабдық жиынтықтылығы
Үшінші уақыттық топты құру тірегі (СТВГ) -4 ТВГ жинақталымына
Желілі тракттың жабдық тірегі (ОЛТ) -2 жүйеге.
Аналогты-цифрлық түрлендіру тірегі стандартты үшінші топтың жиілігі 812-1044кГц (САЦО-ЧРК-3) .
Қызмет көрсетілмейтін регенерациялық тармақ НРНГ-2, жерге орналастырылатын-2жүйеге.
1. 4 МКТ-4 1, 2/4, 6 кабелінің сипаттамасы
Бұл кабельдің ішкі өткізгіші - диаметрі 1, 2 мм болатын мыс. Оқшаулау полиэтилен және де баллон типті болып келеді. Сыртқы өткізгіштің ұзындығы 0, 1 мм қалыңдығы бар мыс. Экран қалыңдығы 0, 1 мм болатын екі болат жолақшасынан жасалған. Төрт коаксиалды жұп диаметрі 0, 5 мм болатын бес белбеу жұпымен біріктіріліп, белді оқшаулаумен жабылған. Сыртта - қорғасын қаптамасы және тиісті қару-жарақ қақпағы. Құрылыс ұзындығы 500 м, кабельдің толқындық кедергісі 75 Ом. 1 МГц жиіліктегі жоғарылау коэффициенті - 5, 33 дБ / км. 1, 4 суретте МКТ-4 1, 2/4, 6 кабелінің көлденең қимасы көрсетілген .
 
1. 4- сурет. МКТ-4 1, 2/4, 6 кабелінің көлденең қимасы
1 - белдеулік оқшаулағыш ; 2 - қорғасын қаптамасы; 3 - екі қару; 4 - сыртқы қақпақ; 5 - брондалған сым. Соңынан А симметриялық жұптарды бояу: 1 - ақ-қызыл; 2 ақ-жасыл; 3-5 - ақ-көк
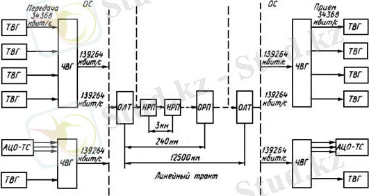
1. 5 ИКМ-1920 аппаратурасы
ИКМ-1920 телекоммуникациялық сигналдардың магистральдық және магистралды желілерінде коаксиалды жұптары бар 2. 6 / 9. 5 мм коэффициенті бар KM-4 кабелін беру үшін телефон арналары мен арналарының күшті шұңқырларын ұйымдастыру үшін арналған. Жабдықтар топтық ағынның тарату жылдамдығы бойынша 139264 кбит/с 1920 каналды немесе теледидардың бір арнасын және 480 арнаның арналарын ұйымдастыруды қамтамасыз етеді. Сызықтық жол төрт сымды бір кабельді байланыс схемасы арқылы ұйымдастырылады. Максималды байланыс диапазоны 12, 5 мың км, ұзындығы 2500 км, сервистік станциялар арасындағы қашықтық 240 км-ге дейін, регенерация аймағының ұзындығы 3-0, 25 + 0, 15 км құрайды . Төрт уақытша топтау жабдығын ажыратуға болады, ол сонымен қатар төменгі тапсырыстарды уақытша топтастыру жабдығын, сондай-ақ телевизиялық хабар тарату сигналдарын аналогтық-цифрлық түрлендіруді және OLT терминалы мен аралық станциялардың желілік жолын жабдықты қамтитын сызықты жолды жабдықты қамтиды. Функционалды түрде ИКМ-1920 ИКМ-480 сияқты құрылады. Жабдықтары жерге орнатылған контейнерлерде орналастырылған күде монтаждалады. Конструкция коаксиалды кабельдерден аналогты және цифрлық беру жүйелеріне біріктірілген. Жабдық жиынтықтылығы :
Төртінші уақыттың топты құру тірегі (СЧВГ) -4ЧВГ жинақталымына.
Желілі тракттың жабдық тірегі (СОЛТ) -2жүйеге.
ДП-тірегі (СДП) -2жүйеге.
 
1. 5 - сурет ИКМ- 1920 байланысты ұйымдастыру схемасы
Аналогты-цифрлық түрлендіру тірегі, телевизиялық хабар тарату (САЦО-ТС), телевизиялықхабар таратудың бір арнасында.
Қызмет көрсетілмейтін регенерациялық тармақ НРПГ-2, жерге орналастырылатын -2 жүйеге. ИКМ-1920 ұйымдастыру схемасы 1, 5 суретте көрсетілген .
1. 6 КМ-4 2, 6/9, 5 кабельінің сипаттамасы
KM-4 типті 2. 6 / 9. 5 негізгі коаксиальді кабелі төрт коаксиальді жұп пен бес жұлдызды төрт фут бар (1. 6-сурет) . Әр коаксиалды жұп 2. 6 мм диаметрі бар ішкі мыс өткізгіштерден және бір бойлық арқалықпен 9, 5 мм диаметрі бар мыс түтік түріндегі сыртқы өткізгіштен тұрады. Коаксиалды жұптың қалыңдығы 2, 2 мм қалың полиэтилен шайбаларынан 25 мм қашықтықта оқшаулануы бар. Сыртқы өткізгіштің жоғарғы жағында 0, 15 . . . 0, 2 мм қалыңдықтағы екі жұмсақ болат жолақ түрінде қосымша экран бар, ол бір немесе екі жабады; кабель қағазының қабаттары. Кабельде қорғасын қаптамасы және әдеттегі қару-жарақ қақпақтары бар және КМБ, ҚМГ, КМК деп белгіленеді. 2. 6 / 9. 4 типті кабель негізінен бір кабельдік жүйеде қолданылады. Күшейткіш нүктелер арасындағы қашықтық 6 километрді құрайды және 8 МГц-ге дейінгі диапазонда және 18 МГц-ге дейін 3 км-ге дейін жеткізіледі. Арматура нүктелері кәбіл желісінде 120 . . . 240 км орналасқан сервистік орындардан қашықтан қоректенеді. [6]
 
1. 6 сурет КМ-4 2, 6/9, 5 кабельінің қимасы
1. 7 Магистральді ОКК-1-01-0, 7-8 кабель сипаттамасы
OКК-1-01-0, 7-8 - Градиентті оптикалық талшықтан тұратын кабель талшықтар диаметрі 1 мм, 01 модификациясы бар . Өшулік коэфиценті 0, 7 ДБ/км ге тең. 8 оптикалық талшықтардан тұрады. Оптикалық талшықты кабель - ғылымның соңғы жетістіктерінің бірі. Сигнал оның бойымен жарықтың көмегімен жіберіледі. Цифрлық, деректер оптикалық талшықтардың бойымен өзгерген жарықтық импульстер түрінде таратылады. ОК кабелінің көлденең қимасы және құрылымы (1. 8 - суретте ) көрсетілген.
 
1. 8 - сурет ОК кабелінің көлденең қимасы және құрылымы
Кабель құрылымы
1. Оптикалық талшық 1мм
2. Гидрофобты толықтырғыш
3. Полимерлі трубка
4. Шыныпластик нығайтқыш (Стержень)
5. Лента
6. Поэлитилен қабықшасы
7. Сыртқы қорғаныс қабаты өте қалың поэлитилен қабаты
Бірінші бөлім бойынша қорытынды
ИКМ-30 аппаратурасы АТС-тардың арасында біріктіретін желілер ұйымдастыру үшін арналған. Аппаратура төмен жиілі көпжұпты кабельның ТГ және ТПП түрімен, 1 немесе 2 кабельды байланыс жүйесін пайдаланған кезде жұмыс істейді. Цифрлық сигналды желіге беру жылдамдығы-2048 кбит/с. Т-0, 5 байланыс кабельін пайдаланамыз. Бұл телефондық кабель диамтрі 0, 5 ке тең құрылымы жергілікті байланыс кабельдері тұрақты ток кезінде 500 В кернеуге дейін жұмысын атқара алады. [8]
ИКМ-480 аппаратурасы жоғары жиілікті симметриялық МКС немесе МКСА типті кабельдер арқылы жергілікті және ішкізоналық жүйе ұйымдастыру үшін қажет.
ИКМ-1920 аппаратурасы КМ-4 жұбты кабельін қолдану арқылы ішкі зоналық және магистральді байланыс арналарын орнатуға арналған. ИКМ технологиясы қазіргі танда моральді тұрғыда ескіргенімен өзінің белгілі бір дәрежеде жұмыс осы күнге дейін қолданысын табуда мысалы теміржол саласында бұл технололгия алмастырылмайтын технология оған салыстырмалы тұрде РРЛ сымсыз байланыс жүйелері бәсекелес бола алады .
2 СОҢҒЫ ЖАБДЫҚТЫҢ ШУЛАРЫН ЕСЕПТЕУ
2. 1 Дискреттеу шуларын есептеу
ЦБЖ-ның барлық түрінде дерлік сигналдардың уақыттағы бір қалыпты дискретизациясы қолданылады, яғни қалыпты Т Д дискретизация, ал t i периодта кездейсоқ сипатта болады. Бұл ауытқулар қабылданатын сигналдың пішінінің өзгеруіне әкеледі, ол (2. 1 - суретте) көрсетілген, бұл субъективті түрде қате ретінде қабылданады, мұндай қателерді дискретизация шулары деп атаймыз.
T i шамасы негізінен желідегі регенератордың нақты жұмыс істелуінен және беретін генератордың тұрақсыздығынан пайда болатын төменгі жиілікті фазалық флуктуация импульстерінен анықталады. Егер беретін генератордың тұрақсыздығынан пайда болған ауытқуларды α шамасымен белгілеп, ал фазалық флуктуация ауытқуларын β деп белгілесек, онда олардың арасында статистикалық байланыс жоқ деп есептеп, қайта қабылдау телімінде дискретизация шуларының қуаты мына шамадан аспайды
P ∂. ш ≤ π 2 U c 2 (a ∂ 2 +b ∂ 2 ) ; (2. 1)
мұндағы, Uc - сигналдың тиімді кернеуі.
 
2. 1 - сурет. Дискреттеу периоды өзгергендегі қабылданатын сигнал формасының өзгеруі
ω=2π/T ∂ болғандықтан, ауытқу периодына қатысты а ∂ = α ∂ /T ∂ және b ∂ =β ∂ /T ∂ , осыған сүйене отырып дискретизация шуларының қуатын мына түрде жазуға болады:
P∂. ш≤π2Uc2(a∂2+b∂2) (2. 2)
Бұл жағдайда сигналдың дискретизация шуларынан қорғануын мына түрде жазуға болады:
Ақор≥10lg[π2(a∂2+b∂2) ] -1 (2. 3)
Негізгі цифралық арнада (НСА, ОЦК) қайта қабылдаулар 10lg(n+1) төмендейді, бұл жерде, n - цифралық ағыныдағы немесе тоналды жиіліктегі қайта қабылдаулардың жалпы сандары.
Эксперименталды түрде көрсетілгендей, НСА (ОЦК) негізінде құрылған ТЖ арнасында шамасының ең үлкен шамасы 810нс-тен аспауы керек (1) . Бұл ТЖ арнасындағы дискретизация шуларынан минималды қорғаныс шегі Ақор=37дБ сәйкес келеді. Бастапқы желінің НЦА номиналды тізбегі 59 дейін қайта қабылдауы мүмкін, олардың қатарында абоненттік телімдегі екі қайта қабылдауды қосуға болады. Сондықтан Ақор=61дБ тең болуы мүмкін болса, НЦА негізінде құралған қайта қабылдаулар жоқ арнада мына шамадан кем болмауы керек:
А мак. қаж. қор. =34+10lg(61+1) ≈52дБ
Генератор жабдығының тұрақтылығы мөлшерленген болғандықтан, дискретизация шуларынан берілген қорғанысын анықтау үшін, НЧ фазалық флуктуациялардың ең үлкен шамасын анықтау қажет. Есептеу келесі түрде жасалады:
а) НСА ТЧ арнасы үшін дискретизация шуларынан талап етілетін қорғаныс былай анықталады:
А қаж. қор. =А мак. қаж. қор. - 10lg(n nn +1) =52 - 10lg(n nn +1) (2. 4)
n n =(l уч /l р ) +1 (2. 5)
n n =(2000/3) +1=667, 7
А қорғ. шегі =52-10lg(667, 7+1) =52-2, 83=49, 2 дб
бұл жердегі, n - цифралық ағындағы және ТЧ-дегі қайта қабылдаулардың жалпы саны;
б) НСА-ның барлық телімдер үшін генераторлық жабдықтың салыстырмалы тұрақсыздығының квадрат соммасы анықталады (салыстырмалы тұрақсыздық мағынасы мынаған тең 5*10 -5 , 3*10 -5 , 2*10 -5 , 1, 5*10 -5 генераторлық жабдықтардың бастапқы, қосалқы, үшінші, төртінші желі) ;
a 2 ∂ ∑= (2. 5)
a 2 ∂ ∑=(5∙10 -5 ) 2 +(2∙10 -5 ) 2 +(1, 5∙10 -5 ) 2 =15∙10 -10
в) теңсіздікті түрлендіру арқылы (1), НСА әр жеке телім үшін (барлық телімге бірдей деп аламыз) төменгі жиілікті фазалық флуктуациядан пайда болған ауытқулардың салыстырмалы шегін анықтаймыз:
b ∂ = (2. 6)
b ∂ = ∙10 -4
г) қайта қабылдау телімінде дискретизация шуларының қуатын анықтаймыз:
P ∂. ш ≤ π 2 U c 2 (a ∂ 2 +b ∂ 2 )
P ∂. ш. ≤ 3. 14 2 ∙2. 12 2 (15∙10 -10 +427. 1∙10 -10 ) =6. 34∙10 -7 Вт
д) желілі тракттағы әр телім үшін шамасы бойынша импульстердің фазалық флуктуациялық шамасы анықталады, сигналдың тактылық жиілігі дискретизация жиілігінен (8кГц-ке тең) қанша көп болса, f Т f Д -дан сонша есе көп болу керек.
Фазалық флуктуацияның ауытқуы:
(2. 7)
ИКМ - 30 аппаратурасы үшін:
ИКМ - 480 аппаратурасы үшін:
ИКМ - 1920 аппаратурасы үшін:
2. 2 ЦБЖ кванттау шуларының деңгейін анықтау
ЦБЖ-де сигналды деңгейі бойынша кванттау кезінде қате пайда болады, өйткені сигналдың нақты лездік мағынасы кванттау деңгейінің рұқсат етілген мағынасына дейін дөңгеленеді. Бұл қателер бастапқы сигналмен қосылып, бір қалыпты спектральды тығыздығы бар флуктуациялық шу ретінде қабылданады.
Бір қалыпты кванттау жағдайында, яғни кванттау әр қадамы ∆U p шамасына ие болса, ∆F арнасының жиілігінде кванттау шуының қуаттылығы мынаған тең болады:
P к. ш. =(∆U I/II p /12) (2∆F/ f ∂ ) (2. 8)
бұл жерде, f ∂ - сигналдың дискретизация жиілігі.
Кванттау қадамы неғұрлым кіші болса да, соғұрлым аз болады, өйткені ол сигналдың барлық серпіндік ауқымын қамту керек. Кванттау қадамының саны коданың разрядтылығымен, беру жылдамдығына байланысты болғандықтан кванттауға ұшырайтын сигналдың серпіндік деңгейдің волюмі статистикалық үйлестіру заңымен және сигналдың лездік мағынасын қолдану қажет.
Волюмнің үлестіру ықтималдығының тығыздығы Гаусс үлестіру заңына сәйкес келетіні белгілі (2. 2, а - сурет) .
бұл жерде, - волюмнің орташа мағынасы, дБ, σ - волюмнің ортаквадраттық ауытқуы, дБ
 
2. 2 - сурет. Волюмдардың ықтималдылығы.
а) Гаусс заңы; б) серпіндік деңгейге сәйкес келетін қуаттың үлестіру тығыздылық графигі
Серпіндік деңгейге сәйкес келетін қуаттың үлестіру тығыздығы (2. 2, б - суретте) көрсетілген, оның максималды волюмына сәйкес келеді, бірақ моданың орташа мағынасы оңға жылжыған, өйткені қуат теріс мағынаға ие бола алмайды. Математикалық статистикадан белгілі болғандай, қуаттың орташа деңгейі мына формуламен есептелінеді:
(2. 9)
Сөздік сигналдардың лездік мағынасы екіжақты экспоненциалдық заңға жақын үлестірілген:
(2. 10)
бұл жерде,
U c - сигналдың тиімді мағынасы (2. 3 - сурет)
 
2. 3 - сурет. Сигналдың лездік мағынасының үлестіру заңы
Сигналдың максималды мағынасы ретінде, 10 - аспайтын мағынаны қабылданады, онда:
Ара қатынас былай анықталады:
... жалғасы- Іс жүргізу
- Автоматтандыру, Техника
- Алғашқы әскери дайындық
- Астрономия
- Ауыл шаруашылығы
- Банк ісі
- Бизнесті бағалау
- Биология
- Бухгалтерлік іс
- Валеология
- Ветеринария
- География
- Геология, Геофизика, Геодезия
- Дін
- Ет, сүт, шарап өнімдері
- Жалпы тарих
- Жер кадастрі, Жылжымайтын мүлік
- Журналистика
- Информатика
- Кеден ісі
- Маркетинг
- Математика, Геометрия
- Медицина
- Мемлекеттік басқару
- Менеджмент
- Мұнай, Газ
- Мұрағат ісі
- Мәдениеттану
- ОБЖ (Основы безопасности жизнедеятельности)
- Педагогика
- Полиграфия
- Психология
- Салық
- Саясаттану
- Сақтандыру
- Сертификаттау, стандарттау
- Социология, Демография
- Спорт
- Статистика
- Тілтану, Филология
- Тарихи тұлғалар
- Тау-кен ісі
- Транспорт
- Туризм
- Физика
- Философия
- Халықаралық қатынастар
- Химия
- Экология, Қоршаған ортаны қорғау
- Экономика
- Экономикалық география
- Электротехника
- Қазақстан тарихы
- Қаржы
- Құрылыс
- Құқық, Криминалистика
- Әдебиет
- Өнер, музыка
- Өнеркәсіп, Өндіріс
Қазақ тілінде жазылған рефераттар, курстық жұмыстар, дипломдық жұмыстар бойынша біздің қор #1 болып табылады.
 
            
                Ақпарат
Қосымша
Email: info@stud.kz