Түйінді шығындарды анықтау


АННОТАЦИЯ
Данный дипломный проект рассматривает вопрос системы
водоснабжения населенный мест в Алматинской области Карасайского
района в селе Турар.
В основной части диплома рассматривается природно - климатический
и предоставляеющий условия удерживающий гидрогеологический слой
воды. В технологической части рассчитано водопроводная сеть населенного
пункта, выбрано и расчитано водозаборное сооружение расположенное на
поверхностном источнике и технологическая схема очистки воды. Также в
дипломном проекте рассмотрены разделы как защита окружающей среды,
безопасность жизнидеятельности и экономическая часть.
THE SUMMARY
This thesis project considers the water system populated places in Almaty
region Karasai area in the village Turar.
In the main part of the diploma is considered natural - climatic conditions
and provides holding hydrogeological layer of water. In the technological part of
the calculated water network of the village is selected and is targeted intake
structure located on the surface sources and technological scheme of water
purification. Also in the thesis project examined areas as environmental protection,
safety vital functions and economic part.
АНДАТПА
Бұл дипломдық жоба Алматы облысының Қарасай ауданында Тұрар
ауылды мекенінде орналасқан сумен жабдықтау құрылымын қарастырады.
Дипломның жалпы бөлімде облыстың табиғи-климаттық және су
ұстайтын қабаттың гидрогеологиялық жағдайлары қарастырылған.
Технологиялық бөлімінде тұрғындарды сумен жабдықтау жүйесі
есептелген, сонымен қатар жабдықтау құрылғылары қарастырылған.
Қоршаған ортаны қорғау, тіршілік қауіпсіздігі және де экономикалық бөлім
дипломдық жобада келтірілген.
Мазмұны
КІРІСПЕ
5
1
1. 1
1. 2
1. 3
2
2. 1
2. 2
2. 3
2. 4
2. 5
3
3. 1
3. 2
4
4. 1
4. 2
4. 3
4. 4
4. 5
5
5. 1
5. 2
5. 3
Елді мекенді сумен қамтамасыздандыру туралы
Қазіргі кезде елді-мекеннің сумен қамтамазыз етілу жағдайы
Тұрар ауылы аумағының инженерлік экологиялық жағдайлары
Су ұстайтын қабаттың гидрогеологиялық жағдайлары
Технологиялық бөлім
Су пайдаланушылардың құрамы және су қолданудың мөлшері
Санитарлық қорғаныс аймақтары
Желінің гидравликалық есебі
Жұмысшы сораптың есептелуші арыны мен су шығынын
анықтау
Гидравликалық соққы кезіндегі арынды су өткізгіш құбырдың
қабырғасының қалындығын анықтау
Қоршаған ортаны қорғау
Ластанған суларды механикалық, химиялық, биологиялық
жолмен тазарту
Қазақстандағы өндіріс қалдықтарының экологиялық мәселелері
Тіршілік қауіпсіздігі
Коммуналдық-энергетикалық желідегі қатерлі-қалпына келтіру
жұмыстары
Кәсіптік қауіпсіздікті бағалау
Санитарлы техникалық шаралар
Электр қауіпсіздігі
Объектілердің жұмыс тұрақтылығы негіздері
Экономикалық бөлім
Сумен қамтамасыз ету жүйесінің құрылыс құнын анықтау
Пайдалану шығындарын анықтау
Судың өзіндік құнын анықтау
ҚОРЫТЫНДЫ
ПАЙДАЛАНҒАН ӘДЕБИЕТТЕР ТІЗІМІ
КІРІСПЕ
6
7
7
9
10
10
18
26
33
37
41
41
44
48
48
49
51
52
54
55
55
56
59
61
62
Әлемде сусыз өмір жоқ. Халық шаруашылығының бірде бір саласы
сусыз жұмыс істей алмайды. Үй-жай тұрмыстық шаруашылығындағы
тұрғындардың мұқтажы үшін, егіс алқаптарын суғарып, баптау үшін, ауыл
шаруашылығындағы өндірістер үшін және басқада мақсаттар үшін су
қолданылады.
Мақсатқа жету үшін қоғамда салауатты өмір салтын қалыптастырып,
халықтың денсаулығын арттыруға көптеген шаралар жасалынуы тиіс. Бұл
біздің еліміздің алдында үлкен жұмыстарды орындауды талап етеді дегенге
келеді. Оның ішінде ең алдымен кез келген тұтынушыға қажетті мөлшерде
таза да сапалы ауыз су қажет.
Осы мәселеге байланысты республикамыздың ауылдық жерлерінде
көптеген күрделі мәселелер бар. Елді мекендердің қаладан кемшілігі
медицина салаларының қамтамасыз етілуінің төмендігі, қазіргі заманға сай
жарақталған үйлердің болмауы, және, ең қиыны кейбір елді мекендерде ауыз
судың сырттан тасып әкелетіндеріндігі. Шешімін таппай жатқан осы
мәселелер айналып келгенде жақсы жарақталған, білімді, қазіргі заман
талабына сай сапалы, әрі арзан да тиімді жобалар жасай білетін мамандарды
қажет етеді.
Жер асты суларының басты ерекшелігі олар экологиялық таза күйінде
сақталып, кұрделі қаражат жұмсамай ақ пайдалануға дайын болуы.
Сондықтан республикамызда ауыз су ретінде негізінен жер асты суларын
пайдаланған тиімді. Жер асты сулары жалпы көлемі жағынан теңіздері мен
мұхиттардағы сулардан кейін екінші орында.
Сумен жабдықтау жүйелерін мынадай белгілері бойынша жіктеуге
болады:
а) тұтынушылардың түрлеріне қарай шаруашылық - ауыз су
жүйелері, ауыл шаруашылық, өндірістік, өрттік т. б. жүйелер;
б) мекенжайлардың түрлеріне қарай қалаларды, елді мекендерді,
өндірістерді сумен жабдықтау жүйелері; в) мекенжайлардың қамтылу
санына байланысты топтасқан немесе ауданаралық; жергілікті - бір
мекенжай үшін құрылған жүйе; г) суды пайдалану ретіне қарай тікелей
ағатын, айналмалы, қайтармалы; д) қабылданған табиғи су көздері
бойынша жер бетіндегі су көздерін (теңіздер, өзендер, көлдер, су
қоймалар) қолданатын жүйелер; е) судың жіберілу тәсіліне қарай өзі
ағатын (гравитациялық), арынды, араласқан.
Жалпы сумен жабдықтау жүйесінің мақсаты: табиғи су көзінен суды
алу, тұтынушылардың су сапасына қойатын талаптарына сәйкес тазарту,
сумен қамтамасыз етілетін объекті аумағына жеткізу және тұтынушыға
қажетті арынмен, жеткілікті мөлшерде су шығынымен тарату.
1. Елды мекенді сумен жабдықтау
1. 1 Қазіргі кезде елді - мекеннің сумен қамтамазыз етілу жағдайы
Елді мекенді, өндіріс орнын және де басқада объектілерді өз
қажеттіліктеріне байланысты сумен қамтамаыз саланы сумен жабдықтау деп
атайды. Суды алу, тұтынушыға дейін тасмалдау, қажетті су сапасына дейін
тазарту ғимараттарының кешенін сумен жабдықтау жүйесі деп атайды. Суды
беру және тарату құбыр арқылы болатын орталықтандырылған жүйелерді су
құбыры депте айтуға болады.
Сумен жабдықтау және суды әкету қазіргі уақытта экономиканың
дамуына және халық денсаулығына зор әсер ететін негізгі себебі болып
тұрғаны бәрімізге белгілі. Жер шарының сулы аудандарында 1, 5 млрд текше
километр су бар, бірақ оның 98% - мұхиттардың тұзды сулары, 1, 94% - мұз
айдынның суы, ал тек қана 0, 06% - материктердің тұщы суы.
Қазақстанның ағын суларының қоры, яғни жылына ағатын судың
орташа есебі 101, 9 текше километр, соның 58, 4 текше километрі
республиканың өз аймағынан бастау алады. Ал 43, 5 текше километрі сырт
жақтан ағып келеді. Кең байтақ Қазақстан жерасты суларына да кенде емес.
Оның жалпы аумағы 55 текше километрге пара - пар. Дегенмен, бұл жерасты
және ағын сулардың да орналасуы республика аймағында әрқалай, яғни кей
жерлерде молшылық та, енді бір жерлерде тапшылық.
Қарасай ауданында Тұрар ауылында орналасқан, бір кездерде
орталықтандырылған сумен қамтамасыз ету жұмыстары қолға алынып,
артезиандық
ұңғылар қазылған. Тоқсаныншы жылдардағы дағдарыс
жағдайларға байланысты аяқсыз қалдырылған. Қазіргі кезде
қажеттілігі үшін шахталы құдықтар, сондай-ақ артезиан
ауыз су
ұңғылары
қолданылады. Қазіргі кездерде ауыл тұрғындары және басқа өндірістік
қажеттіліктерді сумен қамтамасыз етуге арналған көрсетілген су көздері
жетіспейді және санитарлық нормаларға сәйкес келмейді . Мәселен орта
ғасырда бір адам 1 тәулігіне 10 - 15 л су пайдаланатын болса, қазіргі уақытта
бұл мөлшер 500 литрге дейін жетеді. 1 тонна болатты шығару үшін 120
текше метр, 1 тонна реземкеге 1500 текше метр, 1 тонна жасанды жібекке
2000 текше метр су жұмсалады.
Бұл дипломдық жұмыста елді мекенді орталықтандырылған сумен
қамту құрылысын комплексті түрде жобалау қарастырылған.
Жобада 2 ЭЦВ 8-40-60 сораптарымен жабдықталған су алғыш
қарастырылған және су алғыштың құрылысы ауданында орналасқан
комплексті су құбыры ғимаратының құрылысы құрамы мыналар кіреді:
1. Ұңғымен бірлестірілген І көтергіш сорап станциясы.
2. Әрқайсысының сыйымдылығы 300 м3 екі таза су резервуары.
3. ІІ көтергіш сорап станциясы.
4. Хлоратор бөлмесі.
5. Биіктігі 11-18 м, сыйымдылығы 50 м3 су көтергіш мұнара.
Су құбыры тораптарының конструкциясы. Су құбыры тораптарының
жұмысы әрдайым өзгеріп тұратын шығындарға тәуелді болатындықтан,
олардың болашақта жұмыс істеу қаблетін алдын ала болжау қиын. Дегенмен,
құбырлардың материалдарын және оларды құрастыратын қосалқы
бөлшектердің конструкциясына қойылатын талаптарды алдын ала білсек,
құбырлардың жұмысқа деген биімділігін анықтауға болады. Су
құбырларының құрылымы мынадай талаптарға сай келуі тиіс: 1) сыртқы
және ішкі күштерге шыдамды; 2) қабырғаларынан су өткізбейтін; 3) ішкі беті
тегіс; 4) ұзақ жылдар жұмысқа төзімді.
Аймақталған сумен жабдықтау жүйелері. Сумен жабдықтау жүйелерін
жобалаған кезде елді мекендердегі су тұтынушылар түрлері біркелкі
болмайтындығына қарамастан, әдетте, оларды бір орталықтан басқарылатын
ажыратылмайтын құрылыстармен қанағаттандыруға тырысады. Бірақ кейбір
топтағы тұтынушылар сумен жабдықтау жүйелеріне әртүрлі талаптар
қоятындықтан жекелеген сумен жабдықтау жүйесін жобалауға тура келеді,
яғни сумен жабдықтау жүйесін аймақтарға бөлу қажет болады. Бұндай
жүйелер аймақталған жүйелер деп аталады.
Сумен жабдықтау жүйелерін екі түрлі схема бойынша аймақтарға
бөлуге болады: 1. Паралелль аймақты жүйе. 2. Тізбектелген аймақты жүйе.
Реттеуші және сақтаушы сиымдылықтар сумен жабдықтау жүйесінің
жұмысында үлкен рол атқарады. Реттеуші сиымдылықтар көмегімен сорғыш
бекеттерінің жұмыс кестесін шамалы реттеп отыруға болады, сонымен қатар
олар магистральды құбырлардың диаметрін азайтуға мүмкіндік жасап, жалпы
су құбырының құнын азайтуға себепші болады. Сақтаушы сиымдылықтар
жалпы сумен жабдықтау жүйесінің үздіксіз және сенімді жұмыс істеуін
қамтамасыз етеді.
Сумен жабдықтау жүйесіндегі қолданылатын сиымдылықтарды
төмендегідей жіктеуге болады:
1) жұмыс атқаратын принциптері бойынша: а) реттеуші; б) сақтаушы;
в) сақтаушы-реттеуші;
2) сиымдылықтан судың алынуы бойынша: а) арынды, су
құбырларында қысымды тұрақты ұстап тұра алатын сиымдылықтар;
б) арынсыз, мұнда су сорғыштар арқылы алынады;
3) конструкциялық ерекшеліктері бойынша: а) арынды мұнаралар;
б) резервуарлар; в) арынды бағаналар (колонналар) ; г) ауалы арынды
қондырғылар.
Сиымдылықтардың түрін, өлшемін және орналасу орынын дұрыс
анықтау үшін жобалау жұмыстарында су жүйелерін мұқиат техникалық-
экономикалық талдау өткізіп, олардың жұмыс режимін толық анықтап алу
қажет. Олардың санын анықтау мәселесіде көптеген талдау жұмыстарын
талап етеді. Өйткені бактердің жалпы сиымдылығын мұнаралар мен
резервуарларға бөле отырып сумен жабдықтау жүйесінің құнын азайтуға
болады.
Арынды мұнара. Суды тұтынуымен 2-ші көтеру сорғыш бекетінің
жеткізуінің толық сәйкестегіне жету мүмкін емес. Суды жеткізумен
тұтынуды реттеуге көп жағдайларда арынды мұнара қолданылады Арынды
мұнаралар сумен жабдықтау жүйесінің кез келген нүктесіне орналасуы
мүмкін. Олардың жабдықталуы, жұмыс ерекшелігі орналасу орынына өте
байланысты болады.
Мұналалар, әдетте бактен және оны көтеріп тұратын конструкциядан
тұрады. Мұнара багінің реттеу сыйымдылығын қосарланған сатылық немесе
интегралды график арқылы анықтауға болады. Мұнараларды темірбетоннан,
кірпіштен, металданжасайды. Ауыл шаруашылығын сумен жабдықтауда
тіреуіштері ағаштан жасалған мұнараларда практикада бұрынғы кезде көп
қолданылған, олардың сиымдылығы 100 м3 -ден аспайды.
Резервуарлар. Резервуарлар су келетін, сорушы, ағынды және
ластарды әкететін құбырлармен жабдықталады. Резервуар арынды-реттеуші
сиымдылық рөлін атқаратын жағдайларда, оның құбырлармен жабдықталуы
арынды мұнаралар тәріздес болады. Резервуарлар сумен жабдықтау
схемасында сорғыш бекетінің қарама-қарсы жағында болса, онда сорушы
мен су келетін құбырларды біріктіріп құруға болады. Су белгілі мөлшерден
асып кеткен жағдайда, оны шығарып тұратын ағынды құбырға ысырма
қойылмайды. Резервуарлардағы су алмасуын қамтамасыз ету үшін су келетін
құбыр су алатын құбыр орынынан қарама-қарсы жағына орналасқаны дұрыс.
Резервуарлар судың қорын сақтауға арналып белгілеуіне байланысты
сумен жабдықтау жүйелерінің әртурлі жөрінде орналасады.
Арынды бағаналар. Арынды бағаналар биіктігін бойлай сумен
толтырылған болаттан немесе темірбетоннан жасалған цилиндрден тұрады.
Олардың сиымдылығы арынды мұнаралардан көбірек, ал құны одан арзан
болып келеді .
Бағананың биіктігі үлкен болған сайын судың айналымы нашарлайды,
соның салдарынан судың сапасыда төмендеп кетеді . Сондықтан арынды
бағаналарды ауыл шаруашылығын сумен жабдықтауда су сапасына жоғарғы
талаптар қоймайтын өндіріс жүйелерінде пайдаланған жөн.
Ауалы арынды қондырғылар. Ауалы арынды қондырғылар өнімділігі
жоғары емес, бірақ үлкен қысымды талап ететін сумен жабдықтау
жүйелерінде қолданылады, сонымен қатар арынды мұнаралар экономикалық
жағынан тиімсіз жерлердеде пайдаланған қолайлы. Олар аймаққа бөлінген су
жүйелеріндеде өте пайдалы
және ыңғайлы. Ауалы қондырғы бір-бірімен
құбыр арқылы қосылған екі болаттан жасалған бактерден тұрады.
1. 2
Тұрар ауылы аумағының табиғаттық - климаттық қысқаша
сипаттамасы
Алматы облысының табиғи жағдайы шөл даладан мәңгі қар жататын
аумаққа дейінгі 5 климаттық аймақтан тұрады. Климаты тым континенталды,
жазық далада қаңтардағы орташа температура -15 С, таулы аймақта - 6-8 С;
маусымда сәйкесінше - +16 С және +24 +25 С. Жазық далада жыл бойы
түсетін жауын-шашын көлемі - 300 мм дейін, аулы аймақтар мен тауда - 500-
700-ден 1000 мм дейін.
Алматы облысы Қарасай ауданының Тұрар ауылын сумен қамтамасыз
ету. Президентіміз Н. Ә. Назарбаевтың халыққа жолдаған жолдамасында ең
басты мақсат ауылдың мәдениетін, тұрмысын және шаруашылығын дамыту
деді. Ауыл шаруашылығын дамыту және халыққа таза ауыз - су беру үшін
және суды тазарту үшін кәзіргі заманғы техникалармен жабдықталған сумен
қамтамасыз ету жүйелерін жобалап, оның құрылысқа кететін құнын анықтап
және құрылысын салу керек.
Алматы облысы Қарасай ауданы Тұрар аулында жобаланып отырған
сумен жабдықтау торабының орналасқан жері тау баурайына жақын, аудан
орталығынан 20 км, Алматы қаласынан 50 км қашықтықта орналасқан.
Геологиялық жағынан майда және ірі түйіршікті құмдардан тұратын
аллювиальдық генезисті қазіргі төрттік дәуір шөгінділерінен тұрады. Жоғары
қабаттың астында 0, 8 - 1, 2 м тереңдікке дейін тығыз сарғыш сұр түсті
саздақтар жатады. Саздақтардан төмен тығыз қуаты 5, 5 - 6, 8 м саздар
жатады. Тұздану дәрежесі карбонатты-хлоридті.
Алғашқы зерттеу кезінде монолитті үлгілер алынып, олардың физико-
механикалық қасиеттері зерттелінді.
Бұрғыланған ұңғыларда жер асты ыза сулары 3 - 5, 5 м тереңдікте
кездесті. Сулар хлоридті-карбонатты, натрийлі, магнийлі минерализациясы
1, 2 - 1, 6 г/л.
Бетонға қатысты алғанда ыза сулардың қалыпты тығыздықта,
сульфатты жебірлігі бар. Фундамент табаны болып төрттік дәуірдегі
құмдарға
отырғызылады.
Топырақтардың ұсынылатын мөлшерлі
сипаттамасы 1. 1 кестеде келтірілген.
Аудандағы топырақтар әлсіз тұзданған.
Тұздану коэффициенті:
құмдақ үшін - 0, 12
саздақ үшін - 0, 05
саз үшін - 0, 02
құм үшін - 1, 9.
Топырақтар шөкпелі емес, әлсіз қысылады.
1. 1 кесте - Зерттелінген топырақтардың қасиеттерінің мөлшерлі көрсеткіштері
1. 1 кестенің жалғасы
1. 3 Су ұстайтын қабаттың гидрогеологиялық жағдайлары
К - 28 су қоймасы Алматы облысы Қарасай ауданында оңтүстік -
батыс Тұрар мен Достық ауылдарының маңында орналасқан. Суат өте үлкен
72 га құрайды, Шамалған және Қара - өзеннің суларынан толады. К - 28 су
қоймасынын суретін 1. 1 суретте көре аласыздар.
1. 1 - сурет. К - 28 су қоймасы
Су ұстайтын ярус майда түйіршікті құмдардан тұрады. Ондағы
сулардың арынды пьезометриялық деңгейі 4, 8 м тереңдікте тұрады. 20 м-ге
төмендегенде ұңғының дебиті 15 л/с.
Химиялық құрамы бойынша жалпы минералдығы 0, 5 г/л дейінгі
сульфатты-хлоридті-гидрокарбонатты-натрийлі. Сулы горизонттың жату
тереңдігі 120-ден 150 м-ге дейін ауытқиды.
Бұл сулардың минерализациясы әлсіз. Төрттік дәуірде орналасқан су
горизонты сарғыш-сұр түсті майда түйіршікті құмдардан тұрады, қуатты саз
![]()
қабаттарымен жабылатын олардың кейбір қабаттарының қуаты 32 м дейін
жетеді. Сулары кейбір кездерде арынды.
Ыза суларының минерализациясы көп өзгеріске ұшырамайды, 0, 5-0, 6
г/л. Төрттік дәуір және неогендік су горизонтының су тіреуші болып
палеогендік саз табылады.
Төрттік дәуір және неогеннің су горизонттарының үлкен
минералдылығының арқасында сумен қамтамасыз етуге жарамсыздығына
байланысты, одан да тереңірек барлық горизонт ұсынылады. Ұңғының сүзгісі
120-тан 150 м-ге дейін қондырылуы қажет. Бұл жағдайда ұңғының дебиті 20
м төмендегенде 12 л/с құрайды.
Сумен жабдықтау жүйелері мен сұлбалары
Сумен жабдықтау жүйелері деген суды табиғи көздерден қабылдап,
оның сапасын жақсартып пайдаланатын жерлерге жеткізуге арналған
инженерлік ғимараттар мен шаралардың кешені (1-сурет) .
Елді мекенді немесе өнеркәсіп, кәсіпорынды орталықтандырылған
сумен жабдықтау жүйесі, жер бетіндегі немесе жерасты көздерінен суды
алып, оны тазалап және өңдеп тұтынушыларға уақытысында қажетті
мөлшермен жеткізуді қамтамасыз етуі керек. Осы мақсатпен сумен
жабдықтау жүйесіне су қабылдайтын ғимараттар, суды арынмен тазарту
ғимараттарға, жинағыш резервуарлар мен тұтынушыларға жеткізетін сорғы
станциялар, тазарту ғимараттар, сақтау мен реттеуге арнапған резервуарлар
мен арынды су мұнаралар, суды үлестіру мен тұтыну жеріне жеткізуге
арналған су өткізуші құбырлар мен үлестіруші тораптар кіреді.
Ал егер судың сапасы тиісті сапаны қамтамасыз ететін болса тазалау
ғимаратынсыз суды тұтынушыларға жіберуге болады. Егер жер бетінің суын
өзен, көл немесе теңіз суларын өндіріс орнына пайдаланатын болса онда
суды тек қана тордан сүзу арқылы қолдануға болады.
Су мұнарасының негізгі атқаратын міндеті ол суды сақтау және
құбырға қажетті арынды тудыру болып табылады. Құбыр бойына сорғы
арқылы пайда болған артық қысым кезінде су мұнараға түссе құбырдағы
қысым төмендегенде мұнарадан құбырға су жіберіледі. Кейбір жағдайда
үлкен өндіріс орындары үнемі көптеген суды қолданып тұратын кезде су
мұнарасын орналастыру қажет емес. Яғни су сорғының көмегімен үнемі
құбырға жеткізіліп тұрады.
Өнеркәсіп орындардың көбінде суды әр түрлі агрегаттарды
салқындату үшін қолданадады. Бұл жағдайда суды салқындатып қайта
пайдалану жүйесі қарастырылады.
Су құбыр жүйесі сыртқы және ішкі болып бөлінеді. Сыртқы су құбыр
жүйесіне суды қабылдау, суды тазалау және су құбыр жүйесіне бөлу
ғимараттары кірсе, ішкі су құбыр жүйесіне сыртқы су құбыр жүйесінен
құрылыстағы тұтынушыға жеткізуге дейінгі бөлік кіреді. Елді мекенді сумен
жабдықтау сұлбасын 1. 2 - суретте көре аласыздар.
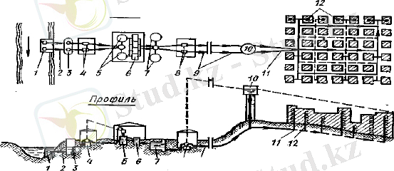
1. 2 - сурет. Елді мекенді сумен жабдықтау сұлбасы: 1 -баулық;
2- өз бетімен ағу құбыры; 3-жағалау құдығы; 4- бірінші көтеру сорғы
станциясы; 5 -тұндырғыш; 6- сүзгілер; 7- таза су сыйымдылығы;
8- екінші көтеру сорғы станциясы; 9- су өткізгіш құбыр; 10 -арынды мұнара;
11-магистралдық құбыр; 12-тарату құбырлары.
Өнеркәсіп кәсіпорындарды сумен жабдықтаудың тіке ағызу
схемасында (1. 3 - сурет) өзеннен су қабылдайтын ғимаратпен қосарланған
сорғыш станция суды тазарту ғимараттардан өткізіп өндіріс цехке апарады.
Өндірісте ластанған су тазарту ғимараттарда тазаланып өзенге қайта
құйылады.
1. 3 - сурет. Өнеркәсіп кәсіпорындарын сумен жабдықтау схемалары:
а - тіке ағызу; ә - қайталай (бір ізді) пайдалану; б - айнапма; 1 - өзен;
2 - су қабылдау ғимараты; 3 - су тазартқыш ғимараттары; 4 - 2-ші көтеру
сорғыш станция; 5 - су өткізгіш; 6 - өнеркәсіп кәсіпорны; 7 - пайдаланған
суды ағызатын құбыр; 8 - ластанған суды тазарту станциясы; 9 - өзенге суды
ағызу; 10 - суды салқындатқыш қондырғы; 11 - жинағыш резервуар; 12 -
айналмалы судың сорғыш станциясы
![]()
![]()
2. Технологиялық бөлім
2. 1 Су пайдаланушылардың құрамы және су қолданудың мөлшері
Шаруашылықтың орталығын сумен қамтамасыз етудің жобаланушы
объектілеріне тұрғын үйлер, мектеп, балалар бақшасы, аурухана және бас
жобаға сәйкес өндіріс аумақтары жатады.
Су пайдаланушылардыңдың құрамы мен санын бас жобаға сәйкес
қабылдаймыз.
Тұрғын ел аймағында су қолданудың мөлшерін ҚНжЕ 4. 01-02-2001
сәйкес қабылдаймыз. Орташа тәуліктік су шығыны Qорт. тәу (м3/тәу) төмендегі
формула бойынша анықталады:
Qорт. тәу = 0, 001 (q1N1 + q2N2 + . . . + qnNn),
(2. 1)
мұндағы q1, q2, …, qn - ҚНжЕ 4. 01-02-2001 бойынша қабылданатын
орташа тәуліктік су қолдану мөлшерлері;
N1, N2, …, Nn - су құбыры жұмысының есептелуші
уақытының соңындағы су қолданушылардың саны.
Секторлар бойынша су шығынының есебі 2. 1 - кестеде келтірілген.
2. 1 кесте - Шаруашылықтың су қолдануы
2. 1 кестенің жалғасы
Су қолдану режимі. Шаруашылықтағы су қолдану жыл бойына да,
тәулік бойына да бірқалыпты емес. Ең жоғарғы су шығынының есептеуші
мерзімдегі орташасына қатынасы бірқалыпсыздық коэффициенті деп
аталады. Елді мекендер үшін бірқалыпсыздық коэффициентін үйлердің
тұрмыстық жағдайын жақсартуға байланысты қабылдайды. Kmax. тәу = 1, 3÷1, 5
Kmin. тәу = 0, 7. сондықтан бұл жобалық тәуліктік максималды су шығындары
2. 2 кестеде келтірілген.
2. 2 кесте - Елді мекендерге арналған тәуліктік максималды су шығындары
2. 2 кестенің жалғасы
Су қолданушылардың ең жоғарғы су шығындарын анықтау. Ең
жоғарғы тәуліктік су шығындары төменгі формуламен анықталады:
Qmax. тәу = Kmax. тәу · Qорт. тәу,
(2. 2)
... жалғасы- Іс жүргізу
- Автоматтандыру, Техника
- Алғашқы әскери дайындық
- Астрономия
- Ауыл шаруашылығы
- Банк ісі
- Бизнесті бағалау
- Биология
- Бухгалтерлік іс
- Валеология
- Ветеринария
- География
- Геология, Геофизика, Геодезия
- Дін
- Ет, сүт, шарап өнімдері
- Жалпы тарих
- Жер кадастрі, Жылжымайтын мүлік
- Журналистика
- Информатика
- Кеден ісі
- Маркетинг
- Математика, Геометрия
- Медицина
- Мемлекеттік басқару
- Менеджмент
- Мұнай, Газ
- Мұрағат ісі
- Мәдениеттану
- ОБЖ (Основы безопасности жизнедеятельности)
- Педагогика
- Полиграфия
- Психология
- Салық
- Саясаттану
- Сақтандыру
- Сертификаттау, стандарттау
- Социология, Демография
- Спорт
- Статистика
- Тілтану, Филология
- Тарихи тұлғалар
- Тау-кен ісі
- Транспорт
- Туризм
- Физика
- Философия
- Халықаралық қатынастар
- Химия
- Экология, Қоршаған ортаны қорғау
- Экономика
- Экономикалық география
- Электротехника
- Қазақстан тарихы
- Қаржы
- Құрылыс
- Құқық, Криминалистика
- Әдебиет
- Өнер, музыка
- Өнеркәсіп, Өндіріс
Қазақ тілінде жазылған рефераттар, курстық жұмыстар, дипломдық жұмыстар бойынша біздің қор #1 болып табылады.

Ақпарат
Қосымша
Email: info@stud.kz