АЖЫРАМАЙТЫН ҚОСЫЛЫСТАР ЖӘНЕ ОЛАРДЫ ҚҰРАСТЫРУ


БҰРАНДАЛЫ ҚОСЫЛЫСТАР ЖӘНЕ ОЛАРДЫ ҚҰРАСТЫРУ
3. 1.
Бұрандалы қосылыстар - ең қарапайым жəне қосылыстардың жалпы санының 25% -ын құрайды, бұл олардың қарапайымдылығы мен сенімділігімен, қатайтатын күшті түзетудің ыңғайлылығымен, сондай- ақ бөлшектеу жəне кейінгі жинау мүмкіндігімен түсіндіріледі. Бұрандалы қосылыстың негізгі бөліктері жұмыс кезінде бұрандалы қосылыстардың өздігінен тесілуіне жол бермейтін бекіту жəне құлыптау құрылғылары.
Бекіткіштер - болттар, бұрандалар, штангалар жəне жаңғақтар, сондай-ақ құлыптауыштар мен қапсырмалар.
Бұрандама - бір жағынан гайкаға арналған бір жіппен жəне екінші жағынан басы бар металл таяқша. Бұрыштар салыстырмалы түрде аз қалыңдықтың бөлшектерімен, сондай-ақ жұмсақ металдардан (мыс, алюминий) немесе пластмассадан талап етілген жіп сенімділігін қамтамасыз етпейтін материалдардан жасалған бөлшектерден тұрады.
Бұрама - бұл металл өзекше, əдетте бір аяғында басы бар, ал екінші жағында жібі бар, ол біріктірілген бөліктердің біріне бекітіледі. Бұрандалар бірлескен бөлшектердің біреуі жеткілікті үлкен қалыңдығына ие болғанда немесе жаңғақтарға арналған орын жоқ болғанда жəне қажет болған жағдайда бұрандалы қосылыс массасын азайтқанда пайдаланылады.
Бұрандалы қосылысты құрастыру құралы астындағы бас түріне сəйкес жіктеледі [8, б. 158] жəне құйрық секциясының пішіні түрлері болады [8, б. 156] .
Түйреуіш - бұл екі шетінде жібі бар метал өзекшесі. Бір ұшын біріктірілетін бөліктердің біріне бұрап, ал екінші ұшын гайкамен бұраңыз. Біріктірілетін бөлшектердің материалы бұрандалы қосылымды жиі жинау жəне бөлшектеу арқылы қажетті жіптің беріктігін қамтамасыз етпейтін жағдайларда, бұрандалардың орнына штендер қолданылады.
Ұңғымның ұшының ұзындығы дене бөлігіне бекітіліп, бұраманың астында кесілген жіптің ұзындығы əртүрлі. Болат, қола, жезден жəне титан қорытпаларынан жасалған корпустың бөлшектеріндегі бұрандалы тесіктер үшін осы шұңқырға бұралған бұрандамаланған бөліктің ұзындығы оның диаметріне тең, ал сұр жəне шойыннан жасалған дене бөлшектеріне, ол штамптың номиналды диаметрі кемінде 1, 25 есе болуы керек. Жеңіл қорытпалардан жасалған дене бөліктері үшін бұл қатынас кем дегенде 2 болуы керек.
Сомын - бұл бұрандалы немесе штыруға арналған бұрандалы тесікпен біріктіріледі жəне осы бекітпелер арқылы байланыстарды біріктіруге қызмет етеді.
Байланыстың конструкциясына жəне оның мақсаттарына қарай сомынның əр түрлері қолданылады [8, с. 159-161] .
Бұрандалы қосылыстың құлыптаушы бөліктері - шайбалар мен сіргелер.
Шайбалар бұрандалы қосылыстардың өздігінен тесілуіне жол бермеу үшін пайдаланылады. Бұрандалы қосылыстың конструкциясына қарай, шайбалар анықтамалық кітапшаны пайдалана отырып таңдалады [8, б. 161, 162] .
Сірге - бір мезгілде болт тесіктеріне (құдықтарға) жəне жаңғақтарға салынған сымдардың бөліктері. Сіргелер мен құлыптауыштарды əдетте құлыптау құлыптары деп атайды. Буындарда қолданылатын ағындардың барлық түрлері тиісті сипаттамаларға сəйкес жіктелуі мүмкін (3. 1-сурет) . Бұрандалы қосылымдарға келесі техникалық талаптар қойылады:
- байланыс деректері бір-біріне жақсы реттелуі керек;
- бұрандалы бөлшектердің осьі біріктірілген бөлшектердің жазықтықтарына перпендикуляр болуы керек;
- барлық бұрандалардың, бұрамалармен түйреуіштердің көлденең қималары мен ұзындығы бірдей болуы керек;
- сомындар, бұрамалар мен бұрандалар бірдей биіктікте болуы керек;
![]()
3. 1. сурет. Бұрандалардың жіктемесі
- сомындар, бұрамалар мен бұрандалардың бастары қосылыстан бірдей мөлшерде шығуы керек;
- бұрандалар мен бұрамалардыңбастары қосылыстардан шығуға тиіс емес;
- жуғыштар тегіс болуы керек жəне бүгілмеуі керек;
- бұрандалар мен біліктердің бастары бұрылмауы керек, олардың беті мыжылып қалады;
- бұрандалардағы тесіктер мыжылып қалмауы керек;
- жіп жыртылмауы керек;
- шайғыштардың, жаңғақтардың, бұрандалар мен болттардың тегістеу беттері тегіс болуы керек.
Болттар (бұрандалы) қосылыстары және оларды жинау. Бекітілген қосылыстарды құрастыру процесі келесі қадамдарды қамтиды: жинауға арналған бөлшектерді беру;
- бұрандалы бөлшектерді жəне оларды алдын-ала орнату;
- құралдарды жеткізу жəне орнату;
- бұрандалы қосылысты қатайту;
- сіргені əйтпесе бұрап алмауға кедергі келтіретін шнурниктерді немесе басқа операцияларды орнату.
Бұрандаларды орнату үшін түйісетін бөліктердегі тесіктер таңбалау немесе өткізгіштің көмегімен бұрғыланады, жəне түйісетін бөлшектердегі тесіктердің осьтері сəйкес келуі керек.
Бір болтты қосылыстармен түйісетін бөліктердегі тесіктердің осьтері сəйкес келмейді, бірақ бұрандалы түйіннің диаметрі əрбір 10 мм үшін 0, 4 мм-ден көп емес.
Күрделі қосылыстар үшін бұл мəн болтты диаметрі 0, 15 аспауы керек. Ең жақсы тəсілі - осы қосылыстың екінші бөлігін өткізгіш ретінде пайдалану кезінде тесікті біріктірілген бөліктердің бірінде өңдеу.
Шпильдік қосылыстар және оларды жинау. Шпильдік қосылыстар бөліктердің біріне салынған кезде шприц винтовкаға қосылады, сосын қосалқы бөліктің екінші бөлігі оған қолданылады жəне сомынмен бұрап қосылады. Кесектің бұрандаға бекітілген кездегі крутка ішіне ішіне жіберіледі. Сақинаны оған бұрап қойған кезде сақинаның тұрақтылығын қамтамасыз ету үшін, штырманы бөлікке мықтап бұраңыз жəне соңына дейін, яғни шестиграның арасындағы бұралуын жəне бұранданың ішіндегі тығыздығын қамтамасыз етіңіз. Винтовкалар - операция өте күрделі жəне жеткілікті деңгейде күрделі. Бұл операция екі жолмен жүзеге асырылуы мүмкін:
- екі тік бұрағыштың бос ұшына бұралып, содан кейін білікті кілтпен аударып, білікті бұрандалы тесікке бұраңыз (бірақ сомын бұрау кезінде, бұрандалы тесік ішіндегі штыр ашады, бұл осы арқылы жасалған шнурдың қосылымының сенімділігін төмендетеді жол) ;
- шнурды бұранда арнайы құрал - соңында диаметрі аз, арнайы бұрандамасы бар сақинаның соңында тоқтауы жоғары, алты сомын болып табылатын солдат.
Көптеген сақиналарды орнату қажет болған жағдайларда бұл процесті пневматикалық немесе электр механикаландырылған құралы арқылы механизациялау ұсынылады (3. 2-сурет) . Шұңқырға 2 допты тигізетін етіп алмастыру сақинасын бұраңыз. Ілмекпен бұрау кезінде, 2- топ 2-топсандағы тоқтауға дейін көтеріледі жəне ол байланыста болған кезде сырғып кете бастайды. Бұл жағдайда тікбұраушы кері айналымға енгізілуі керек. 4 білік құралды қолмен механикаландырылған құралға жалғау үшін қызмет етеді.
3. 2. сурет. Тіктерді бұрау құралы:
1 - сомын; 2 - доп; 3 - тұрақты тыртық; 4 - артқы ілмек
Тіктерді бұрғылау қондырғысына арнайы патрон көмегімен бұрап алуға болады (3. 3-сурет), басы 4-дегі шашыратқыш 1 сепараторға орналастырылған арнайы роликтермен бекітіледі 3. Спираль ойықтардың төртбұрышы сағат тілімен бұрылыс болған кезде роликтерді ортаға қарай жылжытады, үш жағында бекітілген. Тікті 5-бөліктің бұрандалы тесікке бұрап қойғаннан кейін, машина өшіріледі жəне патронның басы сағат тіліне қарсы сағат тіліне қарсы бұрылады жəне сығу босатылады.
Тікті құрастырған кезде бұрандамаған тесікшеде сынған болса, оны бірнеше жолмен алып тастауға болады:
- тесіктерден шығып, кілтпен алып тастауға арналған шплин бөлігіндегі беттерді суретке түсіру;
- арнайы құралдың көмегімен - бор немесе экстрактор (3. 4 сурет), егер сынықтың сынған бөлігі бөліктің бетінен жоғары шықпаса;
- арнайы қондырғыда электрлік ұшқын бұрғылау;
- азот қышқылымен, егер дененің бөлігі жасалса алюминий немесе оның қорытпалары. сурет. Арнайы патрон:
1 - тік; 2 - роликтер; 3 - сепаратор; 4 - басы; 5 - бөлшек
Қолмен жəне механикаландырылған құралдар бұрандалы қосылыстарды құрастыру үшін қолданылады, негізгі қол құралдары кілт жəне бұрауыштар болып табылады [8, б 162-164] .
Көптеген жағдайларда бұрандалы қосылыстың сенімділігі мен беріктігі құрастыру кезінде дұрыс қатайтуға байланысты.
![]()
б. 164] .
- сурет. Сынған түктерді алу құралы: a - бор; б - экстрактор
Бұл жағдайда міндетті түрде реттелетін қатайтатын шамалар белгіленеді. Ең жиі талап етілетін күшейту күші орнатылған уақыт индикаторы бар арнайы бекітпелерді қолдану арқылы реттеледі. Кептеліп жатқанда, индикатордың кір жуғыш машинасының табақтары қалыпты тазалағышқа қарсы тұра береді жəне олардың арасындағы аралықты толтырады, бұл аралықты толтырған кезде күшейтілген күш береді. Алайда көбінесе бұрандалы қосылыстарды қатайтқан кезде реттелетін айналатын арнайы кілттер қолданылады [8,
Жиынтық буындарды монтаждаудың механикалық құралы негізінен пневматикалық немесе электр жетегі бар əр түрлі қоректендіргіштерді қамтиды. Осы құралдарды пайдалану еңбек өнімділігін 2-3 есеге арттыруға мүмкіндік береді. Ажыратылған қосылыстардың механикаландырылған қондырғыларын өтеу мерзімі 1, 5 жылдан аспайды.
Сомын бұрағыштар [8, с. 165] соққы импульстік қосылыстары импульстік əсер ету арқылы айнала берілуін қамтамасыз етеді. Осындай кілт кілтін қолданғанда, іс жүзінде ешқандай реактивті айналуы жоқ, бұл үлкен көлемді бұрандалы қосылымдарды құрастыру кезінде оларды пайдалануға мүмкіндік береді. Диаметрі 12 . . . 16 мм болатын бұрандалы қосылыстарды нығайту үшін электрлік жəне пневматикалық қоректендіргіштер қолданылады, олар электрмен салыстырғанда аз өлшемдер мен салмаққа ие.
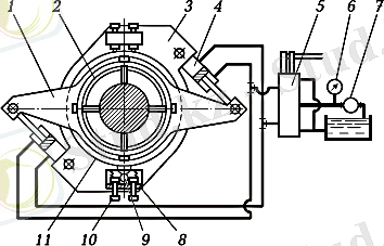
Ірі диаметрлі дөңгелек жаңғақтарды тығыздау үшін оған бекітілген екі цилиндрі бар жылжымалы торды 3 жəне бекітілген кросс-1-ден тұратын арнайы құрылғыны (сурет-3. 5) пайдалануға болады. Құрылғы бұрандалы жəне алдын-ала тартылған гайкаға 11 орнатылып, 8-ші аялдамалар торға 3 орнатылып, бұрандаға бағыттайды жəне 10 бұрандалармен бекітіледі. Сорғы станциясынан (7) 20 МПа қысымда май гидравликалық цилиндрлердің (4) шұңқырлы қуысына жеткізіледі,
бұл тордың айналуына əкеледі. Бұл жағдайда 8 осі 9 айналасында айналады, сақинаны 11 корпустың айналу бағытына қарама-қарсы бағытта бұрады. Тығыздау күші 6 қысымды өлшеуішпен реттеліп, тығыздаудан кейін поршенді штандар 5 клапан клапаны арқылы бастапқы орнына қайтарылады, ал 3 торы ашылып, 8 аялдамалары босатылады.
3. 5 сурет. Дөңгелек сомындарды нығайту құралы:
1 - көлденең өту; 2 - орталықтандырушы бұрандалар; 3 - құрсауы; 4 - гидравликалық цилиндр; 5 - бөліп таратқыш; 6 - манометр; 7 - сорғы станциясы; 8 - тіремелер; 9 -тіреу осі; 10 - бекітетін бұрандалар; 11 - тартылатын сомын
Машиналарды пайдалану кезінде өздігінен бас тартумен күресудің конструктивті шаралардың бірі бұрандалы қосылыстарды тоқтату болып табылады. Ең көп таралған тоқтату əдісі:
- Қосымша фрикциялық күштерді осьтік немесе радиалды қысыммен жасау (құлыпты гайкамен, бұрандамен, өзін-өзі құлыптайтын сомынмен) ;
- болтты жəне гайканы салыстырмалы түрдt бекітуді (бекітпе, серіппелі жəне деформацияланған шойын, сым) бекіту;
- Жергілікті пластикалық деформация (қысу, ) .
Сондай-ақ, анаэробты желімдер көмегімен бұрандалы қосылыстарды тоқтату жəне тығыздау əдістері кеңінен таралған. Ұнтақталған қосылысты құрастыру кезінде арнайы сұйықтықпен толтырылған миниатюралық капсула жыртылып, одан шығарылатын сұйықтық бұрандалы бөлшектерді (бөлме температурасында
адгезиялық түсімді полимерлеуді) қамтамасыз ететін бұрандаға айналады.
Мұндай қосылыстарды бөлшектеу əдеттегі əдістермен жүзеге асырылады жəне бірлескен мəліметтерді бұзуға əкелмейді. Бөлшектерді бөлшектегеннен кейін бұрандалы бөлшектерді қайта пайдалану мүмкін. Сонымен қатар, жабысқақ қосылыстардың коррозиядан қорғайды.
Ажыратылған қосылыстарды құлыптаудың ең көп таралған жолдары 3. 6-суретте көрсетілген, жəне 3. 7-суретте əртүрлі қосылыстардағы бұрандалы бөлшектерді қатайту тəртібі көрсетілген.
- сурет. Бұрандалы қосылыстарды құлыптау əдістері:
a - контрсомын; б - сірге; в - айналмалы машина; г - арнайы машина; д - полиамидтен жасалған сақина; e - нүктебелгілеу; ж - полиамидтен тазартқыш; з, и - сым
Бұрандалы қосылыстың арнайы түрі - өздігінен қалыптасқан бұрандалы қосылыстар. Бұл қосылыстар, ең алдымен болат парақ бөлшектерін дененің бөліктеріне біріктіруге арналған өзін өзі қалыптастыратын бұрандалармен қамтамасыз етіледі. Мұндай бекіткіштер бұрыштарды алдын-ала бұрғылаусыз пайдаланылуы мүмкін, бұл тесіктердің сəйкессіздігіне байланысты қателіктерді болдырмайды.
![]()
- сурет. Бұрандалы қосылыстарды тарту тəртібі (1 - 16 сандарымен белгіленген)
ҚҰБЫР ЖҮЙЕЛЕРІ ЖӘНЕ ОЛАРДЫ ҚҰРАСТЫРУБұл бұрандалар қалыңдығы 0, 8 . . . 1, 2 мм болатын болатты болатындай болады. Өздігінен пайда болатын бұрандалардың екі түрі бар: өзін-өзі басу жəне өздігінен тесуге арналған бұрандалар. Өздігінен бұрап тұратын бұрандалар жіңішке материалды алып тастау арқылы жіптерді кесіп шығарады (3. 8, a), олар сынғыш материалдардан бөліктерді қосуға арналған жəне екі түрден дайындалады: А (A) типті бірнеше (екіден артық) кесу жиектері, жиі екі, кесу жиектері. Материал қабатын алып тастамастан, пластиктен жасалған материалдардан бөлшектерді қосу үшін пайдаланылатын өздігінен қысылған бұрандалар (3. 8, б) . Олар сондай-ақ екі түрден тұрады: A түрі - алдын ала бұрғылау тесіктері жоқ B-бөліктерге қосылуға арналған - алдын ала бұрғылау тесіктері бар бөлшектерді қосу үшін.
Бұрандалы қосылыстарды бақылау олардың сенімділігі мен ұзақ мерзімділігін анықтау үшін жүзеге асырылады, олар көбінесе құрастыру кезіндегі бұрандалы қосылыстардың дұрыс қатаюымен анықталады. Сыни бұрандалы қосылыстарды монтаждаудың техникалық жағдайларында, бұрандалы қосылыстар бөлшектеріне жəне жіп диаметріне байланысты əдетте орнатылатын жаңғақтар мен бұрандаларды қатайтатын крутящий
сəттердің мəндері көрсетіледі. Бұрандалы қосылыстарды бақылау оларды жинаудың технологиялық процесінің маңызды бөлігі болып табылады. Іс жүзінде, тартқыш күшті басқарудың ең қолайлы жолы - шекті жəне кілт кілтін пайдалану.
3. 8. сурет. Өздігінен реттейтін бұрандалар: a - өздігінен тігу; б - өзін-өзі сығымдау
3. 2.
Құбыр жүйелері электр станцияларында (сумен жəне отынмен қамтамасыз ету үшін), станоктар мен басқа да технологиялық жабдықтарға (майды жағу нүктелері мен қысқыш қондырғыларға жəне өңдеу аймағына салқындатқыш сұйықтықты жеткізу үшін), баспасөз жабдығында (сұйықтықтарды жəне газдарды қуат цилиндрлері) .
Құбыр құбырдың бір-біріне жəне жабдықтың құрылымдық элементтеріне арнайы қосылыс элементтері, бекіткіштері жəне арматурасы арқылы қосылған құбырлардан тұрады.
Мақсатына байланысты жоғары, орта жəне төмен қысымды құбырлар ерекшеленеді. Құбырлардың барлық түрлері үшін жалпы талап - бұл ашылудың тазалығы, жалпы сіңімділігі, беріктігі жəне қызмет көрсетудің қарапайымдылығы.
Құбыр жүйесiнiң мақсатына байланысты шойын, болат, мыс, жез, алюминий жəне пластикалық құбырлар қолданылады. Болат құбырларының ең көп қолданылатын түрі. Өндіріс əдісіне байланысты бір бөлікті (жіксіз) жəне дəнекерленген құбырларды ажыратуға болады. Салқындату сұйықтығын беру үшін əдеттегі су құбырлары қолданылады. Ыстық суды жəне буды - жіксіз құбырларды тасымалдау үшін, гидравликалық жетекті жүйелерде жұмыс істейтін сұйықтықтар үшін - болат жіксіз құбырлар, майлау майларын жеткізу - мыс құбырлары. Құбыр желісінің қосылыстары бір бөліктен ажыратуға болады жəне бекітіледі (бірақ, кейбір жағдайларда құбыр бөліктерінің мобильді қосылымдары пайдаланылады) . Бекіткіш қосылыстарға арнайы қосылыс элементтері - фитингтер мен фланецтердің көмегімен жасалған жіптердегі қосылыстар (3. 9-сурет, а-ф) жəне бекітілген
қосылыстар дəнекерлеу, басу, майыстыру жəне үзу (3. 9-сурет, c-k) .
![]()
- сурет. Құбырлардың қосылыстары мен фланецтері:
a - шаршы; б - үшайыр; в - кросс-пішінді адаптер; г - өтпелі муфта; д , е - контрсомын; ж - футорка; з-к - фланецке, тиісінше, басу арқылы, шырайналдыру арқылы, жалтырату арқылы
Құбыр жүйелері құрастыру кезінде орындалған барлық операциялар сатып алу мен жинауға бөлінеді.
Кесу операциялары құрамында монтаждық қондырғыларда бөлшектерді таңбалау, кесу, тазалау, иілу, флангалау, жағу, дəнекерлеу жəне құрастыру, мөлшерін, пішіні мен сыртқы көрінісін, гидравликалық сынақтар мен таңбалауды бақылау мен бақылауды қамтиды. Ең күрделі операция - құбырлардың иілуі [4, б. 80-82], олар қолмен немесе механикалық құралдармен толтырғышпен немесе толтырылмастан шығарылады. Ең маңызды, иілу радиусы таңдау, өйткені ол құбырдың жұмысына айтарлықтай əсер етеді. Иілу радиусы құбырдың диаметріне жəне оның қабырғасының қалыңдығына байланысты таңдалады.
Монтаждау жұмыстары үшін монтаждау қондырғылары дайындалған формада жеткізіледі, яғни тиісті ұзындығы жəне құбырдың шетіндегі жіппен кесілген. Ақыр соңында құрастыруға келетін жалғастырушы элементтер, бекіту элементтері мен фитингтер құбырлы сым жүйесінде орнатуға арналған. Монтаждаған кезде, құбырларға қосылатын құбырлардың туралануын, сондай-ақ құбырлар мен фланецтердің ұштарының параллелизмін қамтамасыз ету қажет. Бұл жағдайлардың сақталмауы құбырдың істен шығуына əкелуі мүмкін жүктің пайда болу себебі болып табылады.
Құбыр жүйелері мақсаттарына байланысты оларды жинаудың технологиялық процестері əртүрлі.
Құбыр жүйелері арматураларға монтаждау. Жіптерді кесіп өтетін болат құбырлар біріктіріліп, арматураланған болат немесе шойыннан жасалған арматуралармен біріктіріледі. Монтаждау кезінде арматураны пайдалану құбырларды əртүрлі бұрыштармен байланыстырады, сымдардың іске асырылуын қамтамасыз етеді жəне бір құбыр диаметрінен екіншісіне өтуді қамтамасыз етеді. Арматуралар арқылы қосылыстың тығыздығы зығырдың немесе қарасора иірілген жіптің алдын-ала бөлінуімен қорғасын оксиді немесе мырыш ағартқышпен бірге жиналмас бұрын жиналатын бөлшектердің мыжылған бөлігін майлау арқылы жүзеге асырылады.
Құбырлардың сыртқы бетінде түтік кілттерімен ұстап тұру үшін тікелей байланыстырушы қосқыштар арқылы қосылған магистральдық құбырлар қысқа немесе ұзын жіптерге ие болуы мүмкін. Қысқа диаметрлі құбырларды құрастырғанда (3. 10, а) сурет құбырдың 2 соңында біріктіріледі, ол 2-ден 3-ке дейін қосылыстың ұзындығынан жартысынан аз айналады. Құрастыру кезінде қаптама саңылауы қосылым тығыздығы. Қысқа шұңқырларға арналған құбырлардың қосылыстары тек ажыратылмайтын құбырлар үшін пайдаланылады, өйткені мұндай қосылулар жинақталмайды.
Кəбіл жолдарындағы құбырларды монтаждау (3. 10-сурет, б) құбыр жүйесі жұмыс жағдайына сəйкес бөлшектелетін болса жүзеге асырылады. Бұл жағдайда құбырлардың біреуі қысқа жіп, екіншісі ұзын. Ұзын жіптері бар құбырдың бөлімі көлік құралы деп аталады. Бұл бөліктің ұзындығы муфтаны жəне гайканы орнатқаннан кейін кем дегенде екі ағыны бар жіптің секциясын таңдайтындай етіп таңдалады. Кіріктірілген жолдағы қосылыстар тек цилиндрлік жіппен құбырларды құрастырғанда қолданыла алады.
- сурет. Жіпке арналған құбырлы қосылыстар:
а - қысқа жіппен; б - жүгіруде; 1 - муфталар; 2 - құбыр; 3 - котнрсомын
Қысыммен жұмыс істейтін арматура, су, бу жəне кейбір басқа құбырларға 16 МПа-дан аспайтын қосылыстардың көмегімен орнатылады. Арматураларды пайдаланып құбырларды қосу үшін əртүрлі конструкциялардың құбырлы кілттері пайдаланылады (3. 11- сурет, a-д) .
- . сурет. Құбырларды құрастыру кілттері:
a - тұтқыш; б - реттелетін; в - арнайы; г - ілме; д - тізбегі
Фланецтерде құбыр жүйелерін құрастыру. Фланецтерде құбыр түйістерін монтаждау кезінде олар құбырға дəнекерлеу, бұрғылау, жағу немесе майысуы арқылы бекітіледі (3. 9 суретін қараңыз, c-k) . Бұл жағдайда фланецтердің соңғы беттерінің параллелизмін жəне құбырларды теңестіруді қамтамасыз ету қажет. Фланецтер арасындағы құрастыру кезінде қосылудың тығыздығын қамтамасыз ететін арқандар орнатылады. Фланецтер болттармен немесе ілмектермен біріктіріледі. Араластырғыштар фланецті формада орналасатын етіп кесіледі. Майлы материалдан жасалған тығыздағыштар мен тығыздағыш қоспа (зығыр май, ақ, арнайы тығыздағыштар - тығыздағыштар) бар екі жағынан жағыңыз. Қосылымдар жаңғақпен бекемделеді, ал фланецтердің соңғы бетінің параллелизмін бақылайды.
Түрлі құбырлар жобаларында тегіс тығыздағыш тығыздағыштар кеңінен қолданылады. Табақтардың мақсаттарына байланысты:
- біртекті материалдан (картон, қағаз, киіз, асбест, резеңке, паронит, қорғасын) жұмсақ серпімділік;
- жұмсақ серпімді қосылыс ( асбесті бар метал, асбест- резеңкеленген) ;
- Мастиктер
- Іс жүргізу
- Автоматтандыру, Техника
- Алғашқы әскери дайындық
- Астрономия
- Ауыл шаруашылығы
- Банк ісі
- Бизнесті бағалау
- Биология
- Бухгалтерлік іс
- Валеология
- Ветеринария
- География
- Геология, Геофизика, Геодезия
- Дін
- Ет, сүт, шарап өнімдері
- Жалпы тарих
- Жер кадастрі, Жылжымайтын мүлік
- Журналистика
- Информатика
- Кеден ісі
- Маркетинг
- Математика, Геометрия
- Медицина
- Мемлекеттік басқару
- Менеджмент
- Мұнай, Газ
- Мұрағат ісі
- Мәдениеттану
- ОБЖ (Основы безопасности жизнедеятельности)
- Педагогика
- Полиграфия
- Психология
- Салық
- Саясаттану
- Сақтандыру
- Сертификаттау, стандарттау
- Социология, Демография
- Спорт
- Статистика
- Тілтану, Филология
- Тарихи тұлғалар
- Тау-кен ісі
- Транспорт
- Туризм
- Физика
- Философия
- Халықаралық қатынастар
- Химия
- Экология, Қоршаған ортаны қорғау
- Экономика
- Экономикалық география
- Электротехника
- Қазақстан тарихы
- Қаржы
- Құрылыс
- Құқық, Криминалистика
- Әдебиет
- Өнер, музыка
- Өнеркәсіп, Өндіріс
Қазақ тілінде жазылған рефераттар, курстық жұмыстар, дипломдық жұмыстар бойынша біздің қор #1 болып табылады.

Ақпарат
Қосымша
Email: info@stud.kz