БҰРАНДА - СОМЫН БЕРІЛІСТЕР ЖӘНЕ ОЛАРДЫ ҚҰРАСТЫРУ


БҰРАНДА-СОМЫН БЕРІЛІСТЕР ЖӘНЕ ОЛАРДЫ ҚҰРАСТЫРУ
6. 1.
Бұранда-сомын берілісін қолдану және оның конструкциясы. Бұранда-сомын берілісі əртүрлі механизмдерде айналмалы қозғалысты ілгерімелі қозғалысқа түрлендіру үшін қолданылады. Жекелеген жағдайларда осы берілістерді күшті ұту мақсатында қолданады. Бұрандалы берілістер көптген артықшылықтарға ие. Олар аса қарапайым жəне сенімді конструкцияға ие бола тұра жоғары дəлдіктегі қозғалысы бар баяу ілгерімелі қозғалыстар алуға мүмакіндік береді. Сонымен қатар, үлкен көтеруші қабілет кезінде ықшамдылығымен ерекшеленеді.
Осы берілістердің кемшіліктеріне беріліс жұмысы кезінде туындайтын айтарлықтай үйкеліс күшіне негізделген төмен ПӘК болуы жатады.
Бұранда-сомын берілісінде трапециялық жəне тікбұрышты бұрандалар қолданылады. Жүк бұрандалары берік бұрандаға ие.
Бұрандалық жұптың тозуын төмендету мақсатында металл кескіш станоктардың жетек конструкциясында алмалы-салмалы сомындар қолданылады. Бұрандалық жұп қолданылмаған жағдайда, қажеттілігіне байланысты сомындар ағытылуыц мүмкін; осы жағдайда бұранданың айналуы кезінде сомын бұрандамамен байланыста болмайды, осылайша оның тозуын айтарлықтай төмендетеді. Бұрандалық жұп жұмыс жағдайында болмаған кезде бұранданы жетектен өшіру қарастырылады. Сонымен қатар, бұрандалық жұптың тозуын төмендету үшін сомындарды үйкеліске қарсы материалдардан (ОФ10-15 қола немесе ЦС6-6-3 цинк-қорғасын қоласы) жасайды, бұл жайт жұптағы үйкелу коэффициентін айтарлықтай төмендетуге септігін тигізеді. Осындай бұрандалық жұптарда ПӘК 0, 8 . . . 0, 85 құрайды.
Сырғу үйкелістері теңселме үйкелістеріне ауыстырылған бұрандалық жұптар кеңінен қолданылады. Осындай бұрандалық
жұптарда бұрандалық бет қызметін бұранда мен сомынның бетінде тесілген жырашықтарда орнатылған кішкентай шарлар атқарады. Кішкене шарлы бұрандалық жұптардың артықшылығы айтарлықтай жоғарғы ПӘК негізделген, олар қолайлы жұмыс жағдайында 0, 95 дейін жетуі мүмкін. Сонымен қатар, мұндай берілістер радиалды жəне осьтік саңылауларды болдырмауға немесе оларды айтарлықтай төмендетуге көмектеседі. Осының нəтижесінде теңселме берілісін пайдалану механизмнің атқарушы тораптарын орын ауыстыру дəлдігін арттыруға септігін тигізеді.
Соңғы уақыттарда бұранда-сомын гидростатикалық берілістері кең қолданысқа ие болды, олар бұрандалық беріліс жұмысын үйкеліссіз орындауды қаматамасыз етеді, нəтижесінде ПӘК 0, 99 дейін жоғарлату мүмкіндігі туындады. Мұндай берілістерде бұранда мен сомынныңбұрандалық беті арасындағы саңылауға арнайы сорғыдан қысым астында сай беріледі.
Бұрандалық берілістерге келесідей техникалық талаптар қойылады:
Қозғалмалы торапты беру жетегіне арналған бұранданың осьтері бағыттаушыға параллель орналасуы тиіс.
Мойынтіректегі айналу кезіндегі бұранда осьтері сомынның кез- келген жағдайында ығыспауы тиіс жəне соңғының осіне сəйкес келуі керек.
Сырғудың бұрандалық берілісі бар механизмді құрастыруға кірісуден бұрын беріліске жататын барлық бөлшектерді жуып, кептіру керек, «бояуға» бақылауын өткізіп, тірек беттерін үйлестіру керек, əрі бұранда бойынша сомынның қозғалу жеңілдігін тексеру керек. Бұрандалық механизмді құрастыруды іске асыру үшін келесі операцияларды орындау керек:
- Тіректерге бұрандаларды орнату.
- Сомынды құрастыру.
- Сомынды бұрандаға орнату.
- Құрастырылған механизмді реттеу.
- Құрастыру сапасын бақылау.
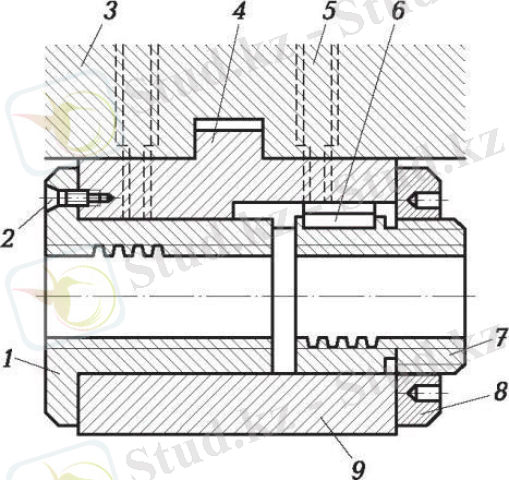
Бұрандалық механизмді құрастыру (6. 1 сурет) қозғалғыш бұранданы орнатудан басталады. Бұранданың сол жақ ұштары 4 төлке муфтасы көмегімен 2 беру қорабының конусты сұққышымен 3 білік соңымен 1 байланыстарады. Төлкені 13 бұранданың оң жақ ұштарының 4 қондыру мойыны бойынша реттеп, біліктің оң жақ тірегінің мойынтірегінің тіректі бөлігін оған сфералы сақина 12 жəне
радиалды тесігі бар тірек тығырық 11 кидіріп жинақтайды. Кейіннен қақпаққа 7 оған алдын-ала тесіктер бұрғылап, 5 жəне 6 сұққыштарды тығындап, жəне тірек таянышын 10 орнату кезінде сұққыш 6 оның сыртқы бетіндегі оймакілтекке кіретіндей болуы тиіс. Жинақтағы қақпақты 7мойынтірек корпусының бұрандасына бұрау кезінде сұққыш 5 тірек тығырығының 11 оймакілтегіне кіріп тұруы керек. Қозғалғыш бұранданы орнатқаннан кейін, қақпаққа 7 контрсомыны бар 9 реттегіш бұранда 8 орнатылады.
- сурет. Қозғалғыш бұранда (құрастыру бірлігі) :
1 - беру қорабы білігінің сағағы; 2 - муфта; 3, 5, 6 - сұққыштар; 4 - қоғалғыш бұранда; 7 - қақпақ; 8 - реттегіш бұранда; 9 - контрсомын; 10
- тіректі таяныш; 11 - тіректі тығырық; 12 - сфералық сақина; 13 - төлке
Қозғалғыш бұранда торабын құрастырған соң, қозғалғыш бұранданың сомынын құрастыруға кіріседі. Қозғалғыш бұранданың сомынын құрастыру (6. 2 сурет) қиюластыратын операциялардан басталады (сомын корпусының 9 тиегін 4 сырғақтың ойығына 3 қиюластырады) . Қиюластыру операциясын орындаған соң, қозғалғыш бұранда сомынының корпусына 9 сол жақ бетінен бұрандалармен 2 бекіте отырып, жартылай сомынды 1 тығыздайды. Қозғалғыш бұранда сомынының корпусына 9 оң жақ бетінен кілтекте 6 қозғалмалы бұрандалық жартылай сомындыорнатады, оны корпусқа 9 қиюластыру кезінде оны оңай жəне ауытқуысыз корпус тесігінің осі бойымен (жартылай сомынның7 осьтік қозғалысы - жартылай сомынның7 сыртқы бұрандасында орнатылған реттегіш сомын 8 көмегімен орындалады) ығыстыруға болатындай етіп орнатады. .
![]()
- сурет. Қозғалғыш бұранда сомыны (құрастыру бірлігі) :
1 - қозғалыссыз жартылай сомын; 2, 5 - бұрандалар; 3 - сырғақ; 4 - тиек; 6 - кілтек; 7 - қозғалмалы жартылай сомын; 8 - реттегіш сомын; 9 - қозғалғыш бұранданың сомын корпусы
Құрастырылған сомынды қозғалғыш бұрандаға орнатады, ол үшін бұранданы оң жақ мойынтіректі тіреуіштен босатып, оған құрастырылған сомынды бұрайды. Осылайша сомыны орнатылған бұранданы өз орнына монтаждау кезінде сомын корпусының 9 тиегі сырғақ ойығына 3 кіруін қамтамасыз етіп, бұрандалар 5 көмегімен қозғалғыш бұранда сомынын корпусқа бекітеді. (6. 2 суретті қараңыз) . Бұрандалық берілісті құрастыру сапасын реттеу және бақылау . Тұғырды бағыттайтын қозғалғыш бұранда осінің параллельдігін қамтамасыз ету үшін оларды түбегейлі орнатудан бұрын оң жақ (мойынтіректі) тірек жағдайын реттеу керек (6. 3 сурет) . Оң жақ (мойынтіректі) тіректі бұрандама қысқыш көмегімен тұғырға орнатады. Бағыттауыш тұғырға құрылғы 1 орнатып, құрылғының көпіршесінде 2 орнатылған индикаторлар 3 жəне 5 көмегімен тұғырларды бағыттайтын қозғалғыш бұранда осінің параллельдігін анықтайды. Өлшеулерді бұранданың оң жəне сол жақ соңындағы
көлденең жəне тік жазықтықтарында жүзеге асырады.
Дұрыс қондырылған бұранда осьтік қозғалусыз айналады, ол контрсомыны 9 бар бұрандамен 8 (6. 1 суретін қараңыз) реттеледі, ал оның осьтік күшпен толтырылған дөңбегі оң жəне сол айналу кезінде 0, 03 мм артық ығыспайды.
- сурет. Бұрандалық берілісті құрастыруды бақылау сызбасы:
1 - бақылау құрылғысы; 2 - көпірше; 3, 5 -
индикаторлар; 4 - қозғалғыш бұранда
Бұрандалық механизмдер бұранда-сомын үйлесіміндегі саңылаудың болуына байланысты бос жүріске ие, яғни бұранданы қандай да бір бұрышқа бұрау кезінде сомын қозғалыссыз қала береді, сəйкесінше онымен байланысты атқарушы механизмдер де қозғалысссыз болады. Әдетте механизмнің қалыпты жұмысы үшін минималды бос жүрісті қамтамасыз ету қажет болғандықтан, қозғалғыш бұранданың сомынында оны реттейтін құрылғылар қарастырылады. Бұрандалық берілістің қарастырылып отырған конструкциясында реттеу қозғалмалы жартылай сомында осьтік қозғалту есебінен іске асырылады. Осьтік қозғалу жартылай сомынның 7 сыртқы бұрандасында орнатылған реттегіш сомынның 8 айналуы кезінде жүзеге асырылады (6. 2 суретті қараңыз) .
Теңселістің бұранда-сомын берілісін құрастыру. Теңселістің бұранда-сомын берілісі(6. 4 сурет) аса жоғары осьтік қатаңдықты жəне механизмнің атқарушы бөліктерінің аса біртекті қозғалсын қамтамасыз етеді. Берілістің бұрандасы 10 жəне жартылай сомыны 4 арнайы бейінді бұрандаға ие. Қозғалғыш бұранда бұрамасының орамы мен жартылай сомын арасына кішкене шарлар 5 орнатылады, олар бұранданың айналымы кезінде жылжып, сомынды қозғалысқа келтіреді.
Бұраманың бір орамы шеңберіндекішкене шардың циркуляциялануын қамтамасыз ету үшін сомынның көршілес екі шұқырын ішпек түрінде орындалған арнайы арнамен байланыстырады.
Берілісті құрастыру бұранда мен жартылай сомын арасына кішкене шарларды енгізе отырып, бұрандаға 10 жартылай сомынды 4 орнатудан басталады. Кішкене шарлар ішпекті орнату үшін қарастырылған сомын терезесі арқылы енгізіледі.
- сурет. Теңселістің бұранда-сомын беріліс конструкциясы:
1 - тығыздау; 2, 7, 10 - бұрандалар; 3, 4 - жартылай сомындар; 5 - кішкене шарлар; 6 - сегмент; 8 - тісті сектор; 9 - қақпақ
Кішкене шарларды орнатқан соң, асқын өту арнасы бар ішпек орнатылады. Содан соң, бұранда бойымен жартылай сомынды 4 жылжыта отырып, оны корпусқа енгізеді жəне тығыздағышы 1 бар қақпақты орнатып, оны бұрандалармен 7 беітеді. Жартылай сомынды
- орнатқаннан кейін, корпусқа жартылай сомынды 3 жоғарыда көрсетілген жартылай сомынды орнату реттілігімен монтаждау жүзеге асырылады. Бұрандалық берілісте саңылауды реттеу сомын корпусына бұрандалар көмегімен бекітілген тісті сектор 8 жəне сегмент 6 көмегімен жүргізіледі. Қозғалмайтын жартылай сомынға 4 қатысты қозғалатын жартылай сомынды 3 орналастыруды реттеу қақпақ 9 пен тығыздағышты 1 жəне оларды корпуста бұрандалармен 2 бекіткеннен кейін орындалады.
6. 2.
Қосиінді-бұлғақты механизм конструкциясы және оны қолдану. Қосиінді-бұлғақты механизмайналмалы қозғалыстықайтымды-ілгерімелі қозғалысқа жəне керісінше түрлендіру үшін қолданылады. Бірінші типтегі қосиінді-бұлғақты механизм айтарлықтай сирек қолданылады, олар негізінен, компрессорлар мен поршеньді сорғыларда пайдаланылады. Екінші типті қосиінді-бұлғақты механизм іштен жану қозғалтқыштарында, булық машиналарда жəне басқа да типті машина қозғалтқыштарында кең қолданысқа ие. Қосиінді-бұлғақты механизмнің жұмысын қамтамасыз ететін негізгі бөлшектерге сермер, иінді білік (қосиін), бұлғақ, поршеньді сұққы, поршень, цилиндр, мойынтіректер (түбірлік жəне бұлғақты) жатады.
Сермердің негізгі қызметі иінді біліктің айналу бірқалыпсыздығын төмендету жəне өлі нүктесінен (шекті жоғаы жəне төменгі) поршеньдерді шығару болып табылады. Үлкен масса мен инерцияға ие бола тұра сермер қозғалтқышты іске қосуды жеңілдетіп, айналудың бір жиілігінен екіншісіне жатық түрде ауысуды қамтамасыз етеді.
Механизмнің бұлғағы иінді білікті (қосиін немесе қосиіндік диск) поршеньдік топпен байланыстырады.
Поршеньдік топтар иінді біліктен жəне бұлғақтан осьтік күштерді қабылдап, қысым қатысында (компрессорлар мен сорғылар) ауа, газ бен сұйықтықтарды сығады жəне береді немесе қозғалтқыштың
цилиндрінде (іштен жану қозғалтқыштары) жұмысшы қоспаның жануы кезінде бұлғақ пен иінді білікке күштер береді.
Тиімді жұмыс жағдайларын қамтамасыз ету үшін қосиінді- бұлғақты механизмкелесі техникалық талаптарды қанағаттандыруы тиіс:
- Цилиндр айнасы өңделгеннен кейін жоғары дəлдікке, дұрыс геометриялық пішінге ие болуы тиіс жəне беттік бұдырлығы Ra1, 2 мкм аспауы керек.
- Түйіндесулердегі саңылаулар құрастырылатын механизмге қатысты қарастырылған техникалық талаптарда көрсетілген мəндер аралығында орналасуы тиіс.
- Бұлғақтар мен түбірлі мойынтірек ішпектеріндегі тесіктер жəне иінді біліктің түбірлік жəне бұлғақты мойындары техникалық талапта көрсетілген мəндер аралығында дұрыс геометриялық пішінге жəне кіші беттік бұдырлыққа ие болуы тиіс.
- Көпцилиндрлі механизмдерде поршень массасы арасындағы айырмашылықтың болуы ±0, 5 % артық емес мəндерде рұқсат етіледі.
- Поршендік сақиналар цилиндрдің бетіне саңылаусыз жанасып тұруы керек, ал олардың серпімділігі - құрастырылатын механизмге қатысты қарастырылған техникалық талаптарда көрсетілген мəндер аралығында орналасуы тиіс.
Қосиінді-бұлғақты механизмекі құрастыру бірлігінен тұрады: өзара байланысқан жəне иінді білікпен (қосиінмен) байланысқан бұлғақты жəне поршеньді топтар.
Қосиінді-бұлғақты механизмді құрастырудың технологиялық процесі жекеленген 4 операциядан құралады:
- Иінді білікті орнату.
- Бұлғақты топты жинастыру.
- Поршеньді топты жинастыру.
- Механизмді жалпы жинастыру.
Иінді білікті орнату. Иінді білікті орнатуға кірісуден бұрын, корпустағы жəне картердегі түбірлік мойындар ішпегінің қондырмалы орындарын қырып, ішпектерді орнату керек. Содан соң, картер ішпектеріне иінді біліктер орнатылады, кейіннен алдын ала картер мен корпус арасына төсемелер орналастырып, соған корпусты орнату керек. Корпус пен картерді бұрандама арқылы байланыстырып, оларды тартып қояды. Картер мен корпусты бұрандама көмегімен байланыстырған соң, иінді білікті бұрады, содан кейін корпус пен иінді білікті босатып алады. Картер мен корпус ішпектерінің жағдайын бағалап, қажеттілігіне қарай шығыңқы бөліктерді қыруға болады.
Корпус пен иінді біліктерді орнату жəне босатып алуды иінді біліктердің мойынтірек ішпегіне жанасу дəлдігі орын алғанға дейін жалғастырады, ол түбірлік мойынтіректегі иінді біліктердің айналу жеңілдігі жəне жатықтығымен анықталады.
Бұлғақты топтың конструкциясы және оны құрастыру. Бұлғақты топты құрастыруды (6. 5 сурет) бұлғақтың жоғарғы басына 3 төлкені 2 тығыздаудан басталады, осындай жағдайда төлкеде орындалған майландыру бунағының 1 жəне майларды беруге арналған поршеньді сұққының бұлғақтың майлау тесігімен 5 сəйкес келуін қамтамассыз ету керек. Майландыру бунағы мен тесіктің сəйкес келуі бұлғақтың жоғарғы басы дөңбегімен бірге төлкені беттеу арқылы тығыздау кезінде қаматамасыз етіледі.
Бұлғақтың жоғарғы басына төлкені тығыздағаннан кейін жəне оның тесігінің өлшемдері мен геометриялық пішіндерін қалпына келтіргеннен кейін, сырғудың алмалы-салмалы мойынтірегі түріндегі бұлғақтың төменгі басын құрастыруға кірісіеді.
Бұлғақты топты құрастыру сапасын бақылау. Бұлғақтың төменгі басын құрастырудан кейін, олардың геометриялық өлшемдері мен пішіндерінің құрастыру жөніндегі техникалық талаптар нормасына сəйкестігін тексеру керек. Осы параметрлердің бақылауын микрометрлік іш өлшегіш көмегімен жүзеге асыру аса тиімді, ол өлшемдердің дəлдігін ғана анықтап қоймай, сонымен қатар, домалақтық пен цилиндрлікке қатысты бұлғақтың төменгі басы тесігінің қаншалықты ауытқығандығын да анықтайды. Содан соң, бұлғақтың жоғарғы жəне төмен осьтерінің параллельдігіне қатысты тексерулер жүргізіледі.
- сурет. Бұлғақ:
1 - майландыру бунағы; 2 -төлке; 3 - бұлғақтың жоғарғы басы; 4 - бұрандамалар; 5 - майлау тесігі; 6 - төсеме; 7 - сомындари;
8 - қақпақ; 9, 10 - ішпек
Түзусызықтылығын бақылау құрылғы көмегімен жүзеге асырылады (6. 6, а сурет), оның 6 орнатылып, оны бұрандамен 8 бекітеді. Бұлғақтың 6 жоғарғы басы 5 орнатылған сұққыға 4 призманы3орнату кезінде ондағы тығыздалған сұққыштар бақылау тақтасына 2 жанасуын қамтамасыз ету керек. Егер барлық үш сұққыштар тақтаға жанасатын болса, онда бұлғақ түзусызықты болып табылады. Тақта мен тіпті бір сұққыш арасында саңылаудың болуы бұлғақтың түзу сызықтан ауытқуын білдіреді. Бұлғақтың түзу сызықтан ауытқу шамасын анықтау үшін қуыс бұрғы қолданылады.
Бұлғақтың қос иілімін бақылауды құрылғы көмегімен жүзеге асырады (6. 6, б сурет), оның сұққысында 11 бұлғақтың төменгі басын орнату кезінде бұлғақтың төменгі басы дөңбегіне дейін алдын ала шектегішті 12 жылжытып бекітеді, жəне тереңдік өлшегіш 10 көмегімен бұлғақтың жоғары басының дөңбек бетінен бақылау тақтасына 9 дейінгі арақашықтық өлшенеді. Кейіннен бұлғақты 180° бұрып, қайта өлшеулер орындалады. Өлшеулер барысында алынған нəтижелер айырымы бойынша техникалық талаптарға бұлғақтың сəйкестігін анықтайды.
Бұлғақтың жоғарғы және төмен бастарының тесіктері осьтерінің параллельдігін бақыла у құрылғы көмегімен орындалады (6. 6 в сурет), оның сұққыларында 13 жəне 15 бұлғақ 14 орнатылады.
- сурет. Тексерулерді жүргізу арқылы бұлғақты құрастыруды бақылау:
а - түзусызықтығы; б - қосы иілімге қатысты ; в - тесік осьтерінің параллельдігі; 1 - қуыс бұрғы; 2, 9, 17 - тақталар; 3, 16 - призмалар; 4, 7, 11,
13, 15 - сұққылар; 5 - бұлғақтың жоғарғы басы; 6, 14 - бұлғақтар; 8 - бұранда; 10 - тереңдік өлшегіш; 12 - шектегіш
Содан кейін сұққыны 15 призмаға 16 орнату кезінде оған тығыздалған сұққыштар бақылау тақтасына 17жанасуын қамтамасыз ету керек. Егер тақта мен тіпті бір сұққыш арасында саңылау бар болса, бұлғақтың жоғарғы жəне төменгі басы тесігі осьтерінің параллельдіктен ауытқуын көрсетеді.
Сызаттардың болуын анықтау рентгендік жəне ультрадыбыстық əдістер көмегімен орындалады. Кейбір жағдайда сызаттардың болуы бұлғақты соққылап ұру арқылы (сызаттар болған жағдайда қатаң зыңылдаған дыбыс туындайды) анықталуы мүмкін.
Поршенді топтың конструкциясы және оны құрастыру. Поршеньді топ (6. 7 сурет) цилиндрден (суретте көрсетілмеген), поршеннен 4, поршеньді сұққыдан (суретте көрсетілмеген), бұлғақтың
- жоғарғы басы 2мен тығыздау бөлшектерімен поршеньді байланыстыратын поршеньді сұққыдан 3, тұрады. Поршеньді сұққыны осьтік ығысудан бекіту тоқтатқыш сақиналар 1 көмегімен жүзеге асырылады. Поршенбдер алюминий балқымасынан немесе шойыннан жасалады.
Поршеннің түзгіш беттерінде механизм конструкциясына байланысты 3-7 жырашықтар орындайды. Поршеннің жоғары жырашықтарында тығыздағыш, ал төменгі жырашықтарында - майды босататын сақиналар орнатылады, олар ұсақ дəнді шойыннан жасалады. Сақиналардың цилиндр қабырғаларына тығыз жанасып жатуы олардың серпімділік қасиеттері арқасында мүмкін болады.
Поршеньді сақиналар картерден майдың түсуінен жағу камерасын (компрессорлық камера) қорғауды қамтамасыз етеді жəне поршень мен цилиндр қабырғалары арасында газдың өтуіне кедергі жасайды
Поршеньді топтарға қойылатын талаптар тек поршеньді сақиналар мен олардың жырашық қабырғалары арасындағы саңылаулар дұрыс таңдалған жағдайда ғана орындалуы мүмкін. Осы саңылаулардың мəндері қозғалтқыш конструкциясына жəне оны пайдалану шарттарына тəуелді болады жəне құрастыру жөніндегі техникалық талаптарда немесе анықтамалық құжаттарда көрсетіледі [8, б. 224, 225] .
- сурет. Поршеньді топ:
1 - тоқтатқыш сақина; 2 - бұлғақтың жоғарғы басы; 3 - поршенбді сұққы; 4 - поршень; 5 - бұлғақ
Цилиндрлер мен поршендерді бір-біріне қатыстырып таңдайды. Таңдау тəсілі өндіру типіне тəуелді болады. Бірлік өндіріс жағдайында поршеннің цилиндрге жекелеп қиюластыру жүргізіледі. Сериялық өндіріс кезінде топтық (ішінара) өзара ауысымдылық əдісі қолданылып, поршеньдерді топтарға массасы жəне цилиндр өлшемдері бойынша сұрыптайды, ол көбінесе түбінде таңбалау арқылы көрсетіледі.
Поршень мен бұлғақты бірегей механизмге құрастыру. Поршеньмен бұлғақты байланыстыру поршеньдік сұққы көмегімен үш тəсіл арқылы іске асырылады:
- сұққыны поршеннің дөңесшесіне қозғалыссыз бекітеді, ал бұлғақ осы жағдайда сұққыға қатыстытербелмелі қозғалыстар жасауы мүмкін (6. 8, а сурет) ;
- сұққы бұлғақтың жоғарғы басына қозғалыссыз бекітіліп, осындай жағдайда поршень дөңесшесінде еркін айнала алады (6. 8, б сурет) ; сурет. Поршеньді сұққыны бұлғақпен байланыстыру нұсқасы:
а - поршень дөңесшесінде қозғалыссыз бекітілген; б - бұлғақ басында қозғалыссыз бекітілген; в, г - қондырмалы орындарға қатысты еркін айнала алады (жүзбелі сұққы)
- сұққы бұлғақтың жоғары басы жəне поршень дөңесшесінде қондыру орнына қатысты еркін айнала алады -жүзбелі сұққы деп аталады (6. 8, в, г сурет) .
Байланыстырудың қандай да бір түрін таңдау механизм конструкциясына жəне оның қолданылуына тəуелді болады. Соның өзінде де əлемдік тəжірибе бойынша құрастыру бірлігінде жүзбелі сұққыны қолдану тиімді екені дəлелденіп отыр.
Поршеньдік сақинаны поршен-бұлғақ байланыстарына орнату кезінде поршендік сақинаның осьтік ығысу мүмкін болмауын қамтамасыз ету керек. Осьтік ығысудың алдын алу əртүрлі əдістермен орындалуы мүмкін, алайда поршеннің дөңесшесінде орындалған арнайы жырашықтарда орнатылған серіппелі (тоқтатқыш) сақиналар кең қолданысқа ие.
Мұндай сақиналарды шаршылы немесе домалық қималы болат сымдардан немесе болатты табақтардан жасайды. Кез келген жағдайда тоқтатқыш сақиналар темиялық өңдеу - шынықтыруға ұшыратылуы тиіс.
Бұлғақты поршеньмен құрастыру сапасын бақылау. Қосиінді- бұлғақтық механизмді құрастыру кезіндегі орындалуға міндетті талаптар - поршеньдік сақина мен бұлғақтың төменгі басы осьтерінің параллель болуын қамтамасыз ету. Поршеньді бұлғақпен байланыстырудан кейін осы параметрді бақылау арнайы құрылғылар көмегімен орындалады.
Бірлік жəне азсериялы өндіріс жағдайында мұндай бақылау 6. 9 суретінде келтірілген құрылғы көмегімен орындалады. Бұлғақтың төменгі басын 2ажыратылмалы құралбілікке орнату кезінде поршеннің түзгіші бақылау тақтасына 1 жанасатындай етіп орнатып, поршень мен бақылау тақтасы арасына саңылаулар болмауын тексереді. Содан кейін құрастыру бірлігін тік ось бойымен 180° бұрып, поршень мен бақылау тақтасы арасында саңылаудың болмауын қайтадан тексереді. Екі жағдайда да саңылаудың болмауы бұлғақтың төменгі басы мен поршеньдік сақина осьтерінің параллельдігін сипаттайды, яғни торап сапалы түрде құрастырылды деген сөз.
Көпсериялы жəне жаппай өндіріс жағдайында осы мақсаттар үшін аса жетілдірілген құрылғы қолданылады (6. 10 сурет) . Бұлғақтың төменгі басын керме төлкеге 5 орнатады, оның жетегі пневматикалық цилиндрден 6 орындалады. Поршеньді қозғалатын 2 жəне қозғалмайтын 4 призмаларда орнатады (қозғалатын призма поршень бетіне серіппе 3 арқылы жанасады ) жəне бірмезгілде сығылған ауа бере отырып, керме төлкеде құрастыру бірлігінің ілінуін қамтамасыз етеді.
- сурет. Поршеньдік сақина жəне бұлғақтың төменгі басы осьтерінің параллельдігін бақылау құрылғысы:
- Іс жүргізу
- Автоматтандыру, Техника
- Алғашқы әскери дайындық
- Астрономия
- Ауыл шаруашылығы
- Банк ісі
- Бизнесті бағалау
- Биология
- Бухгалтерлік іс
- Валеология
- Ветеринария
- География
- Геология, Геофизика, Геодезия
- Дін
- Ет, сүт, шарап өнімдері
- Жалпы тарих
- Жер кадастрі, Жылжымайтын мүлік
- Журналистика
- Информатика
- Кеден ісі
- Маркетинг
- Математика, Геометрия
- Медицина
- Мемлекеттік басқару
- Менеджмент
- Мұнай, Газ
- Мұрағат ісі
- Мәдениеттану
- ОБЖ (Основы безопасности жизнедеятельности)
- Педагогика
- Полиграфия
- Психология
- Салық
- Саясаттану
- Сақтандыру
- Сертификаттау, стандарттау
- Социология, Демография
- Спорт
- Статистика
- Тілтану, Филология
- Тарихи тұлғалар
- Тау-кен ісі
- Транспорт
- Туризм
- Физика
- Философия
- Халықаралық қатынастар
- Химия
- Экология, Қоршаған ортаны қорғау
- Экономика
- Экономикалық география
- Электротехника
- Қазақстан тарихы
- Қаржы
- Құрылыс
- Құқық, Криминалистика
- Әдебиет
- Өнер, музыка
- Өнеркәсіп, Өндіріс
Қазақ тілінде жазылған рефераттар, курстық жұмыстар, дипломдық жұмыстар бойынша біздің қор #1 болып табылады.

Ақпарат
Қосымша
Email: info@stud.kz